BEGA 50144.2 Ceiling and Wall Luminaire

Product Information
- Product Description: Lichtstreuende Leuchtenabdeckung aus Kunststoff (Light-diffusing synthetic luminaire cover)
- Material: Aluminum with a matt surface finish
- Weight: 4.9 kg
- Power Supply: LED-Netzteil (LED power supply unit) 220-240 V x 0/50-60 Hz DC 176-276 V
- Control: DALI-controllable
- Insulation: Basic insulation is provided between the mains and control cables
- Thermal Regulation: Temporary thermal regulation to protect temperature-sensitive components without switching off the luminaire
- Energy Efficiency: Light sources are classified as energy efficiency class(es) D
Product Usage Instructions
- Ensure that the installation and operation of the luminaire comply with national safety regulations.
- Installation and commissioning should only be carried out by a qualified electrician.
- If mounting the luminaire onto a metallic, electroconductive surface, make sure to connect the mounting surface conductively to the earth conductor of the luminaire.
- For additional protection against overvoltage and transients, consider using separate overvoltage protection components. Visit www.bega.com for more information.
- In DC operation, the LED power is limited to 15%.
Please refer to the complete user manual for detailed instructions and further safety information.
Ceiling and wall luminaire for indoor use

Instructions for use
Application
Ceiling and wall luminaire · indoor luminaire made of impact resistant synthetic diffuser and aluminum housing.
Luminaire with free-radiating and uniform light distribution for linear illumination in interior.
Product description
- Luminaire made of aluminum, matt surface finish
- Light-diffusing synthetic luminaire cover 3 elongated fixing holes
- Width 6.5 mm
- Connection terminal 2.5@
- Earth conductor connection 2-pole connecting terminal for digital control
- LED power supply unit 220-240 V x 0/50-60 Hz
- DC 176-276 V
- During DC operation the LED power is reduced to 15 %
- DALI-controllable
- Basic insulation is provided between the mains and control cables
- BEGA Thermal Control®
- Temporary thermal regulation to protect temperature-sensitive components without switching off the luminaire
- Safety class
– Safety mark- CE – Conformity mark
- Weight: 4.9 kg
This product contains light sources of energy efficiency class(es) D
Safety
The installation and operation of this luminaire are subject to national safety regulations. Installation and commissioning may only be carried out by a qualified electrician.
The manufacturer accepts no liability for damage caused by improper use or installation. If subsequent modifications are made to the luminaire, the person responsible for these modifications shall be considered the manufacturer.
Overvoltage protection
The electronic components installed in the luminaire are protected against overvoltage in accordance with DIN EN 61547.
To achieve an additional protection against e. g. transients, etc. we recommend separate overvoltage protection components.
You can find them on our website at www.bega.com.
Lamp
- Module connected wattage 70.4 W
- Luminaire connected wattage 80 W
- Rated temperature ta = 25 °C
- Ambient temperature ta max = 40 °C
50 144.2 K3
- Module designation 8x LED-0694/930
- Color temperature 3000 K
- Color rendering index CRI > 90
- Module luminous flux 10960 lm
- Luminaire luminous flux 8981 lm
- Luminaire luminous efficiency 112,3 lm / W
Please note:
If the luminaire is to be mounted onto a metallic, electroconductive surface, it is mandatory to make sure that the mounting surface is connected conductive to the earth conductor of the luminaire!
Note:
If you a planning a linear arrangement of several luminaires, you must keep a minimum distance of 30 mm between the luminaire caps for installation reasons.
The synthetic cover of the luminaire body can expand by max. 7 mm when hot.
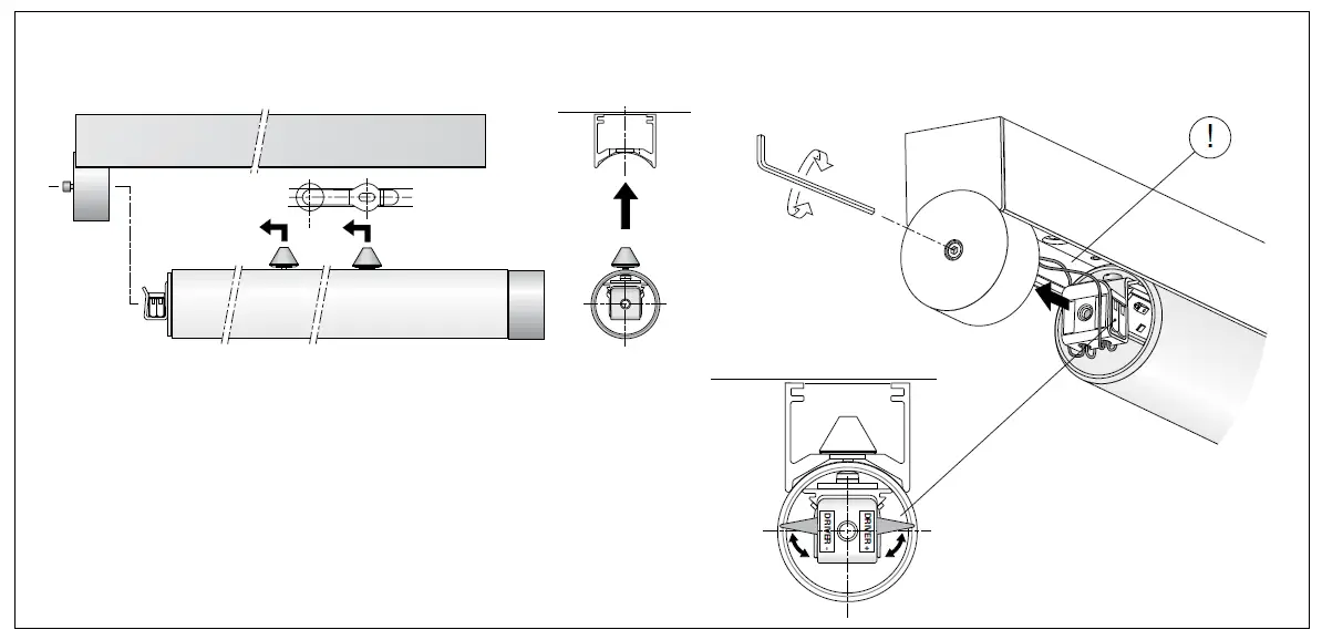
Installation
LED are high-quality electronic components! Please avoid touching the light output opening of the LED directly during installation or relamping.
Remove the luminaire from the packaging and put it down on a soft surface with the rear of the housing open.
Undo the hex socket screw on the side of the luminaire cap.
Push the luminaire body on the housing to the side until the luminaire body can be removed freely.
Make earth conductor connection.
Push silicone sleeves over the lines and make electrical connection to the terminals.
For digital control please use the connecting terminal DA, DA.
In case this terminal is not used the luminaire will be operated at full light output.
Fix the luminaire housing with enclosed or any other suitable fixing material onto the mounting surface.
For wall installation note the position of application “arrow down”..
Pick up the luminaire body and insert the retention bolt into the opening in the housing (keyhole).
Before you connect the LED, first swing up the two locking levers of the LED connection terminal.
Make the LED connection at the luminaire terminal – use long-nose pliers if necessary. Check that the poles are correct, black: “Driver -“, red: “Driver +”.
Close the locking levers of the LED connection terminal.
Push the luminaire body against the housing cap.
Make sure not to damage the connection wires when pushing in.
Tighten the hex socket screw on the side of the housing cap.
Replacing the LED module
The designation of the LED module is noted on a label in the luminaire.
The light color and light output of BEGA replacement modules correspond to those of the modules originally fitted. The module can be replaced by qualified persons using standard tools.
Disconnect the system. Undo the hex socket screw on the side of the luminaire cap. Push the luminaire body on the housing to the side and swing up the two locking levers of the LED connection terminal.
Disconnect LED connection at the luminaire terminal. Push the luminaire body on the housing to the side until the luminaire body can be removed freely.
Unscrew the retention bolts (hexagon socket SW 3). Loosen the Pin-Torx countersunk screw (T 20). Slide luminaire cover over the LED modules to the side.
Remove the LED module. Install the replacement LED module.
Please follow the installation instructions for the LED module.
Defective luminaire cover must be replaced. Reassemble the luminaire again in reverse order. Make sure not to damage the connection wires when pushing into the housing cap.
Cleaning · Maintenance
Clean luminaire regularly with solvent-free cleaning agents to remove dirt.
A defective synthetic cover must be replaced.
Spares
- Synthetic cover 15 000 478
- LED power supply unit DEV-0214/2100i
- LED module 3000 K LED-0694/930
BEGA Gantenbrink-Leuchten KG · Postfach 31 60 · 58689 Menden · [email protected] · www.bega.com














