BEGA 50449.1 Recessed Ceiling Lamp

Product Information
- Product Name: Luminaire
- Model Number: 50 449.1 K3
- Lamp Type: LED-0800/830
- Color Temperature: 3000 K
- Color Rendering Index (CRI): > 80
- Module Luminous Flux: 2850 lm
- Luminaire Luminous Flux: 2185 lm
- Luminaire Luminous Efficiency: 112.1 lm / W
- Connected Wattage (Module): 16.8 W
- Connected Wattage (Luminaire): 19.5 W
- Rated Temperature: 25°C
- Ambient Temperature: 30°C
Product Usage Instructions
- Safety:
- The installation and operation of this luminaire must comply with national safety regulations.
- Installation and commissioning should only be carried out by a qualified electrician.
- The manufacturer is not liable for any damage caused by improper use or installation.
- Any modifications to the luminaire should be done by a qualified person who will be considered the manufacturer.
- Overvoltage Protection:
- The electronic components in the luminaire are protected against overvoltage according to DIN EN 61547.
- To achieve additional protection against transients, it is recommended to use separate overvoltage protection components available on the manufacturer’s website.
- Installation:
- Prior to installation, additional filler is required for flush installation of the recessed housing in the suspended ceiling.
- Connect the luminaire to the LED power supply unit.
- Route the LED power supply unit through the installation housing and place it in the suspended ceiling.
- Connect the 2-pin plug connector between the luminaire and external LED power supply unit.
- Replacing the LED Module:
- The designation of the LED module is noted on a label in the luminaire.
- The light color and light output of BEGA replacement modules correspond to the original modules.
- The module can be replaced by qualified persons using standard tools.
- Disconnect the system and open the luminaire.
- Follow the installation instructions for the LED module.
- Close the luminaire after replacing the module.
Note: The power supply units are only suitable for the operation of one LED luminaire. Separate instructions for accessories are available upon request.
- Spares:
- The following spare parts are available for the luminaire: Zentrierplatte, Abschlussring, LED-Modul 3000 K, Reflektoreinheit.
Recessed ceiling downlight for indoor use

Instructions for use
Application
Recessed ceiling luminaire · indoor luminaire with symmetrical wide beam light distribution for connection to external LED power supply unit.
For flush-mounting installation in indoor suspended ceilings of 5-25mm thickness
Product description
- Recessed luminaire without power supply unit
- Luminaire housing made of cast aluminium
- The recessed housing is made of glass fibre reinforced synthetic material
- Centre-plate made of rigid polystyrene foam
- Reflector surface made of pure aluminium
- Optical silicone lens · BEGA Hybrid Optics®
- Ceiling trim ring made of metal, Colour white
- Safety glass
- Recessed opening ø 142mm
- Required installation depth 105mm 1 connecting cable with strain relief and plug connector system for BEGA power supply unit, on/off or DALI
- Safety class III 3
- CE – Conformity mark
- Weight: 0.8 kg
- This product contains light sources of energy efficiency class(es) D
Safety
The installation and operation of this luminaire are subject to national safety regulations. Installation and commissioning may only be carried out by a qualified electrician.
The manufacturer accepts no liability for damage caused by improper use or installation. If subsequent modifications are made to
the luminaire, the person responsible for these modifications shall be considered the manufacturer.
Overvoltage protection
The electronic components installed in the luminaire are protected against overvoltage in accordance with DIN EN 61547.
To achieve an additional protection against e. g. transients, etc. we recommend separate overvoltage protection components.
You can find them on our website at: www.bega.com.
Lighting technology
Half beam angle 61°
Lamp
- Module connected wattage 16.8 W
- Luminaire connected wattage 19.5 W
- Rated temperature ta=25 °C
- Ambient temperature ta max=30 °C
50 449.1K3
- Module designation LED-0800/830
- Colour temperature 3000 K
- Colour rendering index CRI > 80
- Module luminous flux 2850 lm
- Luminaire luminous flux 2185 lm
- Luminaire luminous efficiency 112,1 lm/W
Notice prior to installation: Additional filler is required for the flush installation of the recessed housing in the suspended ceiling.
Installation
Luminaire housing must not be installed in heat-insulating material.
A separate power supply unit is required to operate the luminaire.
For connection to external LED-power supply unit – accessory 13 145 or 13 171 – the luminaire is equipped with a 2-pin connector. Note operating instructions of the LED-power supply units.
LED are high-quality electronic components!Please avoid touching the light output opening of the LED directly during installation or relamping.
The recessed housing is fixed in the recessed opening by screwing it to the ceiling from below.
Installation in suspended ceilings:
A recessed opening of 142 mm with a minimum depth of 105 mm is required.
The lateral clearance between the recessed housing and parts of the building must be at least 50 mm.
Make the appropriate cutout in the suspended ceiling. The ceiling cutout must have an
all-round chamfer of 45°, depending on the thickness of the ceiling panel.

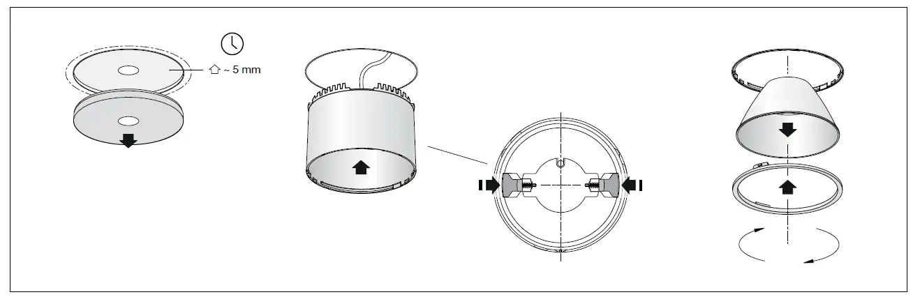
Remove the ceiling mounting plate by turning it upwards and out of the thread of the adjusting sleeve, move it through the ceiling cutout and place it on the suspended ceiling.
Secure the ceiling mounting plate with screws (Ø 3.5 to 4 mm) suitable for gypsum plasterboard panels from below through the suspended ceiling.
When doing so, hold the ceiling mounting plate through the ceiling cutout.

Place the enclosed centre-plate made of rigid polystyrene foam on a plain surface with the chamfer facing upwards.
Position the adjusting sleeve above the centre-plate and press it in so that it is flush with the surface – see drawing.
IMPORTANT:
Make sure to use this centre-plate in order to guarantee the correct installation of the luminaire in the ceiling!
Turn the adjusting sleeve into the thread of the previously fitted ceiling mounting plate until it is exactly flush with the ceiling.
Fill the 45° chamfer of the ceiling cutout with standard filler and smooth it so that it is flush. Allow the filler to set completely! Press the centre-plate about 5 mm upwards into the adjusting sleeve and then pull it down carefully to remove it from the adjusting sleeve.

Connect to the LED power supply unit.
Route the LED power supply unit through the installation housing and place it in the suspended ceiling.
Connect the 2-pin plug connector between luminaire and external LED power supply unit.
Press together the two internal fixing sliders inside the luminaire housing.
Push the luminaire housing to the end of the installation housing and then release the fixing sliders.
This mechanism ensures that the luminaire housing sits securely inside the installation housing.
Installation housing and external LED-power supply unit must not be installed in heat-insulating material.
Please use the protective gloves provided for the installation to prevent finger prints on the reflector.
Place the reflector with silicone lens on the ceiling trim ring. Twist the ceiling trim ring complete with the attached reflector to the right to fix the assembly inside the luminaire housing.
Cleaning · Maintenance
Clean luminaire regularly with solvent-free cleansers from dirt.
Replacing the LED module
The designation of the LED module is noted on a label in the luminaire.
The light colour and light output of BEGA replacement modules correspond to those
of the modules originally fitted. The module can be replaced by qualified persons using standard tools.
Disconnect the system and open the luminaire. Please follow the installation instructions for the LED module.
Close the luminaire.
Accessories
Power supply units for LED luminaires 220-240 V · 0/50-60 Hz with strain relief and plug connector system.
- 13 145 Power supply unit on/off
- 13 171 Power supply unit DALI
The power supply units are only suitable for the operation of one LED luminaire.
For the accessories a separate instructions for use can be provided upon request.
Spares
- pare glass 11 003 448 10M RG
- LED power supply unit DEV-0150/350
- LED module 2700 K LED-0800/927
- LED module 3000 K LED-0800/930
- Reflector 76 001 796
BEGA Gantenbrink-Leuchten KG · Postfach 31 60 · 58689 Menden · [email protected] · www.bega.com










