Sky230 Sky Slide with Water Connection
Instruction Manual![]()
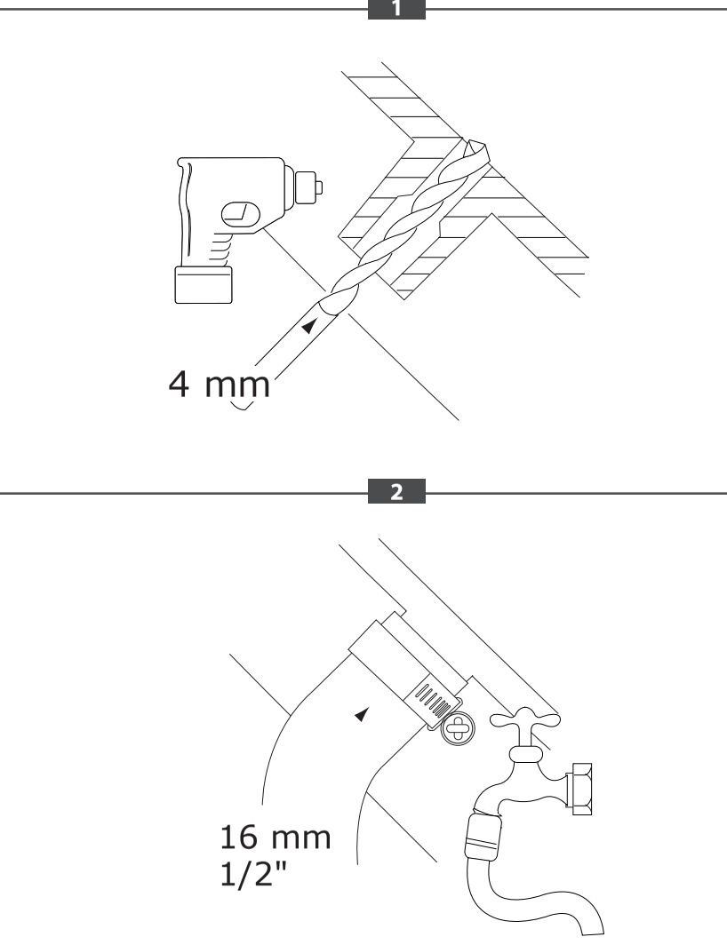
ASSEMBLY


Once the hole has been made through the slide the burr has to be removed. The slide area needs to be smooth and without any burrs. / The slide should not be mounted on lawns or in paddling pools if it is to be used as a waterslide. To avoid a slippery surface a rubber tile can be put at the bottom end of the slide. / An adult should take care that, if a jetways is used, the water will not wash out the run out area. /An adult should take care that the surplus of water will be removed.
INSTRUCTIONS FOR USE

1.Please keep this instruction sheet safely for future reference. /2.Inappropriate use or faulty application of the product is explicitly forbidden and absolves the manufacturer of all liability. /3.The Assembly must be done by an adult. The use of the item is only allowed under continuous supervision by an adult. The product is meant for persons weighing up to 70 kg. WARNING! Not meant for children younger than 3 years of age, due to a lack of extra safety precautions – risk of falling. /4.All elements of the item should be inspected regularly for eventual wear. /5.This product meets to all security aspects of the European standard EN71. “WARNING! For family domestic use only.” Both indoors and outdoors. /6.The product must be installed onto a play frame that is suitable for this activity (eg a wooden play tower). The assembly must be carried out in such a way that head, fingered clothing entrapments are excluded. In order to prevent clothing entrapments during gliding, there should be no openings around the platform between 3 mm and 25 mm. Pay special attention to the boards of the platform onto which the slide is mounted. /7.When mounting or asset-bling the product attention should be given to minimum required distance between the product and eventual obstacles : walls, fencing,… The distance should be min. 2000 mm. /8.In this safety area no hard, angular or pointed objects should be present. The surface underneath the product should be flat and shock absorbing, so no asphalt, concrete or any other hard surface. /9.The product must be mounted onto a suitable platform (see point 6) and only in accordance with the recommended platform height with a tolerance of approximately 5 cm (see notes at the rear of the slide). The assembly must be done with 5 mm or 6 mm countersunk screws (screws not included). The ground level surface must be sufficiently stable to avoid subsidence and to ensure that the slide does not get damaged. /10. It is strongly advised not to lift the slide from the bottom after it has been fixed to the platform. This will damage and break the slide. /11.To avoid the heating up of the product, do not orient the sliding surface towards the sun. /12.Sliding can cause a small electro-static charge. This can be avoided by not wearing synthetic fabric clothing and/or by regularly cleaning the surface of the slide with water and soap.
![]()

PRAGMA BRANDS
AXI
Premium brand with high quality wooden playhouses, play sets, swings, furniture, pet houses and sports games.
STEP2
US based market leader in highest quality rotomolded plastic toys including sand/water tables, playhouses, furniture and creative play.
BACKYARD DISCOVERY
US based market leader in high quality wooden playhouses, play sets, sheds and garden accessories.
SUNNY
Mainstream indoor and outdoor toys such as teepee tents, easels, kitchens and sand pits.
COUGAR
Table games for indoor fun with football tables, air hockey tables, pool tables and multi-purpose tables.
SAFETY SAM
He is known as Safety Sam, Victor Veiling, Benin Brims and Simon Sicker. This brand is specifically directed towards the safety of children playing outside using localized names for more local awareness.
A Pragma Brand
AXI is one of our brands with awesome products
of great quality, that offers hours of active fun!
Pragma / Cougar Kruisboog 40
3905 TG Veenendaal
Netherlands
T: +31 (0)318 – 57 88 00
[email protected]
www.pragma-trading.com
















