HESSAIRE H12E1 Ductless Mini Split Air Conditioner and Heat Pump Instruction Manual

Getting Started
Included
- Indoor Unit (Air Circulator)
- Outdoor Unit
- Remote Controller & Wall Holder
- Line Sets—Piping W/Insulated Wrap (2)
- Communication Cable—Indoor To Outdoor Unit
- Wiring Cable—Connection box to outdoor unit
- Drain Tubing Extension
- Indoor Unit Wall Mount Bracket
- Outdoor Unit Vibration Foot Pads (4)
- Thermal Tape
- Through Hole Edge Cover
- Drain Port For Outdoor Unit
- Manual
Suggested Tools
- Safety Glasses

- Work Gloves

- Adjustable Wrenches

- Screwdriver—Both Philips & Flathead

- Allen Wrench Set—Standard

- Torque Wrench

- Drill & Drill Bits, 3” Hole Saw

- R410A Adapter

- Vacuum Pump

- Clamp On Amp Meter

- Level

- Pipe Cutter

- R410A Flaring Tool

- Micron Gauge

General Safety Precautions
Read Before Installation. Incorrect installation may cause serious damage or injury.
![]()
Risk of electrical shock can cause injury or death. Disconnect all remote electric power supplies before servicing and installing.
The appliance shall be installed in accordance with the local electrical safety regulations and National Electrical Codes (NEC).
Unit must be properly grounded during installation to avoid electrical shock.
Power supply to the outdoor unit must be an independent, dedicated, grounded circuit. Insufficient electrical capacity can cause electrical shock or fire.
Ensure proper gauge of wire is used based on rated current.
Do not modify length of power supply cord or use and extension cord with the unit.
If the supply cord is damaged, it must be replaced by the manufacturer, a service agent, or similarly qualified persons in order to avoid a hazard.
![]()
Do not install the unit near combustible materials or in a location exposed to combustible gases.
It is recommended that the length of the copper lines between the indoor unit and outdoor unit is less than 7.5 meters (24.6 ft). The efficiencies of the air conditioner will be negatively impacted if the length of the lines exceeds that distance.
It is recommended that adults operate this appliance. Children should be supervised when operating or learning to use this appliance.
Install drain tubing according to instructions in this manual. Improper drainage can damage your property.
It is not recommended to install air conditioner in damp locations such as laundry rooms or bathrooms as too much exposure to water may cause electrical components to short circuit.
When charging refrigerant into system, make sure to charge in liquid state if the refrigerant of the appliance is R410A. Otherwise, the chemical composition of refrigerant (R410A) may change and adversely affect the performance of the air conditioner.
The temperature of the refrigerant circuit will be high. Please keep the interconnection cable away from the copper tube.
Use only factory provided or approved parts and accessories during installation and/or repair.
Install unit in a location that is secure and will support the weight of the unit.
Dimensions
| Model Number | Indoor Unit Wt. | Outdoor Unit Wt. | Indoor Unit Width (W) | Indoor Unit Height (H) | Indoor Unit Depth (D) | Outdoor Unit Width (W) | Outdoor Unit Height (H) | Outdoor Unit Depth (D) |
| H12E1 | 21.0 lbs | 78.0 lbs | 33.5” | 11.0” | 8.50” | 32.0” | 23.0” | 11.0” |
| H12HP1A | 20.0 lbs | 65.0 lbs | 32.0” | 11.0” | 8.50” | 28.0” | 19.0” | 10.0” |
| H12HP2A | 20.0 lbs | 65.0 lbs | 32.0” | 11.0” | 8.50” | 28.0” | 19.0” | 10.0” |
| H18E2 | 32.0 lbs | 99.0 lbs | 44.5” | 12.5” | 9.50” | 34.0” | 26.0” | 12.5” |
| H18HP2A | 28.0 lbs | 86.0 lbs | 36.0” | 12.5” | 9.50” | 32.0” | 24.0” | 11.5” |
| H24HP2A | 33.0 lbs | 110.0 lbs | 43.0” | 12.5” | 9.50” | 37.0” | 26.5” | 12.5” |
Indoor Unit Installation
Select Location
When selecting location for indoor unit, it is recommended that:
- it allows for maximum air circulation
- it has a convenient drainage location
- the area doesn’t cause noise issues for other people
- it is on a strong enough structure(wall) to support it’s weight
- it is at least 3ft from all other electrical devices(computer, TV, radio, etc.)
- it is located where piping and wall hole can easily be arranged – avoiding wall studs when drilling 3” hole
- you adhere to minimum clearances shown below
Be sure to avoid installing near:
- sources of heat, steam or combustible gases
- flammable materials such as curtains
- obstacles that would potentially block air circulation
- areas in direct sunlight
- doorways

Attach Mounting Plate To Wall
Attaching The Mounting Plate:
Remove mounting plate—located on back side of indoor unit.
Determine location for mounting plate according to desired indoor unit placement and according to location recommendations on previous page—Fig. 4.1.
Locate plate so it catches at least one wall stud for sturdy mounting. Note: heavy duty screw anchors are recommended when attaching plate to sheet rock only, block, brick, etc.
Ensure mounting plate is horizontal and level.
Mark the center of indoor unit on mounting plate for future reference. Note: the center of the mounting bracket may not be the center of the indoor unit.
Use a minimum of 6 evenly spaced mounting screws to properly support the weight of the indoor unit. (mounting screws and anchors not included)
Securely tighten all screws and ensure plate is tight to wall.

Notes:
The shape of your mounting plate may differ from the illustration above but the installation steps remain the same.
Ensure top of mounting plate is level before anchoring to wall.
Refer to Fig. 4.2 below for mounting plate clearances.
Indoor Unit And Mounting Plate Clearances:

Drill Through-Hole In Outdoor Wall
When drilling wall hole, be sure to avoid electrical wires, plumbing and wall studs.
Drilling Hole Through Wall To Exterior:
It is necessary to drill a 3” hole in the wall to pass refrigerant piping, drain tube and signal cable through wall to exterior.
Determine the location of the 3” hole based on the location of the mounting plate. Refer to Fig. 4.3 on this page for accurate hole location based on unit size. Note: Bottom of 3” hole should not drop below bottom edge of wall mount bracket. Dropping the hole lower than the bottom edge will result in the indoor unit not completely covering the hole. (If rerouting the exit position of the refrigerant piping, drain tube and signal cable differently from pre-set factory orientation, ensure 3” wall hole is covered by unit where possible).

Using a 3” hole saw, drill hole from interior wall through to exterior of building. Drill hole at slight downward angle towards the outside. See Fig. 4.3b on this page. Note: If installing through concrete or brick, special drill & drill bits will be required.

Connect Signal Cable To Indoor Unit
Refer to Safety Precaution page prior to connecting any wiring.
Connecting signal cable to indoor unit:
The signal cable enables communication between the indoor unit and outdoor unit. It provides power to the
indoor unit. This cable is provided with your unit. Cable ends are prepared for quick connections.
Lift up front access panel of indoor unit—Fig. 4.4— to expose wiring cover & terminal block on right hand side.

Note: Wiring diagram is also located under the cover near the terminal block.
Feed signal cable through back side of indoor unit through to front side by terminal block.
Using a screwdriver, remove wire cover from terminal block.
Using wiring diagram in Fig. 4.4b, make connections accordingly to the indoor unit terminal block. Note: Be sure to follow the diagram for the exact voltage your unit is rated for.

Once connections are secure, replace wire cover and secure cable using the built in cable clamp.
Mount Indoor Unit To Wall
Mounting indoor unit to wall:
Typical (recommended) piping orientation for attaching the indoor unit to the wall is with the refrigerant piping protruding straight out from the back of the indoor unit—position A of Fig. 4.5 below. If piping has to be positioned in any of the other orientations (positions B, C, D), the knockouts on either end of the unit will be utilized and additional lengths of refrigerant, drain tubing or signal cable wire may be needed.

Position indoor unit on it’s face—providing access to back side of unit. Locate refrigerant piping stubs along bottom of unit and gently bend straight up and back as shown in position 3 below. Be careful not to “kink” piping while bending.
Locate drain tube stub and signal cable. Run drain tube and signal cable along underside of piping. Secure together with vinyl tape (included).
Unit is now ready to be attached to wall bracket and have piping stubs, drain tube and signal cable inserted through hole in wall to outside.
Note: Refrigerant piping can exit the indoor unit from 4 different positions as shown in Fig. 4.5 below. Factory preset(and most common position used) is position A. If it is necessary to have piping exit unit in any position other than A, additional refrigerant piping and fittings may be needed and the drain tubing may need to be moved to the opposite side. Be sure to relocate and install the drain plug to prevent water damage.
Hold indoor unit up to wall and gently guide piping, cable and drain tubing through hole in wall. At the same time tilt the unit slightly to hook the top of the unit on the tab hooks on the top edge of the wall mounting bracket until unit is self supported on the tabs. See Fig. 4.5b below.

Using even pressure, push the bottom front of the indoor unit towards the wall. Push evenly unit the unit “snaps” onto the hooks along the bottom edge of the mounting plate. Note: The entire unit should be secured in place and there should be no uneven gaps between the indoor unit and wall. Ensure unit is securely held in place. There is some adjustment right or left to slightly move the unit if needed to line piping up with 3” hole in wall
Connect Refrigerant Piping
Connecting Refrigerant Piping To Refrigerant Pipe Stubs From Indoor Unit:
From the exterior of the house, gently bend pipe/drain/cable stub downward toward the outdoor unit location. Note: Support piping while bending to prevent kinks. Keep piping stub as close to exterior wall as possible. Once piping/drain/cable stub is bent downward, line sets are ready to be connected. See Fig. 4.6.

Remove cap nuts from ends of refrigerant piping on stubs coming through wall. Note: Indoor unit piping line is filled with nitrogen for factory leak test. Upon removing cap nut, there will be a brief “hissing” sound. This is normal and the sound will quit in a few seconds. This is not refrigerant escaping.
Gently uncoil line set (2 pipes) and connect the flare nut from the line set end to the piping stub from the indoor unit and hand tighten. Do this for both lines. Fig. 4.6b. Note: Only uncoil enough line set piping to reach the ground behind the outdoor unit. Excess piping will remain on ground behind outdoor unit.

Using two wrenches, securely tighten the fittings on both lines—Fig. 4.6b. Refer to chart below in Fig. 4.6c for proper torque values to prevent under or over tightening. Note: Overtightening may deform or damage copper lines
Model Number | Pipe Size | Torque | Nut Width | Min. Thickness |
| H12E1, H12HP1A, H12HP2A (1 Ton) | Liquid Side: 1/4” | 11-15 ft/lbs | .625” | .02” |
| H18E2, H18HP2A (1.5 Ton) | Liquid Side: 1/4” | 11-15 ft/lbs | .625” | .02” |
| H24HP2A (2 Ton) | Liquid Side: 3/8” | 22-26 ft/lbs | .875” | .024” |
| H12E1, H12HP1A, H12HP2A (1 Ton) | Gas Side: 3/8” | 22-26 ft/lbs | .875” | .024” |
| H18E2, H18HP2A (1.5 Ton) | Gas Side: 1/2” | 37-41 ft/lbs | .94” | .024” |
| H24HP2A (2 Ton) | Gas Side: 5/8” | 44-48 ft/lbs | 1.1” | .024” |
Connect Drain Tubing Extension
Connect drain tubing extension piece to the drain stub from the interior unit. Drain tubing should run straight downward along side the refrigerant piping and communication cable. Fig. 4.6
Outdoor Unit Installation
Select Location
Selecting Outdoor Unit Location:
Before installing the outdoor unit, it is important to chose an appropriate location. When choosing the location, the outdoor unit placement should be:
- In an area that meets all clearance requirements as shown in Fig. 5.1 below.

- In a location that corresponds with desired indoor unit placement
- In area with good air circulation and ventilation
- Firm and solid to properly support the unit and prevent vibration
- Located where noise will not disturb others
- Protected from long periods of direct sunlight, rain, flooding.
Do not install in locations that are near:
- Obstacles that will block air intake or discharge
- Public streets, crowded areas, or where noise will disturb others
- Animals or plants that may be harmed by hot or cold air discharge
- Sources of combustible gases
- Areas that are exposed to large amounts of dust or high winds
Install Pad/Anchor Unit
Once ideal location is decided on, place pad on ground. Note: It is important that pad is level and is on a solid surface that won’t sink.
After pad is firmly in place and level, anchor outdoor unit firmly to pad by fastening screws through the foot tabs as shown in Fig. 5.1. Note: It is advised to use the included rubber foot pads to lessen vibration
Connect Signal Cables
Connecting Signal Cable:
Remove cable/wire junction box cover. See Fig. 5.3.

Locate the signal cable ends. The signal cable from the indoor unit will run down the side of the exterior along with the piping and drain tube.
Run the signal cable through the right side cable wire access hole – Fig. 5.3. Connect signal cable ends to the terminal block on the right hand side of the junction box. Note: Be sure to follow connection diagram shown below in Fig. 5.3b. Be careful to follow correct voltage diagram.
Fig. 5.3b: Communication Cable Connections

Connect Power Wires
Connecting Power Wire:
- Power connection box must be installed by qualified person(s) and it is recommended this power connection step be performed by qualified person(s).
- All wiring must be done in accordance with the wiring diagram located on the inside of the junction box cover and local and national codes
Power connection box should be located within 6ft of outdoor unit.
Run outdoor rated power cable from connection box to outdoor unit. Run wire through left hand wire access hole.
Note: SJ power cable is provided with your unit. Check local codes to ensure the proper cable is used.
Ensure connections are secure.

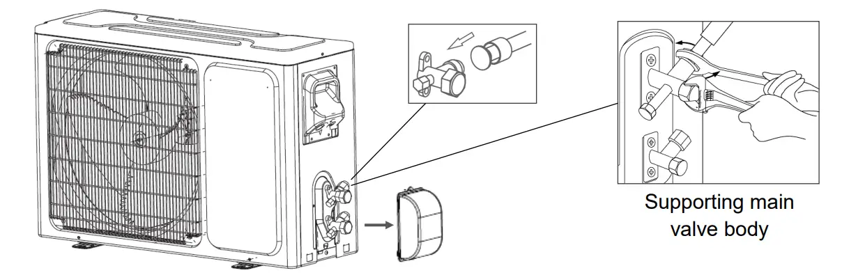
Connect Refrigerant Piping To Outdoor Unit
Connecting Refrigerant Piping To Outdoor Unit:
Remove valve cover from outdoor unit for access to valves. Fig. 5.5.
Uncoil just enough insulated line set to reach the valves.
Hand tighten both lines to the corresponding valves. Note: One refrigerant pipe line is smaller than the other so it can only be installed one way.
Support the main valve body with a second wrench prior to tightening each flare nut with a wrench to the specified torque. Torque values shown in Fig. 4.6c, page 9.
While firmly gripping the body part of the valve, use a torque wrench to tighten the flare nuts to specified torque.

Outdoor Unit Installation
Vacuum Testing
Precautions: It is recommended that a qualified installer perform this step of vacuum testing.
Air and foreign matter in the refrigerant lines may cause abnormal spikes in pressure which could result in damage to the air conditioner, reduce it’s efficiencies and possibly cause injury.
Ensure all piping and electrical connections are correct.
Release air and moisture from the refrigerant circuit using a vacuum pump with manifold gauge as shown below.
Fig. 6.0. Note: During initial testing and opening of valves, a “hissing” sound will occur for a few seconds. This is normal as it is releasing the nitrogen that is in the lines. It will quit after a few seconds. If a “hissing” air release sound continues, you will need to check for improperly torqued flared piping connections.

How to Vacuum Air Tubes:
- Unscrew and remove caps from 2 and 3 way valves.
- Unscrew and remove cap from service port valve.
- Connect vacuum pump flexible hose to the service valve.
- Start vacuum pump for 10-15 minutes until reaching a vacuum of 10 mm Hg absolutes.
- With vacuum pump still running, close the low pressure knob on vacuum pump manifold. Stop the vacuum pump.
- Open 2-way valve, 1/4 turn, then close it after 10 seconds. Check tightness of all joints using liquid soap or an electronic leak detector.
- Turn 2 and 3-way valve stems to fully close the valves. Disconnect the flexible vacuum pump hose.
- Replace and tighten all valve caps.
Electrical & Gas Safety Checks
Electrical Check Prior To Start Up:
Confirm all electrical wiring is done in accordance with all national and local codes, and also according to wiring diagrams in this manual and those located on the units.
Before test run, check for grounding resistance using a resistance tester. Grounding resistance must be less than 4 Ω.
During test run, use a multimeter to perform and electrical leakage test. If electrical leakage is detected, turn off unit, disconnect all power going to unit and immediately call an electrician to resolve the cause of the leakage.
Gas Leak Check Prior To Start Up:
Using a soft brush, apply soapy water to all pipe connection points. The presence of bubbles will alert you to a leak.
Installation Wrap Up:
Wrap line set, communication wire from indoor unit and drain tubing together using provided vinyl tape. Ensure electrical box access covers and valve access covers are in place. Proceed to general start up checklist and procedures.
Operation
Start Up
Before Test Run:
Confirm electrical system is safe and operating properly.
Make sure unit is properly grounded.
Make sure electrical and valve access covers are securely in place.
Check all gas connections and confirm there are no leaks.
Confirm both valves are fully open.
Test Run Instructions:
- Connect power to unit.
- Allow a minute for unit to turn on when starting for the very first time.
- Press on/off button on remote controller to turn indoor unit on.
(Note: There will be an initial delay for a few moments when turning on for the first time.) - Select the mode button and select both heating and cooling functions to confirm all functions work.
- Check all louver and fan speed functions.
- Ensure water drains from outside drain tube in cooling mode.
For questions pertaining to detailed remote control functions, WiFi set up or maintenance & troubleshooting, refer to User Manual, Remote Control Manual or WiFi set up instructions sheet.
This information and more is also available online at www.hessaire.com.































