
Item #1000 041 1190 1000 041 120 1004 120 345
Model #HDS30 HDS50 HDS750
USE AND CARE GUIDE
SUMP PUMP 
HDS30 1-3 HP Cast Iron Sump Pump
THANK YOU
We appreciate the trust and confidence you have placed in Everbilt through the purchase of this sump pump. We strive to continually create quality products designed to enhance your home. Visit us online to see our full line of products available for your home improvement needs. Thank you for choosing Everbilt!
EASY STEP-BY-STEP 3D INSTRUCTIONS
Download the Free Interactive App
![]()
https://sj83t.app.goo.gl/mobileapp
Safety Information
PRECAUTIONS
- Read instructions carefully before attempting to install, operate, or service this pump. Know the pump application, limitations, and potential hazards. Protect yourself and others by observing all safety information. Failure to comply with instructions could result in personal injury and/or property damage! Retain instructions for future reference.
- Do not attempt to restrict the intake side of these pumps. Restricting the intake may cause damage to the seal and may starve the pump. If you require reduced flow rates, then place a valve on the discharge side of the pump. If flexible vinyl tubing is used, a clamp can be used on the tubing to restrict the flow.
- Do not let the unit run dry (without liquid). It is designed to be cooled by pumping fluid. You may damage the seal and the motor may fail if the pump is allowed to run dry.
- If the unit is going to be idle for a period of time, follow the cleaning instructions outlined in the Care and Cleaning section. Do not let the unit freeze in the wintertime. This may cause cracking or distortion that may destroy the unit
DANGER: Keep pump equipment out of the reach of children! Failure to follow the directions given could cause serious risks to individuals or objects.
WARNING: Warnings indicate to the operator that the failure to follow instructions may damage the pump and/or the system.
WARNING: Before installing or servicing this pump, be certain the power source is disconnected.
WARNING: Do not use to pump flammable or explosive fluids such as gasoline, fuel oil, kerosene, etc. Do not use in explosive atmospheres or hazardous locations as classified by NEC, ANSI/NFPAT. Use the pump with liquids compatible with the pump component materials.
WARNING: Do not handle the pump with wet hands or when standing on a wet or damp surface or in water.
WARNING: Do not pull the pump out of the water by the power cord when the pump is operating or connected to a power source.
WARNING: This pump is supplied with a grounding conductor and/or grounding-type attachment plug. To reduce the risk of electrical shock, be certain that it is connected to a properly grounded grounding-type receptacle.
WARNING: The National Electric Code requires a ground fault circuit interrupter (GFCI) to be installed in the branch circuit supplying fountain equipment, pools, etc.
WARNING: In any installation where property damage and/or personal injury might result from an inoperative or leaking pump due to power outages, discharge line blockage, or any other reason, a backup system(s) and/or alarm should be used.
Safety Information (continued)
WARNING: Support the pump and piping when assembling and when installed. Failure to do so may cause • the piping to break, pump to fail, motor bearing failures, etc.
WARNING: This pump’s motor housing is filled with dielectric oil for motor heat transfer and lifetime lubrication of the bearings. This oil is non-toxic to aquatic life. However, suffocation can occur if oil is left on the water’s surface. If oil escapes the motor housing it can be removed from the surface quickly by placing newspapers on the water surface to soak up the oil.
WARNING: The pump motor is equipped with an automatic resetting thermal protector and may restart unexpectedly. Protector tripping is an indication of motor overloading as a result of excessively high or low voltage, inadequate wiring, incorrect motor connections, or a defective motor or pump.
ELECTRICAL SAFETY
WARNING: Check the pump label for the proper voltage required. Do not connect to a voltage other than that shown.
WARNING: If the pump is supplied with a 3-prong electrical plug, the third prong is to ground the pump to prevent a possible electrical shock hazard. DO NOT REMOVE the third prong from the plug. A separate branch circuit is recommended. Do not use an extension cord. Do not cut the plug from the cord. If the plug is cut or the cord is shortened, then this action will void the warranty.
WARNING: If the cord is equipped with stripped lead wires. such as on 230v models, be sure that the lead wires are connected to a power source correctly. The (green/yellow) wire is the ground. The (blue or white) and (brown or black) are live.
WARNING: Check local electrical and budding codes before installation. The installation must be in accordance with their regulations as well as the most recent National Electrical Code (NEC).
WARNING: To conform to the National Electrical Code all pumps must be wired with 14 AWG or larger wire. For runs to 250 ft., 14 AWG wire is sufficient. For longer runs consult a qualified electrician or the factory.
WARNING: The pump should be connected or wired to its own circuit with no other outlets or equipment in the circuit line. Fuses and circuit breakers should be of ample capacity in the electrical circuit
WARNING: The flexible PVC jacketed cord assembly mounted to the pump must not be modified in any way, with the exception of shortening the cord to fit into a control panel. Any splice between the pump and the control panel must be made within a junction box and mounted outside of the basin and comply with the National Electrical Code.
Warranty
The manufacturer warrants this product to be free of defects in material and workmanship for a period of three (3) years from the date of original retail purchase WHEN installed in a domestic water systems application and pumping potable water only. This warranty does not cover applications pumping saltwater or other corrosive liquids. Consult and adhere to local codes for all applications. The manufacturer’s obligation with regard to equipment not of its own manufacture is limited to the warranty extended to the manufacturer by its suppliers.
This warranty extends only to the original retail purchaser and only during the time in which the original retail purchaser occupies the site where the product was originally installed.
Requests for service under this warranty shall be made by contacting The Home Depot as soon as possible after the discovery of any alleged defect. The manufacturer will subsequently take corrective action as promptly as reasonably possible.
Warranty (continued)
The manufacturer at its discretion may replace or repair any product that fails under this warranty after inspection by an authorized company representative or after the manufacturer has received the product at our factory. Replacement or repair cannot be made until after the product is inspected. All charges or expenses for freight to and from the factory, removal, and reinstallation of the product, or installation of a replacement product are the responsibility of the purchaser.
THIS WARRANTY SUPERSEDES ANY WARRANTY NOT DATED OR BEARING AN EARLIER DATE. ANY IMPLIED WARRANTIES WHICH THE PURCHASER MAY HAVE, INCLUDING MERCHANTABILITY AND FITNESS FOR A PARTICULAR PURPOSE, SHALL NOT EXTEND BEYOND THE APPLICABLE WARRANTY PERIOD.
Some states do not allow limitations on how long an implied warranty lasts, so the above limitation may not apply to you. IN NO EVENT SHALL THE MANUFACTURER BE LIABLE FOR INCIDENTAL OR CONSEQUENTIAL DAMAGES. Some states do not allow the exclusion or limitation of incidental or consequential damages, so the above may not apply to you. This warranty does not apply to any product which has been subjected to negligence, alteration, accident, abuse, misuse, improper installation, vandalism, civil disturbances, or acts of God. The only warranties authorized by the manufacturer are those set forth herein. The manufacturer does not authorize other persons to extend any warranties with respect to its products, nor will the manufacturer assume liability for any unauthorized warranties made in connection with the sale of its products. THIS WARRANTY GIVES YOU SPECIFIC LEGAL RIGHTS, AND YOU MAY ALSO HAVE OTHER RIGHTS WHICH MAY VARY FROM STATE TO STATE. Contact the Customer Service Team at 1-844-883-1872 or visit www.HomeDepot.com.
Pre-Installation
BEFORE FIRST USE
Carefully examine the pump and all parts to ensure no parts are damaged. If any part of the pump appears to be damaged, do not use this pump and contact the Customer Service Team at 1-844-883-1872.
INTENDED USE
This is a submersible sump pump for use in basins or lift stations and suitable for pumping liquids with up to 1/2 in. (5/8 in. for HDS75) spherical solids.
INSTALLATION REQUIREMENTS
This pump is provided with an on/off float switch for automatic operation. Refer to the Installation instructions included with switches and controllers for installation. Care should be taken to prevent the pump from running in a dry sump. The pump must be installed in a suitable gas-tight basin which is a minimum of 14 in. in diameter and a minimum of 22 in. deep and vented in accordance with local plumbing codes. The pump must be placed on a hard-level surface. Never place the pump directly on clay, earth, or gravel surfaces. The pump can be installed with ABS, PVC, polyethylene, or galvanized steel pipe. Proper adapters are required to connect plastic pipes to the pump. Always install a union in the discharge line, just above the sump pit, to allow for easy removal of the pump for cleaning or repair. A check valve must be used in the discharge line to prevent the backflow of liquid into the basin. The check valve should be a free flow valve that will easily pass solids.
CAUTION:
For best performance of check valves when handling solids, install them in a horizontal position or at an angle of not more than 45°. Do not install a check valve in a vertical position as solids may settle in the valve and prevent opening during start-up.
This pump uses an air evacuation method called a “weep hole”. The weep hole allows air to escape the pump casting to prevent air lock. When the water is pumped down to a low level, some water may stream out of the weep hole. This is a normal operation.
A gate valve should follow the check valve to allow periodic cleaning of the check valve or removal of the pump. The remainder of the discharge line should be as short as possible with a minimum of turns to minimize friction head loss. Do not restrict the discharge to sizes below 1-1/2 in.. Sewage and effluent applications will require a separate sump vent. A connection is provided on top of the sump or cover which must be piped to the existing building vent or extended outside with its own standpipe.
Pre-Installation ( continued)

PERFORMANCE CHART
| SKU | HP | Volt | Amps | GPM of Water © Total Feet of Lift | Max. Lift | |||||
| Oft. | 5 ft. | 10 ft. | 15 ft. | 20 ft. | 25 ft. | |||||
| 1000041119 | 1/3 | 115V | 6.5A | 59 | 51 | 44 | 31 | 17 | 0 | 24 ft. |
| 1000041120 | 1/2 | 115V | 8.5A | 85 | 74 | 63 | 47 | 31 | 9 | 26 ft. |
| 1004120345 | 3/4 | 115V | 9.0 A | 100 | 90 | 80 | 60 | 35 | — | 28 ft. |
MATERIALS REQUIRED (NOT INCLUDED)
Before using this pump, ensure you have the following items:

Installation
Connecting a discharge pipe to the pump
- Wrap the threads of the 1-1/2 in. discharge pipe (1) with thread sealant tape.
- Attach the discharge pipe (1) to the discharge of the pump (2).

Placing the pump in a basin
Place the pump on a hard surface inside a sump basin.

Connecting the check valve
- Connect the discharge pipe (1) to the elbow (2), union (3), check valve (4), and gate valve (5).

Operation
Connecting power and test I pump operation
NOTE: When these pumps are installed in a basin with a sealed cover, switch operation cannot be observed. The sump cover usually will have a spare that is plugged with a rubber plug. This plug can be removed and switch operation can be observed.
- Plug the pump power cord plug into a 115V GFCI power outlet.
- Run water into the pump until the pump starts. Ensure the gate valve in the discharge line is open.
- Allow the pump to operate through several on/off cycles.

Operating the pump
- When the float switch (1) moves up over the top of the pump, the pump begins to operate. When the water lowers to a certain level, the float switch (1) will turn the pump off.
- This pump uses an air evacuation method called a “weep hole”. The weep hole allows air to escape the pump castin to prevent air lock. When the water is pumped down to a low level, some water may stream out of the weep hole. This is a normal operation.
NOTE: Ensure the pump is submerged in water. Running the pump dry can damage the pump.

Care and Cleaning
WARNING: Ensure the pump is disconnected from the power source before attempting to service or remove any component.
WARNING: Do not remove the impeller. Removal of the impeller requires special tools and can only be performed by an authorized service center.
To clear a pump that is clogged with debris:
- Unplug the pump to disconnect the electrical power.
- Unscrew the six screws (1) on the pump body and take the rubber belt (4) down from the volute (2).
- Remove the volute (2).
- Remove debris from around the impeller (3).
- Reassemble the pump.

ADDITIONAL MAINTENANCE GUIDELINES
- This unit is permanently lubricated. Oiling is not required. Do not, in any case, open the sealed portion of the unit or remove the housing screws.
- Periodic cleaning of the pump parts will prolong the LIFE and EFFICIENCY of the pump. Refer to the assembly and disassembly of the pumping head.
- Ensure the power cord is in good condition and contains no nicks or cuts.
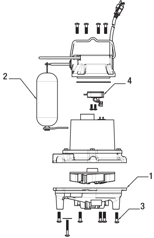
Service Parts
| Number | Description | Part Number | Quantity |
| 1 | Volute-HDS30 | HDS3001 | 1 |
| Volute-HDS50 | HDS5001 | 1 | |
| Volute-HDS75 | HDS7501 | 1 | |
| 2 | Float with a rubber belt | HDS3002 | 1 |
| Float with rubber belt-HDS75 | HDS7502 | 1 | |
| 3 | Screws-HDS30 | HDS3003 | 1set |
| Screws-HDS50 | HDS5003 | 1set | |
| Screws-HDS75 | HDS7503 | 1set | |
| 4 | Switch Assembly w/gasket | HDSAS504 | 1 |

Troubleshooting
WARNING: Before servicing a pump, always shut off the main power breaker and then unplug the pump. Under flooded conditions, make sure you are not standing in water and that you are wearing insulated protective sole shoes. Contact your local electric company or a qualified licensed electrician for disconnecting electrical service prior to pump removal.
| Problem | Probable Cause | Solution |
| The pump does not turn on. | The pump is not plugged in. | Plug in the pump. |
| The circuit breaker is off or a fuse is missing. | Turn on the circuit breaker or replace the fuse. | |
| There is debris on the float. | Clean the float. | |
| The float has an obstruction. | Check the float path and provide clearance. | |
| The switch is defective. | Has the pump been serviced by an authorized service center? | |
| The motor is defective. | Has the pump been serviced by an authorized service center? | |
| The pump will not shut off. | There is a float or float rod obstruction. | Check the float and float rod path and provide clearance. |
| The pump is air locked. | Shut the power off for approximately 1 minute and restart. Repeat several times to clear air from the pump. | |
| The liquid inflow matches the pump capacity. | A larger pump is required. | |
| The switch is defective. | Has the pump been serviced by an authorized service center? | |
| The pump runs but does not discharge liquid. | The check valve is installed backward. | Check the flow indicating arrow on the check valve body to ensure it is properly installed. |
| The check valve is stuck or plugged. | Remove the check valve and inspect for proper operation. | |
| The lift is too high for the pump. | Check the rating table. | |
| The inlet to the impeller is plugged. | Pull the pump and clean. | |
| The pump is air locked. | Shut the power off for approximately 1 minute and restart. Repeat several times to clear air from the pump. | |
| The pump does not deliver the rated capacity. | The lift is too high for the pump. | Check the rated pump performance. |
| The voltage is low and the speed is slow. | Check for proper supply voltage to ensure it corresponds to the voltage on the nameplate. | |
| The impeller or discharge pipe is clogged. | Pull the pump and clean. Check the pipe for scale or corrosion. | |
| The impeller is worn as a result of abrasives. | Replace the worn impeller. | |
| The pump continually cycles. | There is no check valve in the long discharge pipe allowing liquid to drain back into the sump. | Install a check valve in the discharge line. |
| The check valve is leaking. | Inspect the check valve for correct operation. | |
| The basin is too small for inflow. | Install a larger basin. |
Questions, problems, missing parts? Before returning to the store, call Everbilt Customer Service
8 a.m. – 6 p.m., EST, Monday-Friday
1-844-883-1872 HOMEDEPOT.COM
Retain this manual for future use.


















