Easy Sump™
FPZS50RP
OWNER’S MANUAL
Safety
Important Safety Instructions
SAVE THESE INSTRUCTIONS – This manual contains important instructions that should be followed during installation, operation, and maintenance of the product.
This is the safety alert symbol. When you see this symbol on your pump or in this manual, look for one of the following signal words and be alert to the potential for personal injury!
DENGER indicates a hazard which, if not avoided, will result in death or serious injury.
WARNING indicates a hazard which, if not avoided, could result in death or serious injury.
CAUTION indicates a hazard which, if not avoided, could result in minor or moderate injury.
NOTICE addresses practices not related to personal injury.
Carefully read and follow all safety instructions in this manual and on pump.
Keep safety labels in good condition. Replace missing or damaged safety labels.
California Proposition 65 Warning
WARNING This product contains chemicals known to the State of California to cause cancer or birth defects or other reproductive harm.
- Know the pump application, limitations, and potential hazards.
- Do not use in water with fish present. If any oil leaks out of the motor it can kill fish.
- Disconnect power before servicing.
- Release all pressure within system before servicing any component.
- Drain all water from system before servicing.
- Secure discharge line before starting pump. An unsecured discharge line will whip, possibly causing personal injury and/or property damage.
- Check hoses for weak or worn condition before each use, making certain that all connections are secure.
- Periodically inspect sump, pump and system components. Keep free of debris and foreign objects.
Perform routine maintenance as required. - Provide means of pressure relief for pumps whose discharge line can be shut-off or obstructed.
- Personal Safety:
a. Wear safety glasses at all times when working with pumps.
b. Keep work area clean, uncluttered and properly lighted – replace all unused tools and equipment.
c. Keep visitors at a safe distance from work area.
d. Make workshop child-proof – with padlocks, master switches, and by removing starter keys. - When wiring an electrically driven pump, follow all electrical and safety codes that apply.
- This equipment is only for use on 115 volt (single phase) and is equipped with an approved 3-conductor cord and 3-prong, grounding-type plug.
WARNING Risk of electric shock. Can shock, burn or kill. This pump has not been investigated for use in swimming pool areas. Pump is supplied with a grounding conductor and grounding-type attachment plug. Be sure it is connected only to a properly grounded grounding-type receptacle.
Where a 2-prong wall receptacle is encountered, it must be replaced with properly grounded 3-prong receptacle installed in accordance with codes and ordinances that apply. - All wiring should be performed by a qualified electrician.
- Make certain power source conforms to requirements of your equipment.
- Protect electrical cord from sharp objects, hot surfaces, oil, and chemicals. Avoid kinking cord.
Replace or repair damaged or worn cords immediately. - Do not touch an operating motor. Modern motors can operate at high temperatures.
- Do not handle pump or pump motor with wet hands or when standing on wet or damp surface, or in water.
WARNING Risk of electric shock. Can shock, burn or kill. If your basement has water or moisture on floor, do not walk on wet area until all power has been turned off.
If shut-off box is in basement, call electric company or hydro authority to shut-off service to house, or call your local fire department for instructions. Remove pump and
repair or re place. Failure to follow this warning can result in fatal electrical shock.
Do not lift pump by power cord.
Performance
| GPH (LPH) at total feet (m) of lift | ||||||
| Series | HP | 5 (1.5m) | 10 (3m) | 15 (4.6m) | 20 (6.1) | No flow at height shown below |
| Capacity Gallons(L)/Hour | ||||||
| FPZS50RP | 1/2 | 3660 (13855) | 3000 (11356) | 2160 (8176) | 960 (3634) | 22 ft (6.7m) |
Electrical & Switch Specifications
| Series | H P | Motor Full Load Amps |
Branch Circuit (Amps) |
Req. | Switch Settin in inches (cm | ||
| On | Off | ||||||
| FPZS5ORP | 1/2 | 4. | 15 | 7.5 (19.1) | 3 (7.6) | ||
Specifications . Installation
Specifications
Power supply required……………………………..115V, 60 HZ.
Liquid Temp. Range……………………..32°F to 70°F(0°-21°C)
Individual Branch Circuit Required (min.)………….15 Amps
Discharge:
Check valve…………………………….1-1/4” Slip/1-1/2” Slip
NOTICE Do not reduce size of discharge pipe or hose below 1-1/4” diameter. If discharge is too small, pump will overheat and fail prematurely.
This pump is designed for use in a residential sump only.
Only pump water with this pump.
NOTICE This unit is not designed as a waterfall or fountain pump, or for applications involving salt water or brine!
Use with waterfalls, fountains, salt water or brine will void warranty.
Do not use where water recirculates.
Not designed for use as a swimming pool drainer.
Float Switch Installation
Models equipped with vertical switches require some assembly.

Installation
The Easy Sump is pre-plumbed up to the check valve.
The system includes the pump, PVC pipe, check valve and vertical float switch.
Needed:
Screwdriver, tape measure, hacksaw, cable ties
- Unplug existing sump pump and place power cord and piggyback switch out of the way of work and water.
- Measure height of Easy Sump from base to top of check valve. Subtract 3/4”.
Drop the tape measure into the bottom of sump pit and mark the cut line on the discharge pipe (3/4” less than total height of Easy Sump from base to top of check valve).
- Use hacksaw to cut horizontally along cut line completely through pipe.
NOTICE Depending on where your current check valve is located, there may be excess water. Let the water drain/drip into the sump pit. - Remove old sump from sump pit.
NOTICE Remove all sand, clay, and gravel before installing. - Place Easy Sump into sump pit. Make sure vertical float switch can operate freely inside sump pit.
- Run power cord and piggyback switch up through the correct hole in sump pit cover.
- Once the Easy Sump is firmly seated in the base of the pit, connect the check valve to the existing discharge pipe and clamp it securely.

- Secure power cord and piggyback switch high up and around pipe with a cable tie. Plug the pump into a standard household 15 amp outlet.
NOTICE The circuit should be dedicated to the sump pump exclusively.
Remember: Do no handle the pump whole it is plugged in; whether it is running or not.
- To check the pump’s operation, fill the sump pit with water until the pump starts. Let it run until it is pumped down the sump then stop. Once you’re satisfied that the pump is operating properly, replace the sump pit cover.

Operation
WARNING Risk of electric shock. Can shock, burn or kill. Do not handle a pump or pump motor with wet hands or when standing on wet or damp surface, or in water.
- Shaft seal depends on water for lubrication. Do not operate pump unless it is submerged in water as seal may be damaged if allowed to run dry.
- Motor is equipped with automatic reset thermal protector. If temperature in motor should rise, switch will cut off all power before damage can be done to motor. When motor has cooled, switch will reset automatically and restart motor. If protector trips repeatedly, pump should be removed and checked.
Low voltage, long extension cords, clogged impeller, very low head or lift, or a plugged or frozen discharge pipe, etc., could cause cycling. - Pump will not remove all water. If operating a pump manually and suddenly no water comes out of the discharge hose, shut off the unit immediately. The unit has broken prime due to a very low water level.
WARNING Risk of electric shock. Can shock, burn or kill. Before attempting to check why unit has stopped operating, disconnect power from unit.
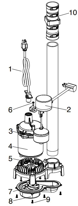
Repair Parts

| Ref | Description | Qty | FPZS5ORP |
| 1 | Power Cord Assembly | 1 | PS117-54-TSU |
| 2 | Vertical Float Switch Assembly | 1 | FPS17-66 |
| 3 | Screw #8-32 x 7/8″ | 4 | • |
| 4 | Motor | 1 | ** |
| 5 | Upper Volute | 1 | PS1-327 |
| 6 | Screw #8-32 x 1/2″ | 5 | • |
| 7 | Impeller | 1 | PS1-286 |
| 8 | Lower Volute | 1 | PS1-326 |
| 9 | Screw #8 x 5/8″ coarse thread “Sheet/Metal Screw” | 6 | • |
| 10 | Check Valve | 1 | FP0026-10 |
**If motor fails, replace entire pump.
• Purchase locally
Troubleshooting
| Symptom | Possible Cause(s) | Corrective Action |
| Pump won’t start or run. | Pump is not plugged in. | Check and see if pump is plugged into a proper outlet. |
| Blown fuse. | If blown, replace with fuse of proper size. | |
| Low line voltage | If voltage under recommended minimum, check size of wiring from main switch on property. If OK, contact power company or hydro authority. | |
| Defective motor. | Replace pump. | |
| Defective float switch. | Replace float switch. | |
| Impeller | If impeller won’t turn, remove lower pump body and locate source of binding. | |
| Float obstructed | Remove obstruction. | |
| Pump starts and stops too often. | Backflow of water from piping | Install or replace check-valve. |
| Faulty float switch | Replace float switch. | |
| Pump won’t shut off | Defective float switch | Replace float switch. |
| Restricted discharge (obstacle or ice in piping) | Remove pump and clean pump and piping. | |
| Float obstructed | Remove obstruction. | |
| Restricted intake screen | Remove the pump and clean the intake screen and the impeller. | |
| Pump operates but delivers little or no water | Low line voltage | If voltage under recommended minimum, check size of wiring from main switch on property. If OK, contact power company or hydro authority. |
| Something caught in impeller | Remove the pump and clean out the impeller. | |
| Worn or defective parts or plugged impeller | Clean impeller if plugged; otherwise replace pump. | |
| Check valve installed without vent hole. | Drill a 1/16″ – 1/8″ (1.6mm-3.2mm) dia. hole between pump discharge & check valve (1-2″ above where the discharge pipe screws into the pump discharge and below the waterline). | |
| Restricted intake screen | Remove the pump and clean out the intake screen. | |
| Check valve is installed either backward or upside down | Be sure check valve is installed correctly. |
Warranty
Retain Original Receipt For Warranty Eligibility
Limited Warranty
This Limited Warranty is effective June 1, 2011 and replaces all undated warranties and warranties dated before June 1, 2011.
FLOTEC warrants to the original consumer purchaser (“Purchaser” or “You”) that its products are free from defects in material and workmanship for a period of twelve (12) months from the date of the original consumer purchase. If, within twelve (12) months from the original consumer purchase, any such product shall prove to be defective, it shall be repaired or replaced at FLOTEC’s option, subject to the terms and conditions set forth herein. Note that this limited warranty applies to manufacturing defects only and not to ordinary wear and tear. All mechanical devices need periodic parts and service to perform well. This limited warranty does not cover repair when normal use has exhausted the life of a part or the equipment.
The original purchase receipt and product warranty information label are required to determine warranty eligibility. Eligibility is based on purchase date of original product – not the date of replacement under warranty. The warranty is limited to repair or replacement of original purchased product only, not replacement product (i.e. one warranty replacement allowed per purchase). Purchaser pays all removal, installation, labor, shipping, and incidental charges.
For parts or troubleshooting assistance, DO NOT return product to your retail store – contact FLOTEC Customer Service at 800-365-6832.
Claims made under this warranty shall be made by returning the product (except sewage pumps, see below) to the retail outlet where it was purchased or to the factory immediately after the discovery of any alleged defect. FLOTEC will subsequently take corrective action as promptly as reasonably possible. No requests for service will be accepted if received more than 30 days after the warranty expires. Warranty is not transferable and does not apply to products used in commercial/rental applications.
Sewage Pumps
DO NOT return a sewage pump (that has been installed) to your retail store. Contact FLOTEC Customer Service. Sewage pumps that have seen service and been removed carry a contamination hazard with them.
If your sewage pump has failed:
- Wear rubber gloves when handling the pump;
- For warranty purposes, return the pump’s cord tag and original receipt of purchase to the retail store;
- Dispose of the pump according to local disposal ordinances.
Exceptions to the Twelve (12) Month Limited Warranty
| Product – Model | Warranty Period |
| FP0F360AC, FP0FDC, FPDM21SA, FPDM21HC | 90 days |
| FP0S1775A, FP0S1790PCA, FP0S2400A, FP0S2450A, FP0S4100X, FP2800DCC, FPCP-20ULST, FPPSS3000, FPSC2150A, FPSC3150A, FPCI3350, FPCI5050 | 2 Years |
| 4” Submersible Well Pumps, FP0S3200A, FP0S3250A, FP0S6000A, FPSC1725X, FPSC2200A, FPSC2250A, FPSE3601A, FPPSS5000, FPSC3350A, FPZT7300, FPZT7350, FPZT7450, FPZT7550 | 3 Years |
| FP7100 Series Pressure Tanks, E100ELT, E3305TLT, E3375TLT, E5005TLT, E50TLT, E50VLT, E75STVT, E75VLT, FPSC3200A, FPSC3250A, FPSC4550A, FPSE9000 | 5 Years |
General Terms and Conditions; Limitation of Remedies
You must pay all labor and shipping charges necessary to replace product covered by this warranty. This warranty does not apply to the following: (1) acts of God; (2) products which, in FLOTEC’s sole judgment, have been subject to negligence, abuse, accident, misapplication, tampering, or alteration; (3) failures due to improper installation, operation, maintenance or storage; (4) atypical or unapproved application, use or service; (5) failures caused by corrosion, rust or other foreign materials in the system, or operation at pressures in excess of recommended maximums.
This warranty sets forth FLOTEC’s sole obligation and purchaser’s exclusive remedy for defective products.
FLOTEC SHALL NOT BE LIABLE FOR ANY CONSEQUENTIAL, INCIDENTAL, OR CONTINGENT DAMAGES WHATSOEVER.
THE FOREGOING LIMITED WARRANTIES ARE EXCLUSIVE AND IN LIEU OF ALL OTHER EXPRESS AND IMPLIED WARRANTIES, INCLUDING BUT NOT LIMITED TO IMPLIED WARRANTIES OF MERCHANTABILITY AND FITNESS FOR A PARTICULAR PURPOSE. THE FOREGOING LIMITED WARRANTIES SHALL NOT EXTEND BEYOND THE DURATION PROVIDED HEREIN.
Some states do not allow the exclusion or limitation of incidental or consequential damages or limitations on how long an implied warranty lasts, so the above limitations or exclusions may not apply to You. This warranty gives You specific legal rights and You may also have other rights which vary from state to state.
FLOTEC • 293 Wright Street • Delavan, WI U.S.A. 53115
Phone: 800-365-6832 • Fax: 800-526-3757 • www.flotecwater.com
293 Wright Street, Delavan, WI 53115
Phone: 1-800-365-6832
Fax: 1-800-526-3757
flotecwater.com
For parts or assistance, call Flotec Customer Service at 1-800-365-6832



















