PENTAIR MSP33V10BP-R Preplumbed Sump Pump System

Myers Preplumbed Sump Pump System
Product Information
The Myers Preplumbed Sump Pump System is designed to remove water from a sump pit in order to prevent flooding or water damage. It comes preassembled with a pump, basin, discharge pipe, and check valve for easy installation.
Product Specifications
- Model: MSP33V10BP-R
- Power: 1/3 HP
- Volts: 115V AC
- Flow Rate: 48 GPM @ 10 ft. of Head
- Cord Length: 10 ft.
Product Usage Instructions
Before using the Myers Preplumbed Sump Pump System, carefully read and follow all safety instructions in the user manual provided with the product. Failure to comply with safety instructions could result in personal injury and/or property damage.
Installation
- Select a suitable location for the sump pump system that is not classified as hazardous by the United States National Electrical Code (NEC) or by the Canadian Electrical Code (CEC).
- Follow all applicable local and state codes and regulations.
- Ensure the pump is installed in a sump pit that is deep enough to accommodate the entire pump and ensure that the discharge pipe is properly connected to the pump.
- Connect the power cord to a grounded outlet and ensure that the pump ground lead is connected to the system ground.
- Check local codes to ensure the package meets requirements.
DESCRIPTION
This Myers Sump Pump System is ideal for basement and cellar installations. It includes a submersible sump pump and a corrosion-resistant sump basin and lid. The pump features a flush-mount system for maximum discharge of the basin. All components of the sump pump system are preassembled at the factory for easy installation. This submersible pump is designed for sump drainage, dewatering and flood control. The pump has built-in thermal overload protection and an automatic reset. The mechanical seal and ball bearings on the motor shaft are permanently lubricated. This system is designed for residential use only. The supplied hardware kit includes a rubber inlet hub, a cord grommet and an exterior check valve. No special tools or sealants are required.
NOTE: This system is not designed for applications involving salt water or brine! Use with salt water or brine will void warranty. Pump water only with this pump. Install on a hard, level surface of sediment or gravel
WARNING
Hazardous voltage. Can shock, burn or kill. See Cord Lift Warning in Safety section
PIPING
Piping must not be smaller than pump discharge.
ELECTRICAL
Hazardous voltage. Can shock, burn, or kill. When installing, operating, or servicing this pump, follow the safety instructions listed below. Do not lift pump by the power cord. See “Cord Lift Warning”.
- DO NOT splice the electrical power cord.
- DO NOT allow the electrical cord plug to be submerged.
- DO NOT use extension cords. They are a fire hazard and can reduce voltage sufficiently to prevent pumping and/or damage motor.
- DO NOT handle or service the pump while it is connected to the power supply.
- DO NOT remove the grounding prong from the plug or modify the plug. To protect against electrical shock, the power cord is a three-wire conductor and includes a 3-prong grounded plug. Plug the pump into a 3-wire, rounded, grounding-type receptacle. Connect the pump according to the NEC or CEC and local codes.
Connect or wire pump to its own individual branch circuit with no other outlets or equipment in the circuit. Size fuses or circuit breakers according to information in the Specifications section of this manual.
WARNING
Risk of electrical shock and fire. Be sure that power supply information (Voltage/ Hertz/Phase) in this manual matches incoming power supply exactly. Install pump according to all electrical codes that apply.
NOTE: Proper ventilation is needed to prevent negative basin pressure and to provide air within the basin.
The basin should be located at the lowest place in the basement or area to be drained. Floor drains from other areas in the basement may be tiled into the basin. Drain tile around a house foundation may also be tiled into the basin, effectively removing water and relieving pressure from this area. Basin covers are used to exclude refuse from the basin
- Dig the hole for the basin and the sub-base. The hole must be deep enough so the top of the basin is flush with the finished floor. The sub-base should include 4″ of sand or gravel. The maximum diameter of crushed rock should be 1/2″. The recommended maximum diameter of pea gravel is 3/4″.
- Level the sub-base out until it is smooth. Sharp rock can damage the basin.
- Reach into the inlet hole to retrieve the hardware kit. Locate the cord grommet in the hardware kit.
- Reach into the inlet hole again to pull the power cord up through the cord grommet hole in the cover. Press the cord into the cord grommet and install the grommet in the cover.
- Locate the inlet hub in the hardware kit, and snap it into the inlet hole.
- Install the basin on top of the sub-base.
- Insert a 4″ inlet pipe through the inlet hub. Insert it 2″ into the basin. Dish soap can be used to lubricate the inlet hub. If necessary, file the sharp edges of the pipe to prevent damage to the hub. The inlet pipe should pitch down to the basin inlet at 1/4″ per foot. This will cause the water to run into the basin.
- Backfill around the basin with crushed rock, with a maximum diameter of 1/2″, or use pea gravel.
- Install a 1-1/2″ discharge pipe into the 1-1/2″ FNPT discharge flange.
- Install a 2″ vent pipe into the 2″ FNPT threaded vent flange. The vent pipe must go through the roof of the building or it can be connected to an existing vent pipe. The sump basin must be vented. Proper ventilation is needed to prevent negative basin pressure and to provide the necessary air within the basin. Do not use a 1-way vent of any kind
- Install the 1-1/2″ check valve (supplied) in the discharge pipe. Make certain the flow indicating arrow points away from the pump. This check valve will keep the water from running back into the basin when the pump is not running. To prevent clogging the pump, clear basin of any debris if you remove the cover during or after installation. Unplug the pump first.
- Plug the pump into a properly grounded outlet.
- Check the operation by filling the basin with water and observing pump operation through one complete cycle. Make sure that no parts of the assembly interfere with the float.
WARNING
Failure to make this operational check may lead to improper operation, premature failure, and flooding.

Operation
- Make sure the pump is properly primed with water before operation to prevent dry running and potential damage to the pump or voiding of the warranty.
- Do not touch an operating motor as modern motors can operate at high temperatures.
- Do not handle pump or pump motor with wet hands or when standing on a wet or damp surface or in water.
- Monitor the sump pump system for proper operation and ensure that the discharge pipe is properly flowing and draining water away from the property.
The shaft seal depends on water for lubrication and cooling. Do not operate the pump unless it is submerged in water as the seal may be damaged if allowed to run dry. Allowing the pump to run dry will void the warranty. An automatic overload protector in the motor will protect the motor from burning out due to overheating/overloading. When the motor cools down, the overload protector will automatically reset and start the motor. If the overload trips frequently, check for the cause. It could be a stuck impeller, wrong/low voltage, or an electrical failure in the motor. If an electrical failure in the motor is suspected, have it serviced by a competent repairman. The pump is permanently lubricated. No oiling or greasing is required. The pump will not remove all water. For extended operation, water depth must be at least 5″ (13 cm) to prevent motor overheating.
AIRLOCKS
When a pump airlocks, it runs but does not move any water. An airlock will cause the pump to overheat and fail. The discharge pipe is plumbed with a predrilled anti-airlock hole. Leakage from the anti-airlock hole is normal during pump operation.
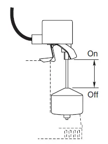
FLOAT SWITCH – OPERATIONAL CHECK
- Fill the sump with the correct amount of water to check the operation and tightness of the connections. During the first automatic cycle, it may take 30 seconds or more before the pump is primed and pumping. The pump will start as indicated in the Specifications section of this manual.
- Check the turn-off position. The pump will stop approximately as indicated in the Specifications section of this manual.
- If the pump does not operate, check the electrical service.
The vertical float has a short range of motion along a vertical rod, which helps prevent the float from sticking.

Maintenance
- Regularly inspect the sump pump system for any signs of damage or wear.
- Clean the sump pit and ensure that the pump and check valve are free of debris.
- Replace any missing or damaged safety labels.
The pump should only be serviced by trained personnel. There are no consumer serviceable parts inside the pump. Hazardous voltage. Can shock, burn, or kill. Before removing the pump from the basin for service, always disconnect electrical power to the pump and the control switch. Do not lift the pump by the power cord. See the “Cord Lift Warning”. To prevent clogging the pump, clear basin of any debris if you remove the cover during or after installation. Unplug the pump first. Disconnect the discharge and vent pipes from the unit, remove the four basin cover bolts, and then lift the pump out of the basin using the pump handle. DO NOT attempt to open the pump further than removing the bottom plate. The pump motor housing contains a special lubricating oil which should be kept clean and free of water at all times. The sump basin and cover, pump, and piping should be protected from freezing temperatures.
SAFETY INFORMATION
SAVE THESE INSTRUCTIONS: This manual contains important instructions that should be followed during installation, operation, and maintenance of the product.
SAFETY SYMBOLS
This is the safety alert symbol. When you see this symbol on your pump or in this manual, look for one of the following signal words and be alert to the potential for personal injury:
DANGER
warns about hazards that will cause serious personal injury, death or major property damage if ignored.
WARNING
warns about hazards that can cause serious personal injury, death or major property damage if ignored.
CAUTION
warns about hazards that will or can cause minor personal injury or property damage if ignored.
The word NOTE indicates special instructions that are important but not related to hazards
CALIFORNIA PROPOSITION 65 WARNING
This product and related accessories contain chemicals known to the State of California to cause cancer, birth defects or other reproductive harm.
GENERAL SAFETY
- Carefully read and follow all safety instructions in this manual and on the unit itself. Failure to comply with the safety instructions could result in personal injury and/or property damage!
- Know the pump application, limitations, and potential hazards. Follow all applicable local and state codes and regulations.
- Do not run the pump dry. Dry running can overheat the pump, (causing burns to anyone handling it) and will void the warranty.
- Check local codes to ensure package meets requirements.
- Do not install the basin or pump in any location classified as hazardous by the United States National Electrical Code (NEC), or by the Canadian Electrical Code (CEC), where applicable.
- Keep safety labels in good condition, replacing any missing or damaged labels.
- Do not touch an operating motor. Modern motors can operate at high temperatures. Do not handle pump or pump motor with wet hands or when standing on wet or damp surface, or in water.
Personal Safety:
- Wear safety glasses at all times when working with pumps.
- Keep work area clean, uncluttered and properly lighted. Replace all unused tools and equipment.
- Keep visitors at a safe distance from work area.
- Make workshop child-proof with padlocks, master switches, and by removing starter keys.
ELECTRICAL SAFETY
Hazardous voltage. Can shock, burn, or kill. When installing, operating, or servicing this pump, follow the safety instructions listed below.
- Disconnect power before servicing. Disconnect power to outlet box before unplugging.
- Take extreme care when changing fuses. Do not stand in water or put your finger in the fuse socket.
- DO NOT allow the plug on the end of the electrical cord to be submerged.
- Do not modify the cord and plug. When using the cord and plug, plug into a grounded outlet only. When wiring to a system control, connect the pump ground lead to the system ground.
- All wiring should be performed by a qualified electrician.
- Make certain power source conforms to requirements of your equipment.
- Do not lift pump by cord (see below).
CORD LIFT WARNING

- Attempting to lift or support pump by power cord can damage cord and cord connections.
- Cord may pull apart, exposing bare wires with possibility of fire or electrical shock.
- Lifting or supporting pump by power cord will void warranty.
- Use lifting ring or handle on top of pump for all lifting/lowering of pump. Disconnect power to pump before doing any work on it or attempting to remove
SPECIFICATIONS
- Power Supply Required……………………………………………………………………………………………………………………………115V, 60 HZ.
- Liquid Temp. Range………………………………………………………………………………………………………………………………..32°F to 70°F(0°-21°C)
- Individual Branch Circuit Required (min.)…………………………………………………………………………………………………….15 Amps
- Discharge Adapter…………………………………………………………………………………………………………………………………..1-1/2” NPT
- Vent Adapter…………………………………………………………………………………………………………………………………………..2″ NPT
- Inlet Hub………………………………………………………………………………………………………………………………………………..4” Slip Fit
NOTE: Do not reduce size of discharge pipe or hose below 1-1/4” diameter. If discharge is too small, pump will overheat and fail prematurely.
PERFORMANCE
| GPH (LPH) at total feet (m) of lift | |||||||
| Capacity Gallons(L)/Hour | |||||||
| Series | HP | 0′ (0.0m) | 5′ (1.5m) | 10′ (3m) | 15′ (4.6m) | 20′ (6.1m) | No flow at height shown below |
| MSP33V10BP-R | 1/3 | 3600 (12038) | 3180 (12038) | 2700 (10221) | 2160 (8176) | 1440 (5451) | 24 (7.3) |
ELECTRICAL & SWITCH SPECIFICATIONS
| Series | HP | Motor Full Load Amps | Individual Branch Circuit Req. (Amps) | Automatic Switch Type | Switch Setting in Inches Water Level for: | |
| ON | OFF | |||||
| MSP33V10BP-R | 1/3 | 3.9 | 15.0 AMP 115V | Piggyback Vertical | 14″ | 5″ |
PARTS LIST

| Ref # | NAME | Qty. | PART # |
| 1A | Basin Cover Assembly (Includes Nos. 1-8) | 1 | PW73-65P |
| 1 | Basin Cover | 1 | – |
| 2 | Square Cut O-Ring | 2 | – |
| 3 | Discharge Flange, 1-1/2″ | 1 | – |
| 4 | Basin Bolt | 8 | – |
| 5 | Flat Washer | 8 | – |
| 6 | Vent Flange, 2″ | 1 | – |
| 7 | Cord Grommet | 1 | – |
| 8 | Seal Ring | 1 | – |
| 9 | Inlet Hub, Snap-In | 1 | PW73-67 |
| 10 | Sump Basin | 1 | PW73-72 |
| 11 | Sump Pump | 1 | MS33PV10 |
| 12 | Discharge Pipe: 1-1/2″ PVCx19.15″ long | 1 | * |
| 13 | Check Valve | 1 | FP0026-10-P2 |
Purchase local (Pipe threaded on end)
TROUBLESHOOTING

WARRANTY
Limited Warranty
Myers warrants to the original consumer purchaser (“Purchaser” or “You”) of the products listed below, that they will be free from defects in material and workmanship for the Warranty Period shown below.
SEWAGE PUMPS
DO NOT return a sewage pump (that has been installed) to your retail store. Sewage pumps that have seen service and been removed carry a contamination hazard with them. If your sewage pump has failed:
- Wear rubber gloves when handling the pump.
- For warranty purposes, return the pump’s cord tag and original receipt of purchase to the retail store.
- Dispose of the pump according to local disposal ordinances.
Contact Pentair Myers Customer Service at 1-888-987-8677.
TWENTY-FOUR (24) MONTH FROM DATE OF PURCHASE LIMITED WARRANTY:
Product Model
- Sump MS50V10-R, MSCI50V10-R, MSCI75V10-R, MSP33T10-R, MSP33V10BP-R, MSZ100V10-R
- Effluent ME40T20-R
- Sewage MSW50T10-R, MSW50TBP-R, MSWE5012P10-R, MSWKV75VT20-R
- Utility MUCA25-R
The shaft seal depends on water for lubrication and cooling. Do not operate the pump unless it is submerged in water as the seal may be damaged if allowed to run dry. Allowing the pump to run dry will void the warranty. An automatic overload protector in the motor will protect the motor from burning out due to overheating/overloading. When the motor cools down, the overload protector will automatically reset and start the motor. If the overload trips frequently, check for the cause. It could be a stuck impeller, wrong/low voltage, or an electrical failure in the motor. If an electrical failure in the motor is suspected, have it serviced by a competent repairman. The pump is permanently lubricated. No oiling or greasing is required. The pump will not remove all water. For extended operation, water depth must be at least 5″ (13 cm) to prevent motor overheating.Our warranty applies only where such products are used in compliance with the requirements of the applicable product catalog and/or manuals. For additional information, please refer to the applicable standard limited warranty featured in the product manual.
Our warranty will not apply to any product that, in our sole judgement, has been subject to negligence, misapplication, improper installation, failure to install per owner’s manual, unauthorized product modifications, use of non-MYERS original replacement parts, accidental damage, fire, acts of God, other circumstances outside of our control, or improper maintenance. Note that this limited warranty applies to manufacturing defects only and not to ordinary wear and tear. All mechanical devices need periodic parts and service to perform well. This limited warranty does not cover repair when normal use has exhausted the life of a part or the equipment. Without limiting the foregoing, operating a three phase motor with single phase power through a phase converter will void the warranty. Note also that three phase motors must be protected by three-leg, ambient compensated, extra-quick trip overload relays of the recommended size or the warranty is void.
The original purchase receipt and product warranty information label are required to determine warranty eligibility. Eligibility is based on purchase date of original product – not the date of replacement under warranty. Your only remedy for proven defect covered by this warranty, and MYERS’s only duty, is that MYERS repair or replace defective products (at MYERS’s sole choice). You must pay all labor and shipping charges associated with this warranty and must request warranty service through the installing dealer as soon as a problem is discovered. No request for service will be accepted if received after the Warranty Period has expired. This warranty is not transferable. MYERS SHALL NOT BE LIABLE FOR ANY CONSEQUENTIAL, INCIDENTAL, OR CONTINGENT DAMAGES WHATSOEVER. THE FOREGOING LIMITED WARRANTIES ARE EXCLUSIVE AND IN LIEU OF ALL OTHER EXPRESS AND IMPLIED WARRANTIES, INCLUDING BUT NOT LIMITED TO IMPLIED WARRANTIES OF MERCHANTABILITY AND FITNESS FOR A PARTICULAR PURPOSE.
THE FOREGOING LIMITED WARRANTIES SHALL NOT EXTEND BEYOND THE DURATION PROVIDED HEREIN. Some states do not allow the exclusion or limitation of incidental or consequential damages or limitations on the duration of an implied warranty, so the above limitations or exclusions may not apply to You. This warranty gives You specific legal rights and You may also have other rights which vary from state to state. No dealer or other person has any authority to make any different warranties or representations concerning Pentair or Pentair products. Accordingly, Pentair nor any of its entities are to be held responsible for any such warranties or representation. This Limited Warranty is effective October 1, 2020 and replaces all undated warranties and warranties dated before October 1, 2020.
F.E. MYERS
293 Wright Street, Delavan, WI 53115
- Ph: 888.987.8677
- Fx: 800.426.9446
- pentair.com
In Canada: 490 Pinebush Road, Unit 4, Cambridge, Ontario N1T 0A5
- Ph: 800.363.7867
- Fx: 888.606.5484




















