SW/SD/VS33 and 50 Submersible
Sump/ Effluent Pumps
Instruction Manual
SW/SD/VS33 and 50 Submersible Sump/ Effluent Pumps
NOTE! TO THE INSTALLER: Please make sure you provide this manual. to the owner of the pumping equipment or to the responsible party who maintains the system.
293 WRIGHT STREET, DELAVAN, WI 53115 WWW.HYDROMATIC.COM PH: 888-957-8677
269 TRILLIUM DRIVE, KITCHENER, ONTARIO, CANADA N2G 4W5 PH: 519-896-2163
© 2013 Pentair, Ltd. All Rights Reserved.
General Information
Thank you for purchasing your Hydromatic® pump. To help ensure years of trouble-free operation, please read the following manual carefully.
Before Operation:
Read the following instructions carefully. Reasonable care and safe methods should be practiced.
Check local codes and requirements before installation.
Attention:
This manual contains important information for the safe use of this product. Read this manual completely before using this product and refer to it often for con tinued safe product use.
DO NOT THROW AWAY OR LOSE THIS MAN U AL. Keep it in a safe place so that you may refer to it often.
Warning: Before handling these pumps and controls, always disconnect the power first. Do not smoke or use sparkable electrical devices or flames in a septic (gaseous) or possible septic sump.
California Proposition 65 Warning
WARNING: This product and related accessories contain chemicals known to the State of California to cause cancer, birth defects or other reproductive harm.
Pump Warning
To reduce risk of electrical shock:
- Risk of Electrical Shock:
This pump has not been investigated for use in swimming pool areas. - Risk of Electrical Shock:
Connect only to a properly grounded receptacle.
Septic tank is to be vented in accordance with local plumbing codes.
Do not smoke or use spark able electrical devices or flame in a septic (gaseous) or possible septic sump.
If a septic sump condition exists and if entry into sump is necessary, then (1) provide proper safety precautions per OSHA re quire mints and (2) do not enter sump until these precautions are strictly adhered to.
Do not install pump in location classified as hazardous per N.E.C., ANSI/NFPA 70 – 1999.
Failure to heed above cautions could result in injury or death.
Pump Installation
These important instruction must be followed for sat is factory performance of your pump.
Before installation, check your local electrical and plumbing codes.
- Provide proper sump.
Minimum Sump DiameterSW/SD/VS50 18” SW33 18” SD/VS33 12” 
- Make sure float (Models SW33/50 and VS33/50) hangs free. It should not come into contact with side or bottom of sump.
- Make sure sump is free of string, cloth, nails, gravel, etc. before installing pump.
- Do not set pump directly on the bottom of sump if it is not solid. Raise the pump by using bricks or concrete blocks underneath it.
- Use steel or plastic pipe for all connecting lines be tween pump and sewer outlet.
NOTE: Some city regulations do not allow in stalling a pump with plastic pipe. Check local regulations. - Hydromantic check valve should be installed in discharge pipe, at least twelve inches above the discharge outlet of the pump.
- Connect to power source using 3-prong grounded 115 volt AC receptacle. Do not remove ground pin from electrical plug. Do not use an extension cord.
- For proper automatic operation make sure the pump power cord is plugged into the back of the piggyback receptacle on the switch cord.
- Use pump submerged for pumping waterline liquids (temperature to 120°F).
Warning: risk of Electrical Shock – this pump has not been investigated for use in swimming pool areas. - CAUTION: Do not pump flammable liquids, strong chemicals or salt water.
- In applications where the pump may sit idle for months at a time, it is recommended that the pump(s) be cycled every month to ensure pumping system is working properly when needed.
- An audible alarm system such as the Q Alert for high water conditions should be installed for additional protection against high water conditions.

PERFORMANCE CURVE

Example one illustrates a typical system installation.
Pump Servicing
Pump Servicing
Read the following instructions carefully before replacing any parts. Reasonable care and safe methods should be practiced. Check local codes and requirements before installation. Only competent electrician should make the installations.
Servicing should be performed only by knowledgeable pump service contractors or authorized service stations.
- WARNING: Always disconnect the pump from power source before handling or making any adjustments. Always wear rubber boots when there is water on the floor and you must unplug the pump.
- Before removing pump from sump for repair, check if the trouble could simply be a blown fuse, tripped circuit breaker, or a power cord not completely inserted into the receptacle.
- NOTE: Automatic thermal overload protects the sealedin-oil motor. Running dry will overheat the motor and activate the overload protector until the unit cools.
- If the unit is being operated by the optional float control or diaphragm switch, unplug the pump from the piggyback receptacle and plug the pump directly into the power source. If the pump starts each time it is plugged directly into the receptacle and does not start each time when plugged into the piggyback switch with the float raised up (or the diaphragm switch pressed in) to a start position, replace the complete piggyback switch assembly and retest with new assembly.
- If pump fails the above two steps, unplug and pull the pump from the sump by the handle. Sandblast, if possible, any dirt or trash from the outside of the pump before proceeding.
- Check for an obstruction in the impeller cavity by laying the pump on its side and removing the screws (10) to remove the plastic base and bottom plate (12 & 13). If the impeller does not rotate freely, clear the impeller and cavity walls before reassembling the base. Repeat Step 4.
- Air Locking: A sump pump is said to be air locked if air traps in the pump and it cannot get out, thus preventing pump from operation. Hydromatic sump pumps have a small air vent hole in the impeller cavity to let out trapped air. If the hole becomes plugged, pump may air lock. To break the air lock, use a small screwdriver to clear the hole in the impeller cavity. As a secondary precaution in installations of this type — ‘A” hole should be drilled in the discharge pipe below the check valve. The check valve should be 12 to 18 inches above pump discharge. Do not put check valve directly into pump discharge opening.
NOTE: In sumps where the pump is operating daily, air locking rarely occurs. - If the above tests have not resolved the problem, the problem may be in the electrical components of the pump. Starting with the power cord, inspect for cuts or nicks in the insulation. If the cord is damaged, it must be replaced!
- Using an ohmmeter, check the resistance of the motor windings by connecting one lead clip to each electric flat prong on the power cord plug. The ohmmeter should be on R x 1 setting.
To check for ground, place the ohmmeter on R x 100k, connect one lead clip to the round ground prong on the power cord and touch the other lead clip to each flat prong individually. If the reading is other than infinity (on the ohmmeter scale), a leakage through stator insulation or moisture in the windings is occurring and the pump must be replaced.
Pump Troubleshooting
WARNING: Before handling these pumps and controls, always disconnect the power first.
Do not smoke or use spark able electrical devices or flames in a septic (gaseous) or possible septic sump.
Pump does not run or hum.
- Line circuit breaker may be off, blown or loose.
- Water level in sump may be too low. Run in more water. Turn-on level is 12 to 13 inches above sump bottom.
- Pump and/or switch cord plug may not be making contact in receptacle.
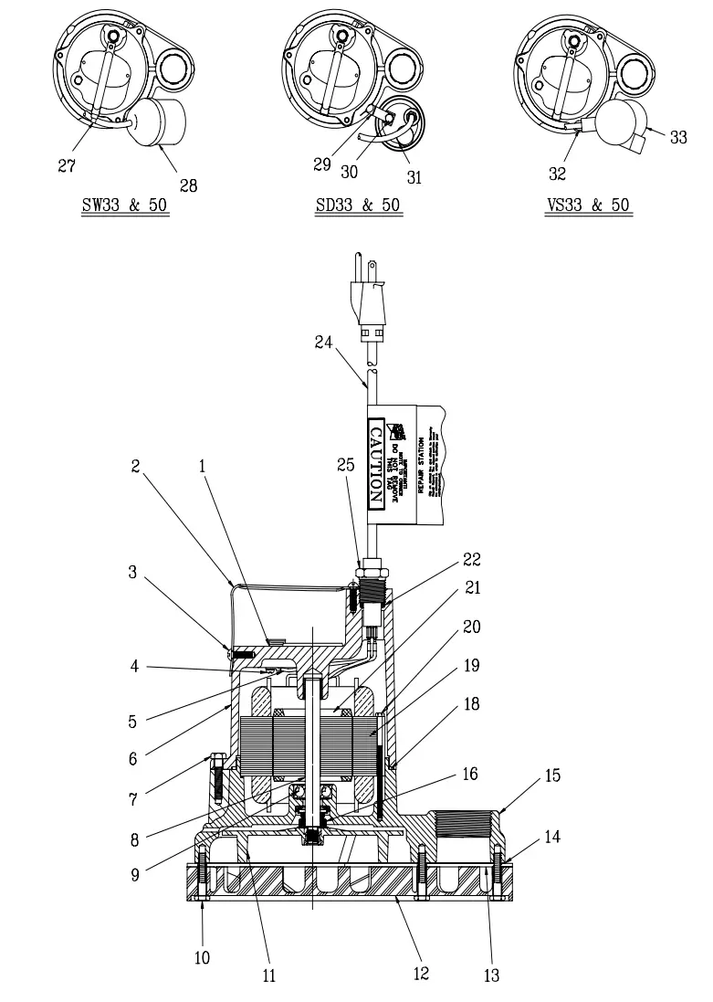
SW/SD/VS33 & 50 Parts List



Limited Warranty
HYDROMATIC warrants to the original consumer purchaser (“Purchaser” or “You”) of HYDROMATIC Sump Pumps, Effluent Pumps, Sewage Pumps (other than 2- 1/2”), and Package Systems, that they will be free from defects in material and workmanship for the Warranty Period of 36 months from date of manufacture.
Our warranty will not apply to any product that, in our sole judgement, has been subject to negligence, misapplication, improper installation, or improper maintenance. Without limiting the foregoing, operating a three phase motor with single phase power through a phase converter will void the warranty. Note also that three phase motors must be protected by three-leg, ambient compensated, extra-quick trip overload relays of the recommended size or the warranty is void.
Your only remedy, and HYDROMATIC’s only duty, is that HYDROMATIC repair or replace defective products (at HYDROMATIC’s choice). You must pay all labor and shipping charges associated with this warranty and must request warranty service through the installing dealer as soon as a problem is discovered. No request for service will be accepted if received after the Warranty Period has expired. This warranty is not transferable.
EXCEPTIONS: Hydromatic Special Application Pumps, Battery Back-Up Sump Pumps, Filtered Effluent Pumps, Grinder Pumps, and 2-1/2” Sewage Pumps are warranted for a period of 12 months from date of purchase or 18 months from date of manufacture, whichever comes first.
HYDROMATIC SHALL NOT BE LIABLE FOR ANY CONSEQUENTIAL, INCIDENTAL, OR CONTINGENT DAMAGES WHATSOEVER.
THE FOREGOING LIMITED WARRANTIES ARE EXCLUSIVE AND IN LIEU OF ALL OTHER EXPRESS AND IMPLIED WARRANTIES, INCLUDING BUT NOT LIMITED TO IMPLIED WARRANTIES OF MERCHANTABILITY AND FITNESS FOR A PARTICULAR PURPOSE. THE FOREGOING LIMITED WARRANTIES SHALL NOT EXTEND BEYOND THE DURATION PROVIDED HEREIN.
Some states do not allow the exclusion or limitation of incidental or consequential damages or limitations on the duration of an implied warranty, so the above limitations or exclusions may not apply to You. This warranty gives You specific legal rights and You may also have other rights which vary from state to state.
This Limited Warranty is effective June 1, 2011 and replaces all undated warranties and warranties dated before June 1, 2011.
HYDROMATIC
293 Wright Street, Delavan, WI 53115
Phone: 888-957-8677
Fax: 800-426-9446
Web Site: hydromatic.com




















