Rockford Fosgate PMX-1 Punch Marine Digital Media Receiver with 2.3 Inch Dot Matrix LCD Display

Introduction
Dear Customer,
Congratulations on your purchase of the world’s finest brand of audio products. At Rockford Fosgate we are fanatics about musical reproduction at its best, and we are pleased you chose our product. Through years of engineering expertise, hand craftsmanship and critical testing procedures, we have created a wide range of products that reproduce music with all the clarity and richness you deserve.
For maximum performance we recommend you have your new Rockford Fosgate product installed by an Authorized Rockford Fosgate Dealer, as we provide specialized training through Rockford Technical Training Institute (RTTI). Please read your warranty and retain your receipt and original carton for possible future use.
Great product and competent installations are only a piece of the puzzle when it comes to your system. Make sure that your installer is using 100% authentic installation accessories from Rockford Fosgate in your installation. Rockford Fosgate has everything from RCA cables and speaker wire to power wire and battery connectors. Insist on it! After all, your new system deserves nothing but the best. To add the finishing touch to your new Rockford Fosgate image, order your Rockford accessories, which include everything from T-shirts to hats.
Visit our web site for the latest information on all Rockford products;
www.rockfordfosgate.com
or, in the U.S. call 1-800-669-9899 or FAX 1-800-398-3985. For all other countries, call +001-480-967-3565 or FAX +001-480-966-3983.
If, after reading your manual, you still have questions regarding this product, we recommend that you see your Rockford Fosgate dealer. If you need further assistance, you can call us direct at
1-800 669-9899. Be sure to have your serial number, model number and date of purchase available when you call.
PRACTICE SAFE SOUND
Continuous exposure to sound pressure levels over 100dB may cause permanent hearing loss. High powered auto sound systems may produce sound pressure levels well over 130dB. Use common sense and practice safe sound.
Safety
This symbol with “WARNING” is intended to alert the user to the presence of important instructions. Failure to heed the instructions could result in severe injury or death. This symbol with “CAUTION” is intended to alert the user to the presence of important instructions. Failure to heed the instructions could result in injury or unit damage. To prevent injury and damage to the unit, please read and follow the instructions in this manual. If you feel unsure about installing this system yourself, have it installed by a qualified Rockford Fosgate technician. Before installation, disconnect the battery negative (-) terminal to prevent damage to the unit, fire and/or possible injury.
FCC Compliance Statement
This equipment has been tested and found to comply with the limits for a Class B digital device, pursuant to part 15 of the FCC Rules. These limits are designed to provide more reasonable protection against harmful interference in a residential installation. Operation is subjected to the following two conditions: (1) This device may not cause harmful interference, and (2) the device must accept any interference received, including interference that may cause undesired operation. This equipment generates, uses, and can radiate radio frequency energy and, if not installed and used in accordance with the instructions, may cause harmful interference to radio communications. However, there is no guarantee that interference will not occur in a particular installation. If this equipment does cause harmful interference to radio or television reception, which can be determined by turning the equipment off and on, you are encouraged to try to correct the interference by one of the following measures:
- Reorient or relocate the receiving antenna.
- Increase the separation between the equipment and receiver.
- Connect the equipment into an outlet on a circuit different from that to which the receiver is connected.
- Consult the dealer or an experienced radio/TV technician for help.
Model PMX-1 Operating Voltage 10.5V – 16V Fuse Rating 20A Power Output 25 W X 4 @ 4 Ohms RMS 50 W x 4 @ 2 Ohms Peak
Max. RCA Output Voltage 4V Output Impedance 500Ω Frequency Response 20 – 20kHz FM Frequency Range 87.5MHz – 107.9MHz AM Frequency Range 530kHz – 1710kHz WB Frequency Range
162.40 – 162.55 (US & Canada)
Tuner Presets 18 FM / 12 AM / 6 WB Clock No Clock Display 2.3” Full Dot Matrix LCD Gorilla Glass Bluetooth 3.0+EDR, A2DP 1.3 USB Compatibility 2.0 USB Capacity 32 GB max, 255 Folders max, 999 Songs max
USB Output 1A Audio File Compatibility MP3, WMA
Design Features
Wiring Diagram
Installation / Mounting
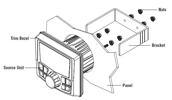
Contents
- Source Unit
- Trim Bezel
- Mounting Plate
- U Bracket
- Screws
- Power / Speaker Harness
- Installation & Operation Manual
Installation Considerations
The following is a basic list of tools needed for installation:
- Volt/Ohm meter
- Wire strippers
- Wire crimpers
- Wire cutters
- #2 Phillips screwdriver
- Battery post wrench
- Hand held drill w/ assorted bits
- Heat shrink tubing
- Soldering iron
- Solder
- Heat gun
- 7mm wrench
This section focuses on some of the vehicle considerations for installing your new source unit. Pre-planning your system layout and best wiring routes will save installation time. When deciding on the layout of your new system, be sure that each component will be easily accessible for making adjustments. If you feel unsure about installing this system yourself, have it installed by a qualified Rockford Audio technician. Before installation, disconnect the battery negative (-) terminal to prevent damage to the unit, fire and/or possible injury.
Before beginning any installation, follow these simple rules:
- Be sure to carefully read and understand the instructions before attempting to install the unit.
- For safety, disconnect the negative lead from the battery prior to beginning the installation.
- For easier assembly, we suggest you run all wires prior to mounting your unit in place.
- Route all of the RCA cables close together and away from any high current wires.
- Use high quality connectors for a reliable installation and to minimize signal or power loss.
- Think before you drill! Be careful not to cut or drill into gas tanks, fuel lines, brake or hydraulic lines, vacuum lines or electrical wiring when working on any vehicle.
- Never run wires underneath the vehicle. Running the wires inside the vehicle provides the best protection.
- Avoid running wires over or through sharp edges. Use rubber or plastic grommets to protect any wires routed through metal, especially the firewall.
- ALWAYS protect the battery and electrical system from damage with proper fusing. Install the appropriate fuse holder and fuse on the +12V power wire within 18” (45.7 cm) of the battery terminal.
- When grounding to the chassis of the vehicle, scrape all paint from the metal to ensure a good, clean ground connection. Grounding connections should be as short as possible and always be connected to metal that is welded to the main body, or chassis, of the vehicle. Seatbelt bolts should never be used for connecting to ground.
Mounting (Using Mounting Plate)
To mount the unit, you will need to find a flat surface with adequate clearance behind it that provides enough clearance for the unit and all it’s necessary wiring.
- Once you have determined a mounting location, you will need to cut a circular hole 3” (77mm) in diameter.
- After the hole is cut slide the unit and wiring through the hole.
- Slide the mounting plate over the backside of the unit and secure with the supplied screws.
- Press on the trim bezel to the front side of the unit.
- Plug in all wiring harnesses and cables. Refer to the wiring diagram for wire harness connection types.

Mounting (Using U Bracket)
To mount the unit, you will need to find a flat surface with adequate clearance behind it that provides enough clearance for the unit and all it’s necessary wiring.
- Once you have determined a mounting location, you will need to cut a circular hole 3” (77mm) in diameter.
- After the hole is cut slide the unit and wiring through the hole.
- Take the U bracket and slide over the two studs on the back of the unit. Tighten down with supplied nuts.
- Press on the trim bezel to the front side of the unit.
- Plug in all wiring harnesses and cables. Refer to the wiring diagram for wire harness connection types.

Settings

Source Unit Settings
To access the source unit’s settings, press and hold the MENU button until the options appear. Rotate the encoder to scroll through the list of settings and press the encoder button to select the setting you wish to change. (BALANCE>FADER>AUDIO>VOLTAGE GAUGE>BT PAIRING>BEEP>TUNER REGION>SOFTWARE>FACTORY DEFAULT) This source unit has a zero current draw when turned off. All of your settings and presets will be saved along with your boat’s battery during storage.
BALANCE
Press the encoder button to access BALANCE adjustment settings. Rotate the encoder button to set the output BALANCE.
FADER
Press the encoder button to access FADER adjustment settings. Rotate the encoder button to set the output FADER.
AUDIO
To access the AUDIO settings, press the AUDIO option from the MENU screen. Rotate the encoder to scroll through the list of settings and press the encoder button to select the setting you wish to change. (7 BAND EQ>CROSSOVER>PEQ>REAR RCA>AUX INPUT>SOURCE GAIN>INTERNAL AMPLIFIER)
7 BAND EQ
Press the encoder button to access the 7 BAND EQ settings. Use the rotary encoder to scroll through the EQ settings. (FLAT > ROCK > CLASSIC > ACOUSTIC > DANCE > ELECTRONIC > HIP-HOP > CUSTOM) When setting up the CUSTOM EQ, press the encoder button to set the first frequency. Once active, rotate the encoder to adjust the frequency settings. Press encoder button again to access the next frequency. Repeat until all EQ settings are complete. Press the MENU button to exit and go back up one level.
CROSSOVER
Press to access the CROSSOVER settings. Use the rotary encoder to select the crossover zone options (FRONT>REAR>SUB). Press the encoder to adjust the frequency of the crossover
(60Hz>80Hz>120Hz>APF). Press MENU to exit and go back up one level.
REAR RCA
Press to access the REAR RCA options. Use the rotary encoder to select options (LINE OUT>SUBWOOFER).
PUNCH EQ
Press to access the PUNCH EQ settings. Use the rotary encoder to adjust the gain output (0-12). Press MENU to exit and go back up one level. Punch EQ is an onboard equalizer with up to +18dB @ 45Hz and/or up to +12dB boost at 12.5kHz.
AUX INPUT
RENAME – To rename AUX, press the encoder button to set the first letter of the new name. Once active, rotate encoder to adjust letters. Press the encoder button again to set the next letter. Repeat until AUX has been renamed. Press MENU to exit and go back up one level.
ENABLE – Press the encoder button to access options. Rotate the encoder button to select if unit is discoverable. (ENABLE > DISABLE)
SOURCE GAIN
To adjust the level of device input gain, scroll through the inputs (FM TUNER>AM TUNER>WB TUNER>USB>AUX>BLUETOOTH) to the device you want to adjust, press the encoder button to access the gain settings. Rotate the encoder button to set the level of gain. (-3dB > -2dB > -1dB > 0dB > +1dB > +2dB > +3dB)
INTERNAL AMPLIFIER
Press to access the INTERNAL AMPLIFIER options. Use the rotary encoder to select options (ON>OFF). When using an amplifier to power your speakers, select OFF. If you are powering your speakers directly from the source unit, select the INTERNAL AMPLIFIER to ON.
VOLTAGE GAUGE
To display the vehicle voltage, press the encoder button on the VOLTAGE GAUGE option.
BT DEVICE PAIRING
Press the encoder button to access options (DISCOVERABLE > DEVICE).
DISCOVERABLE
Rotate the encoder button to select if unit is discoverable for pairing. (ENABLE > DISABLE) Once enabled, the source unit is now discoverable and ready for pairing to your device. Open the Bluetooth settings on your device to find the source unit labeled “Rockford PMX” and select.
DEVICE
Selecting DEVICE by pressing the encoder button will allow you to rename the source unit with up to 16 characters. This gives you the ability to have a unique name for easy identification during device pairing. Press the encoder button to select the letter to be changed and rotate the knob to change the value. Repeat process until desired name is reached.
BEEP
Press the encoder button to access the BEEP options. Rotate the encoder button to turn system beep ON/ OFF.
TUNER REGION
To adjust, press the encoder button to access. Rotate the encoder button to select the TUNER REGION of your preference. (EUROPE > USA > RUSSIA > LATIN > ASIA > JAPAN > MIDEAST > AUSTRALIA)
CONTRAST RATE
To adjust the CONTRAST RATE, press the encoder to access the feature. Rotate the encoder button to select the desired amount of contrast to be displayed (1-10)
BRIGHTNESS
To adjust the BRIGHTNESS of the display, press the encoder to access the feature. Click the encoder to select dimmer low then rotate the encoder to select the desired low brightness (1-10). Press encoder to lock it in then roate the encoder to select dimmer high. Press on dimmer high and select the desired high brightness (1-10) by rotating then pressing the encoder once more to lock in the value. Now when the bottom left dimmer button of the source unit is pressed, it will toggle the display between the dimmer low value set and the dimmer high value set.
REMOTE SETUP
Press the encoder button to enter the REMOTE SETUP menu. Press the encoder button to enter the local info. It will display the source unit’s model number, I.D. number, Revision, and if the flash is up to date. Press the encoder button to return to REMOTE SETUP menu. Rotate then press the encoder button to enter the device pairing menu. Follow directions displayed on the source unit to complete pairing. Press the menu button to return to the REMOTE SETUP menu and rotate then press the encoder button to enter the Head Unit Reset to clear the memory and restore it to factory settings. Once a remote is paired to the unit DISCONNECT will also be displayed in the REMOTE SETUP menu. To disconnect a paired remote, rotate then press the encoder button on disconnect.
SOFTWARE
VERSION – Press the encoder button to display the current firmware version of the unit.
UPDATE – Press the encoder button to update the firmware. Follow the instructions on the screen when updating.
FACTORY DEFAULT
AUDIO – Press the encoder button to access. Rotate the encoder button to select YES/NO. Selecting YES will reset your unit back to factory default settings.
SYSTEM – Press the encoder button to access. Rotate the encoder button to select YES/NO. Selecting YES will reset your unit back to factory default settings.
Basic Operation
TURNING THE UNIT ON / OFF
Press and hold the SRC (Power) button to turn the unit ON or OFF
ADJUSTING THE VOLUME
Rotate encoder knob left or right to desired volume level (0-40). The current volume level will be displayed during adjustment.
ADJUSTING THE SUBWOOFER OUTPUT
Press the SUB + or SUB- buttons to adjust the output level (0-20).
ADJUSTING THE SCREEN BRIGHTNESS
Press the SCREEN BRIGHTNESS button to adjust the brightness level. There are two brightness levels.
SELECTING A SOURCE TO PLAY
Press the SRC button to show the different source options (FM TUNER>AM TUNER>WB TUNER>USB>AUX>BLUETOOTH). Use the rotary encoder or press the SRC button to scroll through sources.
Tuner Operation (FM/AM/WB)

To operate, use the rotary encoder to select the tuner source you want to listen to (FM>AM>WB). To AUTO SEEK stations, press the FWD and REV buttons. To MANUAL SEEK stations, press and hold the FWD and REV buttons to tune to the desired frequency. To MUTE the TUNER, press the PLAY/PAUSE button.
FM BAND SETTINGS
To access the FM BAND SETTINGS, press the MENU when using the FM TUNER source. This will give you access to the settings specific to the FM TUNER (FM>PRESETS>ADD PRESETS>REMOVE PRESETS>AUTO STORE>LOCAL).
PRESETS
Press the encoder button to access the PRESETS list. Using this feature allows you to see what PRESETS are saved on the unit.
ADD PRESETS
Press the encoder button on the ADD PRESETS option. You will need to be on both the station and PRESET group you want to add first (FM1>FM2>FM3). Using this feature allows you to save stations to the unit. Once selected, use the rotary encoder to select the PRESET number (1-6) you want the station saved to.
REMOVE PRESETS
Press the encoder button on the REMOVE PRESETS option. You will need to be under the PRESET group you want to adjust first (FM1>FM2>FM3). Using this feature allows you to remove saved stations on the unit. Once selected, use the rotary encoder to select the PRESET number (1-6) of the station you want removed.
FM
Press the encoder button to access the FM PRESET options (FM1>FM2>FM3). Using this feature allows you to have separate tuner preset groups to choose from. Use the rotary encoder button to scroll through the TUNER groups and press to select the group.
AUTO STORE
Press the encoder button to access the AUTO STORE function. You will need to be under the PRESET group you want to adjust first (FM1>FM2>FM3). This feature automatically stores presets on the unit. It will stop when presets 1-6 are set. Select the next PRESET group and repeat to fill next set.
LOCAL
Press the encoder button to access the LOCAL options. Once selected, use the rotary encoder to select ON or OFF. The local option tunes to nearby radio stations with sufficiently strong signals for good reception. In areas where reception is poor, switching to distance tuning enables the unit to tune in to more distant stations. Distance tuning is the default.
AM BAND SETTINGS
To access the AM BAND SETTINGS, press the MENU when using the AM TUNER source. This will give you access to the settings specific to the AM TUNER (AM>PRESETS>ADD PRESETS>REMOVE PRESETS>AUTO STORE>LOCAL).
PRESETS
Press the encoder button to access the PRESETS list. Using this feature allows you to see what PRESETS are saved on the unit.
ADD PRESETS
Press the encoder button on the ADD PRESETS option. You will need to be on both the station and PRESET group you want to add first (AM1>AM2). Using this feature allows you to save stations to the unit. Once selected, use the rotary encoder to select the PRESET number (1-6) you want the station saved to.
REMOVE PRESETS
Press the encoder button on the REMOVE PRESETS option. You will need to be under the PRESET group you want to adjust first (AM1>AM2). Using this feature allows you to remove saved stations on the unit. Once selected, use the rotary encoder to select the PRESET number (1-6) of the station you want removed.
AM
Press the encoder button to access the FM PRESET options (AM1>AM2). Using this feature allows you to have separate tuner preset groups to choose from. Use the rotary encoder button to scroll through the TUNER groups and press to select the group.
AUTO STORE
Press the encoder button to access the AUTO STORE function. You will need to be under the PRESET group you want to adjust first (AM1>AM2). This feature automatically stores presets on the unit. It will stop when presets 1-6 are set. Select the next PRESET group and repeat to fill next set.
LOCAL
Press the encoder button to access the LOCAL options. Once selected, use the rotary encoder to select ON or OFF. The local option tunes to nearby radio stations with sufficiently strong signals for good reception. In areas where reception is poor, switching to distance tuning enables the unit to tune in to more distant stations. Distance tuning is the default.
WB BAND SETTINGS
To access the WB BAND SETTINGS, press the MENU when using the WB TUNER source. This will give you access to the settings specific to the WB TUNER (PRESETS>ADD PRESETS>REMOVE PRESETS).
PRESETS
Press the encoder button to access the PRESETS list. Using this feature allows you to see what PRESETS are saved on the unit.
ADD PRESETS
Press the encoder button on the ADD PRESETS option. You will need to be on both the station you want to add first. Using this feature allows you to save stations to the unit. Once selected, use the rotary encoder to select the PRESET number (1-6) you want the station saved to.
REMOVE PRESETS
Press the encoder button on the REMOVE PRESETS option. You will need to be under the PRESET group you want to adjust first (AM1>AM2). Using this feature allows you to remove saved stations on the unit. Once selected, use the rotary encoder to select the PRESET number (1-6) of the station you want removed.
USB Operation
After your device is connected to the source unit, this feature allows you to control playback from a USB flash drive directly from the unit. Select the USB source option on the source unit. To play or pause a song, press the PLAY/PAUSE button. To skip a track forward, press the FWD button. To skip a track backwards, press the REV button. To access USB specific settings, press the MENU button for the list of settings (BROWSER>REPEAT>SHUFFLE). Use the encoder to select the option to change.
BROWSER
Press the encoder button to access the media that is stored on the USB flash drive. Using this feature allows you to search for tracks or songs by different types of categories.
REPEAT
Press the encoder button to access the REPEAT feature options (OFF>ONE>ALL).
SHUFFLE
Press the encoder button to access the SHUFFLE feature options (OFF>ALL). This feature allows you to set your preference on shuffling tracks or songs.
NOTE: When using a USB extension cable, it must be a Rockford Fosgate powered extension cable. The maximum distance for the cable is 33 feet (10 meters)
AUX Operation
After your device is plugged into the source unit, this feature allows you to play music from your device. Select the AUX source option on the source unit and use your plugged in device to control song/track selection, PLAY/PAUSE and track skip FWD/REV.
Bluetooth® Operation

After your device is paired to the source unit, this feature allows you to control playback from your device directly from the unit. Select the BLUETOOTH source option on the source unit. To play or pause a song, press the PLAY/PAUSE button. To skip a track forward, press the FWD button. To skip a track backwards, press the REV button. To access BLUETOOTH specific settings, press the MENU button for the list of settings (BROWSER>REPEAT>SHUFFLE). Use the encoder to select the option to change.
BROWSER
Press the encoder button to access the BROWSER options (PLAYLISTS >ARTISTS>ALBUMS>GENRES>SONGS>COMPOSERS>AUDIOBOOKS> PODCASTS). Using this feature allows you to search for tracks or songs by different types of categories.
REPEAT
Press the encoder button to access the REPEAT feature options (OFF>ONE>ALL). This feature allows you to set your preference on the amount of times a track or song will repeat.
SHUFFLE
Press the encoder button to access the SHUFFLE feature options (OFF>ALL). This feature allows you to set your preference on shuffling tracks or songs.
PMX-BTUR Function Table
| Phone Control | PMX-1 Control | |||||||||||
| Button | Short Press | Long Press | Tuner+Weather Band | USB/MP3/WMA | AUX-IN | Iphone/iPod | BT AUDIO | |||||
| Short Press | Long Press | Short Press | Long Press | Short Press | Long Press | Short Press | Long Press | Short Press | Long Press | |||
| 1 | Volume + | Ramp Volume+ | Volume + | Ramp Volume+ | Volume + | Ramp Volume+ | Volume + | Ramp Volume+ | Volume + | Ramp Volume+ | Volume + | Ramp Volume+ |
| 2 | Volume – | Ramp Volume- | Volume – | Ramp Volume- | Volume – | Ramp Volume- | Volume – | Ramp Volume- | Volume – | Ramp Volume- | Volume – | Ramp Volume- |
| 3 | Play /Pause | Hand Free (IOS ONLY) | MUTE(Enter ) | Play /Pause(Enter ) | MUTE(Enter ) | Play /Pause(Enter ) | Play /Pause (Enter) | |||||
| 4 | Previous | Rewind | Previous | Rewind | Previous | Rewind | Previous | Rewind | Previous | Rewind | ||
| 5 | Next | Fast Forward | Next | Fast Forward | Next | Fast Forward | Next | Fast Forward | Next | Fast Forward | ||
| 6 | Call Answer (IOS ONLY ) Call Hang Up (IOS ONLY ) | Call Reject (IOS ONLY) Siri | SRC/Power on | Power o | SRC/Power on | Power Off | SRC/Power on | Power off | SRC/Power on | Power o | SRC/Power on | Power o |
Troubleshooting
| Symptom | Diagnosis | Remedy |
| Basic | ||
|
Source unit does not turn on. | Blown fuse | Check fuse of the unit, replace with correct rating. |
| Vehicle’s ignition is off | If connected following the instructions, the unit will not operate with ignition off. | |
| Voltage applied to Red wire is not between 10.5 & 16 volts or there is no voltage present | Check battery, connections and fuses and repair or replace as necessary. If voltage is above +16 volts, have the electrical system inspected by an authorized service center. | |
| Unit is not properly grounded | Check wiring and repair as necessary. | |
| Radio Tuner | ||
| Tuner fails to tune any stations | No antenna or disconnected or open connection in cable | Check all connections and repair as necessary. |
| Unable to tune stations in seek mode | You are in a weak signal area | Make sure the tuner LOC mode is off. |
| USB Devices | ||
|
USB device cannot be inserted | The USB device has been inserted in the wrong direction | Reversing the connection direction of the USB device, try reinserting. |
| The USB device connector is broken | Replace with a new USB device. | |
| USB device is not recognized | The USB device is damaged | Disconnect USB device and reconnect. If the device is still not recognized, try replacing with a different USB device. USB does not work with Android® and Apple® devices. |
| Connectors are loose | ||
| No sound heard with the display “No File” shown | No MP3/WMA files are stored on the USB device | Store these files properly on the USB device. USB does not work with Android® and Apple® devices. |
| Sound skips or is noisy | MP3/WMA files are not created properly | Use MP3/WMA files that are encoded correctly. |
| AUX | ||
| MP3 is not playing back | Writing error occurred. The MP3 format is not compatible. | Make sure MP3 has been written in a supported format |
Warranty
Rockford Corporation offers a limited warranty on Rockford Fosgate products on the following terms:
Length of Warranty
- POWER Amplifiers – 2 Years
- BMW® Direct Fit Speakers – 2 Years
- PUNCH® & PRIME® Amplifiers – 1 Year
- Speakers, Signal Processors, Accessories and Capacitors – 1 Year
All marine, motorcycle, motorsport products – 2 Years Any Factory Refurbished Product – 90 Days (receipt required)
What is Covered
This warranty applies only to Rockford Fosgate products sold to consumers by authorized Rockford Fosgate dealers in the United States of America. Products purchased by consumers from an Authorized Rockford Fosgate Dealer in another country are covered only by that country’s Distributor and not by Rockford Corporation.
Who is Covered
This warranty covers only the original purchaser of Rockford product purchased from an authorized Rockford Fosgate dealer in the United States. In order to receive service, the purchaser must provide Rockford with a copy of the receipt stating the customer name, dealer name, product purchased and date of purchase. Products found to be defective during the warranty period will be repaired or replaced (with a product deemed to be equivalent) at Rockford’s discretion.
What is Not Covered
- Damage caused by accident, abuse, improper installation, operations, theft, water (on non-Element Ready products).
- Any cost or expense related to the removal or reinstallation of product.
- Service performed by anyone other than Rockford or an authorized Rockford Fosgate service center.
- Any product which has had the serial number defaced, altered, or removed.
- Subsequent damage to other components.
- Any product purchased outside the U.S.
- Any product not purchased from an authorized Rockford Fosgate dealer. Refer to rockfordfosgate.com dealer locator for more detail.
Limit on Implied Warranties
Any implied warranties including warranties of fitness for use and merchantability are limited in duration to the period of the express warranty set forth above. Some states do not allow limitations on the length of an implied warranty, so this limitation may not apply. No person is authorized to assume for Rockford Fosgate any other liability in connection with the sale of the product.
How to Obtain Service
Please call 1-800-669-9899 for Rockford Customer Service. You must obtain an RA# (Return Authorization number) to return any product to Rockford Fosgate. You are responsible for shipment of product to Rockford.
EU Warranty
This product meets the current EU warranty requirements, see your Authorized dealer for details.























