
![]()
PHEHT NUMERICAL SENSOR
User manual

General
In order to maintain and ensure the good working order of the PHEHT sensor, users must comply with the safety precautions and warnings featured in this manual.
Assembly and activation:
- Assembly, electrical connection, activation, operation and maintenance of the measuring system must only be carried out by specialist personnel authorized by the user of the facilities.
- Trained personnel must be familiar with and comply with the instructions in this manual.
- Make sure the power supply complies with the specifications before connecting the device.
- A clearly-labeled power switch must be installed near the device.
- Check all connections before turning the power on.
- Do not attempt to use damaged equipment: it may represent a hazard and should be labeled as faulty.
- Repairs must only be carried out by the manufacturer or by AQUALABO CONTROL’s after-sales service department.
➢ Marking on the body of the sensor:
The marking on the body of the sensor indicates the serial number of the sensor (for the traceability) and the LOGO CE.

| 1 | Datamatrix (contains the serial number) |
| 2 | Serial number PHEHT sensor : SN-PPHRX-YYYY X: version YYYY: number |
| 3 | CE mark |
Characteristics
Technical characteristics.
The technical characteristics can be modified without advance notice.
| pH | |
| Measure principle | pH/ Redox : Potentiometric measure ; pH : pair of electrodes with a reference (Ag/AgCI gel) / I-130′ ions sensitive glass Redox : pair of electrodes with a reference (Ag/AgCI gel) /platinum disk Temperature: NTC |
| Range | 0 —14 pH |
| Resolution | 0,01 pH |
| Accuracy | +/- 0,1 pH |
| Redox | |
| Measure principle | Combined electrode (Redox/reference) : Platinum tip, Aq/AqCI. Gelled reference (KCI) |
| Range | – 1000 to + 1000 mV |
| Resolution | 0,1 mV |
| Accuracy | ± 2 mV |
| Temperature | |
| Technology | NTC |
| Range | 0,00 °C to + 50,00°C |
| Resolution | 0,01 °C |
| Accuracy | ± 0,5 °C |
| Response time | < 5 s |
| Storage temperature | 0°C to + 60°C |
| Sensor | |
| Dimensions | Diameter : 27 / 21 mm ; Leright : 207 mm |
| Weight | 350 q (sensor + 3 m cable) |
| Wetted material | Body (electronic part) and clamp in PVC. Cartridge in DELRIN, Special pH glass, platinium, Inox 316L (protective sleeve of the temperature probe) Cable: polyurethane jacket Steam gland: Polyamide Patch with active material (black) — DO DISK: Optical isolation silicon |
| Safteway | The glass electrode is vulnerable to: – chemicals (organic solvents, acids and strong bases, peroxide, hydrocarbons), – mechanical treatments (impacts). The redox potential electrode is sensitive to sulphide adsorption on platinum. |
| Maximum pressure | 5 bars |
| IP classification | IP68 |
| Connection | 9 armoured connectors, polyurethane jacket, bare-wires or waterproof Fisher connector |
| Sensor cable | Standard: 3, 7 and 15 m (other length on request). 100 m Max. Up to 100 m with junction box. |
| Communication — Power supply | |
| Signal interface | Modbus RTU RS-485 and SDI-12 |
| Power requirements | 5 to 12 volts for cable 0-15 m 7 to 12 volts for cable >15 m Max. 13.2 V |
| Consumption | Standby: 25pA Average RS485 (1 measure/seconde): 3,9 mA Average SDI12 (1 measure/seconde): 6,8 mA Current pulse: 500 mA Heating time: 100 mS Protection against the inversions of polarity |
CE compliance.
Pursuant to the article 11 of the directive 89 / 336 / EEC relative to the electromagnetic compatibility.
We declare that the digital sensor of the range DIGISENS sensor PHEHT was tested and declared in compliance with the European standards : Standard tests: EN 61326-1 edition 2013
Emission – EMC EN 55022 Class B
Immunity – EN 61000-4-3 A
EN 61000-4-2 B
EN 61000-4-6 A
EN 61000-4-4 B
Shone disturbances: EN 55011B
Identification of the measurement process: composed of :
1- one probe
2- Ponsel’s cable.
EN 61000-4-5 Not concerned for sensors with a cable lower or equal to 30 M
Commercial name: DIGISENS range
Manufacturer
AQUALABO
90, Rue du Professeur P. Milliez
94506 Champigny sur Marne
Responsible UE :
AQUALABO
90, Rue du Professeur P. Milliez
94506 Champigny sur Marne
Description.
Product overview
The combined sensor PHEHT is based on a principle of measure of difference of potential between a reference electrode (Ag/AgCl) and an electrode of measure (Special pH glass for the measure of pH, and a ring of platinum for the ORP measurement).
The returned measure is given for a temperature of 25 °.
The PHEH sensor has been designed to perform under hard conditions from pure mountains water with conductivity as low as 20 µS/cm, lakes and rivers (100 – 2000 µS/cm), seawater with conductivities of 50 mS/cm, and to wastewater with conductivity higher than 200 mS/cm. This sensor features a “long life” reference. The Plastogel® PONSEL technology increase the lifetime of the probe the need to refill. This sensor has been designed also for handheld and in situ applications which have been the most difficult situations for a pH/ORP sensor in term of sensor resistance, quick time response, minimal flow dependence, and low power consumption. The sensor features excellent interference immunity thanks to the integrated preamplifier and digital signal processing. The measured value for pH is automatically compensated with the temperature and transferred without interference to the connected display unit and controller via a digital interface. The cartridge is easy to replace, meaning the sensor is very easy to maintain. The current calibration data is saved directly in the sensor electronics. As a result, the Plug and Play function of the system is enabled without the need for recalibration. The sensor also includes a log book ontaining the last ten successful calibrations in the form of a ring buffer.
Applications
The compact and robust sensor is particularly well suited to the following typical areas of application:
- Industrial and municipal sewage treatment plants
- Wastewater management (nitrification and de-nitrification)
- Surface water monitoring
- Drinking water monitoring
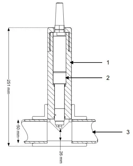
Construction and dimensions.

- Strainer of protection
- Cartridge (consumable part)
- Clamp
- Sensor body with measurement electronics
- Cable bushing
- Securely connected connection cable

Communication.
Modbus RTU registers.
The link protocol must correspond to MODBUS RTU.
See document:
- Modbus_over_serial_line_V1_02.pdf
- Modbus_Application_Protocol_V1_1a.pdf
- Modbus memory for PONSEL digital Sensors : SENSOR_TramesCom_xxx_UK.xls (refer to http://www.ponselweb.com/)
The Modbus memory plane is identical for each parameter of the Sensors.
The Modbus protocol for the Sensors allows you to measure the parameter (+ temperature) of the Sensor and to calibrate the parameter (+ temperature). Furthermore, there are certain numbers of functions such as:
- Select the averaging value
- Read the Sensor description
- Return to default coefficients
- Modify the Sensor address
- Information on measures conducted (Out Of Specification measures, measures in progress, etc.).
- Date and name of the operator who performed the calibration
- etc.
To have more information on the open PONSEL’s Modbus protocol please consult the last version of the following documents :
- the pdf file : Modbus_SpecificationsVxxx-EN
- the excel file : Digital sensor Frame_XXX_UK
SDI12 frame.
A list of SDI12 registers is available for network communication. Refer to http://www.ponsel-web.com/ for more information.
Temperature Compensation
The pH measurement is dependent on parameters:
- The temperature of the measurement medium This dependency is stored in the sensor’s measurement electronics in the form of functions. The sensor can therefore determine the pH of the measurement medium, in order to digitally transmit the influencing factors above, in compensated form, to the transmitter/controller.
The temperature compensation is automatic and managed directly by the sensor via the integrated sensor of temperature (NTC).
Sampling rate
PHEHT sensors do not carry out any continuous measurements but it is possible to have a measure all 500 mS.
Installation.
Sensor installation option
For the installation of the sensors in condition of immersion or in-pipe insertion, we advise to use accessories adapted and proposed by AQUALABO.
Accessories for immersion installation.
In immersion condition, it is necessary to maintain the sensor by the body and not to leave the sensor suspended by the cable at the risk of damaging the sensor
AQUALABO proposes a range or pole (short and long version) in order to install the sensor in open basins. It can be positioned a considerable distance from the basin edge with the bracket suspended on a chain, for example.
Please note the following when planning your set-up:
- The fitting must be easily accessible to allow the sensor or the fitting itself to be maintained and cleaned regularly
- Do not allow the fitting (and thus also the sensor) to swing against and hit the basin edge
- When working with systems involving pressure and/or temperature, ensure that the fitting and sensor meet all relevant requirements
- The system designer must check that the materials in the fitting and sensor are suitable for the measurement (chemical compatibility, for instance)
| Material | PVC |
| Admissible temperature | 0 to 60 °C |
| Pressure max. | 5 bars |
➢Short pole

The short pole is available in 2 versions :
- version with elbowed shutter. The nozzle of support is included in the offer.
PF-ACC-C-00266 STRAIGHT SHORT POLE FOR OPTOD SENSOR (1495 mm, ELBOWED SHUTTER) PF-ACC-C-00267 STRAIGHT SHORT POLE FOR PHEHT SENSOR (1495 mm, ELBOWED SHUTTER) PF-ACC-C-00268 STRAIGHT SHORT POLE FOR C4E/NTU SENSOR
(1495 mm, ELBOWED SHUTTER) - version with shutter for mounting with chain The nozzle of support is included in the offer.
| PF-ACC-C-00269 | STRAIGHT SHORT POLE FOR OPTOD SENSOR (1550 mm, RING SHUTTER) |
| PF-ACC-C-00270 | STRAIGHT SHORT POLE FOR PHEHT SENSOR (1550 mm, RING SHUTTER) |
| PF-ACC-C-00271 | STRAIGHT SHORT POLE FOR C4E/NTU SENSOR (1550 mm, RING SHUTTER) |
➢Long pole
The long poles are available in elbow version, for installations in aeration basin, and straight, for applications in open channel. Every pole is equipped with an elbowed shutter and with waterproofness joints. The lower part includes a nozzle which is adapted to the sensor what assures its mechanical support.

- Elbowed pole with elbowed shutter
PF-ACC-C-00230 90° ELBOW LONG POLE FOR OPTOD SENSOR (2955 mm, ELBOWED SHUTTER) PF-ACC-C-00261 90° ELBOW LONG POLE FOR PHEHT SENSOR (2955 mm, ELBOWED SHUTTER) PF-ACC-C-00262 90° ELBOW LONG PERCH FOR C4E/NTU SENSOR (2955 mm, ELBOWED SHUTTER) - Straight long pole with elbowed shutter
PF-ACC-C-00263 STRAIGHT LONG POLE FOR OPTOD SENSOR (2745 mm, ELBOWED SHUTTER) PF-ACC-C-00264 STRAIGHT LONG POLE FOR PHEHT SENSOR (2745 mm, ELBOWED SHUTTER) PF-ACC-C-00265 STRAIGHT LONG POLE FOR C4E/NTU SENSOR (2745 mm, ELBOWED SHUTTER)
➢Mounting accessories for pole.
The elements of fixation for the poles are flexible and specially studied to adapt themselves to the different configurations of assembly.

- Pole kit fixation
| NC-ACC-C-00009 | POLE FIXATION KIT FOR NUMERICAL SENSOR (ON LOW WALL) |
| NC-ACC-C-00010 | POLE FIXATION KIT FOR NUMERICAL SENSOR (ON LIFE LINE) |
| NC-ACC-C-00011 | POLE FIXATION KIT FOR NUMERICAL SENSOR (ON VERTICAL AXIS) |
| PF-ACC-C-00272 | VERTICAL AXIS FOR NUMERICAL SENSOR POLE (TO BE FIXED ON SOIL) |

- Accessories kit for assembly of poles with chain.
| NC-ACC-C-00012 | SHORT POLE FIXATION KIT FOR NUMERICAL SENSOR (ON LOW WALL) |
| NC-ACC-C-00013 | SHORT POLE FIXATION KIT FOR NUMERICAL SENSOR (ON LIFE LINE) |
| NC-ACC-C-00014 | SHORT POLE FIXATION KIT FOR NUMERICAL SENSOR (ON VERTICAL AXIS) |
Accessories for PVC pipe-mounting
Every system of assembly is delivered with an adapter (and the appropriate joints) and one T of assembly (90 ° for PHEHT sensor) to stick on a 50 mm diameter pipe. Its special design type ensures the correct inflow to the sensor, thus preventing incorrect measurements. Please note the following when planning your piping set-up:
- The fitting must be easily accessible to allow the sensor or the fitting itself to be maintained and cleaned regularly
- We recommend bypass measurements. It must be possible to remove the sensor through the use of shut-off valves
- When working with systems involving pressure and/or temperature, ensure that the fitting and sensor meet all relevant requirements
- The system designer must check that the materials in the fitting and sensor are suitable for the measurement (chemical compatibility, for instance)
Mounting system for PHEHT sensor (PF-ACC-C-00225)
- adapter
- PHEHT sensor
- 50 mm pipe diameter
Accessories for stainless steel pipe-mounting
The accessories of assembly for stainless pipe are proposed with an adapter and its joints with or without the systems of clamp / Nipple. The acceptable maximum pressure for the sensors is 5 bars. The system of assembly can be delivered with or without stainless steel clamp. The adapter is compatible with a 51 mm diameter external clamp
Mounting system for PHEHT sensor (PF-ACC-C-00228)
- adapter
- PHEHT sensor
- Clamp
- Nipple to weld
Installation of the sensor in the accessories of assembly
Insertion in a pole.
The sensor is mounted on the relevant fitting as described below, using a sensor holder, which can be used both for the short and long pole:

- Remove the protective cap on the sensor and insert the sensor (2) into the nozzle (1) as far as the stop..
- Insert the sensor cable into the fitting pipe (6) and completely feed through.

- Screw the sensor holder with the union nut (5) onto the fitting pipe (6) and tighten until handtight.
Insertion into the PVC in-pipe mounting system.

- Unscrew the union nut (3) from the PVC flow fitting (1).
- Guide the sensor cable through the union nut on the fitting.
- Insert the sensor (2) into the fitting as far as the position shown in the middle image above.
- Screw the union nut onto the fitting as far as the stop.
Insertion into the Stainless steel in-pipe mounting system.

- After welding the clamp on the stainless steel pipe, remove the clamp from the system and remove the PVC adapter.
- Unscrew the union nut from the adapter.
- Guide the sensor cable through the union nut on the adapter and insert the sensor with the mounted locking ring into the flow fitting as far as the stop
- Reposition the adapter in the nipple, and re-screw the union nut.
Electrical connections.
The sensor could deliver within version bare wire on 3, 7, 15 m or on other length (up to 100 m).
| Power supply | |
| Power requirements | 5 to 12 volts for cable 0-15 m 7 to 12 volts for cable >15 m Max. 13.2 V |
| Consumption | Standby: 25µA Average RS485 (1 measure/seconde) : 3,9 mA Average SDI12 (1 measure/seconde) : 6,8 mA Current pulse: 500 mA Heating time: 100 mS Protection against the inversions of polarity |
Wiring diagram

Cable length up to 15m
| 1- Red | Power supply V+ |
| 2 – Blue | SDI-12 |
| 3 – Black | Power supply V- |
| 4 – Green | B ” RS-485 “ |
| 5 – White | A ” RS-485 “ |
| 6 – Green/yellow | Cable shield with Power supply V- |
Cable lenght 15 to 100 meters
| Red Purple Yellow Orange pink | Power supply V+ |
| 2 – Blue | SDI-12 |
| 3 – Black | Power supply V- |
| 4 – Green | B ” RS-485 “ |
| 5 – White | A ” RS-485 “ |
| 6 – Green/yellow | Cable shield with Power supply V- |
Note :
Never exceed a voltage of 10VDC (absolute maximum rating) on communication lines RS485, A, or B, under penalty of irreversible destruction of the transceiver component RS 485. SDI-12: respect the voltage value described in the associated standard (nominal: 5 VDC) Always connect ground + shield first.
Startup and maintenance.
Initial startup
Once the sensor is connected to your terminal, the sensor is settled in its accessory of assembly and the parameterization has been carried out on the display unit, the sensor is ready for initial startup.
➢ Note :
For measurement, you must eliminate bubbles trapped under the pH glass bulb. During the introduction of the sensor in measurement environment, wait for sensor’s temperature stabilization before measure processing.
The glass electrode is vulnerable to:
- chemicals (organic solvents, acids and strong bases, peroxide, hydrocarbons),
- mechanical treatments (impacts). The redox potential electrode is sensitive to sulphide adsorption on platinum.
➢ Started:
Remove the black cap of protection (by holding the sensor head downward and by unscrewing the hood towards the right).
The sensor is delivered dry and the pH glass must be rehydrated so that the measures are optimized. After dry storage, rehydrate the pH bulb for a 12 hours period (one night) in a standard solution pH4 or in the cleaning solution delivered from AQUALABO Control (PF-CSO-C-00010).
Calibration
The sensor is calibrated to specification at the factory. The frequency of calibration depends of the application (depends on the fouling of the sensor, on the conductivity of the environment.).If calibration is required, let the sensor come to equilibrium with the process before calibration. Do not calibrate the sensor at setup.
After the cartridge is replaced, calibration should be carried out. It is also advisable to regularly clean the sensor in a cleaning solution (PF-CSO-C-00010) (see the chapter maintenance 5.3).
With two-point calibration, the zero point (offset with standard solution) and slope (second standard solution) of the sensor are calibrated. This calibration method offers the greatest possible level of accuracy and is particularly recommended.
pH calibration.
Offset calibration.
It is carried out as follows:
- The sensor beforehand cleaned (to see chapter maintenance 5.3) is immersed in a first standard solution (PH 7.01 at 25 °C for example) in order to determine the zero point (offset). Maintain the standard solution under agitation and wait that the sensor puts itself in equilibrium with the
temperature of the standard solution.
The pH of the standard solution varies with the temperature, note the temperature of the solution and refer to the board of variation of the pH according to the temperature to fix the pH value to be calibrated.
For example, for a standard solution pH 7.01 at 25 °C if the temperature of the standard solution is 20°C the value of the pH is 7.03.
| Standard PH 7.01 at 25°C | °C | °F | pH |
| 0 | 32 | 7. 13 | |
| 5 | 41 | 7.10 | |
| 10 | 50 | 7.07 | |
| 15 | 59 | 7.04 | |
| 20 | 68 | 7.03 | |
| 25 | 77 | 7.01 | |
| 30 | 86 | 7.00 | |
| 35 | 95 | 6.99 | |
| 40 | 104 | 6.98 | |
| 45 | 113 | 6.98 |
- Washing (with clear water) and drying the sensor with a soft cloth or an absorbent paper.
Slope calibration.
- Sensor slope is determined by positioning in a second pH buffer solution. Immerse the sensor in the selected standard solution, maintain the standard solution under agitation and wait that the sensor puts itself in equilibrium with the temperature of the standard solution.
The pH of the standard solution varies with the temperature, note the temperature of the solution and refer to the board of variation of the pH according to the temperature to fix the pH value to be calibrated.
For example, for a standard solution pH 4.01 at 25 °C if the temperature of the standard solution is 20°C the value of the pH is 4.00.
| Standard PH 4.01 at 25°C | °C | °F | pH |
| 0 | 32 | 4.01 | |
| 5 | 41 | 4.00 | |
| 10 | 50 | 4.00 | |
| 15 | 59 | 4.00 | |
| 20 | 68 | 4.00 | |
| 25 | 77 | 4.01 | |
| 30 | 86 | 4.02 | |
| 35 | 95 | 4.03 | |
| 40 | 104 | 4.04 | |
| 45 | 113 | 4.05 |
Check of the Redox potential.
Wedging of the offset.
The first step in the calibration is to set the offset by exposing the sensor to air. The default value of this calibration standard is set at 0 mV and cannot be changed. Wait for the stabilization of the measure and validate the point of calibration.
Validation of the slope.
Immerse the sensor in the selected standard solution (240 mV for example), maintain the standard solution under agitation and wait that the sensor puts itself in equilibrium with the temperature of the standard solution.
- Washing (with clear water) and drying the sensor with a soft cloth or an absorbent paper.
Maintenance
The maintenance schedule shows minimum intervals for regular maintenance tasks. Perform maintenance tasks more frequently for applications that cause electrode fouling.
Note: Do not disassemble the probe for maintenance or cleaning.
- The sensor must always be kept clean, particularly in the area around the pH bulb and the platinum disk (Redox measurement). The presence of a biofilm on the pH bulb can lead to measuring errors.
- For pH bulb, A dirty bulb should be cleaned with warm, soapy water.
- For the redox measurement, clean the platinum disk to optimize the measures of redox potential.
- If the sensor is put out of operation, it should be rinsed prior to being stored, and the protective cap should be fitted with the protective case and a moist absorbent surface (like cotton).
Cleaning.
Rinse meticulously the sensor and the bulb with clear water.
For pH glass: if deposits like biofilm or mud persist, put the sensor in a cleaning solution (1SN004) for a few hours and rinse profusely before use. Avoid using a soft cloth or an absorbent paper because the glass ball is extremely vulnerable to frictions.
For the Redox part, clean the platinum disk with an abrasive moist paper (type P1200 or P220) and rinse the electrode with clean water.
Change of the PHEHT cartridge.
The principle of measure integrates a reference electrode type Ag/AgCl, used for the measures of pH and ORP, into plasticized electrolyte saturated in KCl ” PLASTOGEL ” ® The electrolyte ” PLASTOGEL ” ® communicates directly with the outside environment without interposition of capillary or porous. There is thus no risk of closing or dismantling of the reference. Plastogel tends to become impoverished in KCl according to the use of the sensor PHEHT. When the Plastogel is exhausted, the probe does not answer any more the variations of pH and\or is very slow to stabilize. In that case, it is necessary to proceed to the change of the cartridge.
➢ Description of the sensor PHEHT :

The electronic part contains the cable of connection with standard measurement of 3, 7 or 15 meters (other lengths can be realized on inquiry).
The cartridge which is the replaceable element contains the special pH glass, the ORP and the Temperature. Protect the sensor when it is not used by means of the case of protection (d).
The clamp (b) is positioned between the electronics and the cartridge parts to make a united and waterproof system.
Step 1 : Dismantling of the sensor PHEHT.
Scheme 1: to remove the protective cap ( d ) from the probe PHEHT may maintain the electronic part (a) in a hand and undo the clamp (b) of the other hand (Scheme 2). Remove the clamp (Scheme 3) may hold the electronic part (a) in a hand and remove the cartridge with the other hand (Scheme 4)..

Step 2 : Reassembly of the PHEHT sensor.
Hold the electronic part in one hand, place the connector in the shape of half-moon of the new cartridge PHEHT (d) in front of the connector of the electronic part and fit both parts (Scheme 5).
Remove the case of protection then replace the clamp on the sensor by maintaining the sensor by the electronic part. End by tightening clamp
Proceed to a complete calibration to configure the sensor with his new cartridge.

AQUALABO After-Sales Service
AQUALABO 115 Rue Michel MARION 56850 CAUDAN FRANCE
Tel.: + 33 (0)4 11 71 97 41
AQUALABO
90 Rue du professeur P. Milliez
94506 Champigny sur Marne France
Tel.: +33(0)1 55 09 10 10
Version 1.2
Update: Mars 2021


















