AQUALABO VB5 Numerical Sensor 
General
In order to maintain and ensure the good working order of the MES5 or VB5 sensor, users must comply with the safety precautions and warnings featured in this manual.
Assembly and activation:
- Assembly, electrical connection, activation, operation and maintenance of the measuring system must only be carried out by specialist personnel authorized by the user of the facilities.
- Trained personnel must be familiar with and comply with the instructions in this manual.
- Make sure the power supply complies with the specifications before connecting the device.
- A clearly-labeled power switch must be installed near the device.
- Check all connections before turning the power on.
- Do not attempt to use damaged equipment: it may represent a hazard and should be labeled as faulty.
- Repairs must only be carried out by the manufacturer or by AQUALABO’s sales after service department.
Marking on the body of the sensor
The marking on the body of the sensor indicates the serial number of the sensor (for the traceability) and the LOGO CE. 
| 1 | Datamatrix (contains the serial number) |
| 2 | Serial number PHEHT sensor : SN-PTURAX- YYYY X : version YYYY : number |
| 3 | CE mark |
Characteristics
Technical characteristics.
The technical characteristics can be modified without advance notice.
| Suspended Solid measure | |
| Principle of measure | Optical IR (870 nm) based on IR absorption |
| Range of measure | SS : 0-50 g/L Turbidity : 0-4000 FAU Sludge blanket : 0-100 % |
| Resolution | SS : 0.01 g/L Turbidity : 0.01 à 1 FAU Sludge blanket : 0.01 à 0.1 % |
| Accuracy | SS< 10 % Turbidity : +/- 5% (range 200-4000 FAU) Sludge blanket : +/- 2% |
| Response time | < 35 secondes |
| Temperature measure | |
| Principle of measure | NTC |
| Working temperature | -5.00 °C to + 60,00°C |
| Resolution | 0,01 °C |
| Accuracy | +/- 0.5 °C |
| Storage Temperature | -10°C to + 60°C |
| Degree of protection | IP 68 |
| Singal Interface | Modbus RS-485 or SDI-12 |
| Refreshment of the measure | Maximum < 1 seconde |
| Power supply | 5 to 28 volts |
|
Consumption | Standby : 25 µA (5 V) Average RS485 (1 measure/seconde) : 4.5 mA (5V) Average SDI12 (1 measure/seconde) : 4.5 mA (5V) Curent Pulse : 100 mA during 30 mS Heating times : 100 mS |
| Sensor | |
| Weight | 750 g (sensor) |
| Material | DELRIN, Nickel-plated brass, EPDM |
| Pressure max. | 5 bars |
| Cable/ connexions | 9 armoured connectors, polyurethane jacket, bare-wires or waterproof Fisher connector |
CE compliance
Pursuant to the article 11 of the directive 89 / 336 / EEC relative to the electromagnetic compatibility.
We declare that the digital sensor of the range DIGISENS sensors MES5 & VB5 were tested and declared in compliance with the European standards :
- Standard tests : EN 61326-1 edition 2013
- Emission – EMC EN 55022 Class B
- Immunity –
- EN 61000-4-3 A|
- EN 61000-4-2 B
- EN 61000-4-6 A
- EN 61000-4-4 B
- Shone disturbances : EN 55011B
- Identification of the measurement process : composed of :
- one probe
- Ponsel’s cable.
EN 61000-4-5 Not concerned for sensors with a cable lower or equal to 30 M
- Commercial name : DIGISENS range
Manufacturer- AQUALABO
- Ponsel Brand
- 115 Rue Michel MARION
- 56850 CAUDAN
- Responsible UE : AQUALABO – Ponsel Brand 115 Rue Michel MARION 56850 CAUDAN
Description
Product overview
The principle of measure is based on the mitigation of the Infra-Red signal in 870 nm through an optical path of 5mm. The sensor delivers measures in Suspended Solid (g/l), Turbidity (FAU) and Sludge Blanket detection in % of transmission IR. For a better precision, the optics of the sensor are regulated in temperature. For a measure of Suspended Solid, the sensor is directly calibrated on the material to be measured (sample of sludge). In Turbidimeter version the sensor delivers measures on a range 0-4000 FAU (Formazine Attenuation Unit) and is calibrated with solutions of Formazine. The sensor stores its calibration data and history directly in the sensor electronics. This means that it can be used quickly anywhere without the need for constant recalibration. Finally, in sludge blanket detection the measure is delivered in % of transmission IR. Suitable fittings are required for the installation of the sensor, e.g. in order to prevent the influence of extraneous light and any possibly resulting measurement errors. Corresponding immersion, suspended, and flow fittings are available.
Applications
The compact and robust sensor is particularly well suited to the following typical areas of application:
- Urban Waste water treatment (Inlet/ sewage water (SS, Turbidity), Aeration basin (SS), Settling tank (sludge blanket), Outlet (Turbidity).
- Treatment of industrial effluents (Aeration basin (SS)), Clarifier (Sludge blanket), Outlet (Turbidity)
- Sludge treatment (Centrifugation)
- Dredging site (turbidity)
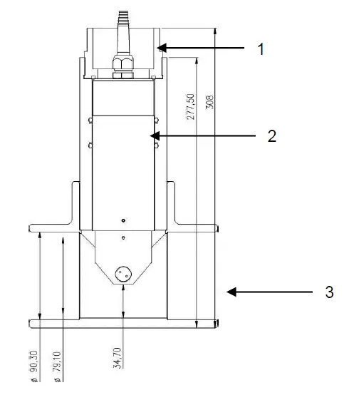
Construction and dimensions
- Optical window
- Temperature sensor
- Sensor body with measurement electronics
- Cable bushing
- Securely connected connection cable

Communication
Modbus RTU registers.
The link protocol must correspond to MODBUS RTU. See document:
- Modbus_over_serial_line_V1_02.pdf
- Modbus_Application_Protocol_V1_1a.pdf
- Modbus memory for PONSEL digital Sensors : SENSOR_TramesCom_xxx_UK.xls
The Modbus memory plane is identical for each parameter of the Sensors. The Modbus protocol for the Sensors allows you to measure the parameter (+ temperature) of the Sensor and to calibrate the parameter (+ temperature). Furthermore, there are certain numbers of functions such as:
- Select the averaging value
- Read the Sensor description
- Return to default coefficients
- Modify the Sensor address
- Information on measures conducted (Out Of Specification measures, measures in progress, etc.).
- Date and name of the operator who performed the calibration
- etc.
To have more information on the open PONSEL’s Modbus protocol please consult the last version of the following documents :
- the pdf file : Modbus_SpecificationsVxxx-EN
- the excel file : Digital sensor Frame_XXX_UK
SDI12 frame.
A list of SDI12 registers is available for network communication. For more information, consult the USB key with all documentation or the hotline service (see information at the end of the document).
Sampling rate
MES5 or VB5 sensors do not carry out any continuous measurements but it is possible to have a measure all 500 mS.
Installation
Sensor installation option
For the installation of the sensors in conditions of immersion or in-pipe insertion, we advise to use accessories adapted and proposed by AQUALABO.
Accessories for immersion installation.
In immersion condition, it is necessary to maintain the sensor by the body and not to leave the sensor suspended by the cable at the risk of damaging the sensor
AQUALABO proposes a range or pole (short and long version) in order to install the sensor in open basins. It can be positioned a considerable distance from the basin edge with the bracket suspended on a chain, for example. Please note the following when planning your set-up:
- The fitting must be easily accessible to allow the sensor or the fitting itself to be maintained and cleaned regularly
- Do not allow the fitting (and thus also the sensor) to swing against and hit the basin edge
- When working with systems involving pressure and/or temperature, ensure that the fitting and sensor meet all relevant requirements
The system designer must check that the materials in the fitting and sensor are suitable for the measurement (chemical compatibility, for instance)
| Material | PVC |
| Admissible temperature | 0 to 60 °C |
| Pressure max. | 5 bars |
Long pole
The long poles are available in elbow version, for installations in aeration basin, and straight, for applications in open channel. Every pole is equipped with an elbowed shutter and with waterproofness joints. The lower part includes a nozzle which is adapted to the sensor what assures its mechanical support. 
- Elbowed pole with elbowed shutter
PF-ACC-C- 00407
90° ELBOW LONG POLE FOR MES5/VB5 SENSOR (2955 mm, ELBOWED SHUTTER)
- Straight long pole with elbowed shutter
PF-ACC-C- 00408
STRAIGHT LONG POLE FOR MES5/VB5 SENSOR (2745 mm, ELBOWED SHUTTER)
Mounting accessories for pole.
The elements of fixation for the poles are flexible and specially studied to adapt themselves to the different configurations of assembly.
Pole kit fixation
| NC-ACC-C-00009 | POLE FIXATION KIT FOR NUMERICAL SENSOR (ON LOW WALL) |
| NC-ACC-C-00010 | POLE FIXATION KIT FOR NUMERICAL SENSOR (ON LIFE LINE) |
| NC-ACC-C-00011 | POLE FIXATION KIT FOR NUMERICAL SENSOR (ON VERTICAL AXIS) |
| PF-ACC-C-00272 | VERTICAL AXIS FOR NUMERICAL SENSOR POLE (TO BE FIXED ON SOIL) |
Example of mounting on vertical axis
Accessories kit for assembly of poles with chain.
| NC-ACC-C-00012 | SHORT POLE FIXATION KIT FOR NUMERICAL SENSOR (ON LOW WALL) |
| NC-ACC-C-00013 | SHORT POLE FIXATION KIT FOR NUMERICAL SENSOR (ON LIFE LINE) |
| NC-ACC-C-00014 | SHORT POLE FIXATION KIT FOR NUMERICAL SENSOR (ON VERTICAL AXIS) |
Accessories for PVC pipe-mounting
Every system of assembly is delivered with an adapter (and the appropriate joints) and one T of assembly (90 ° for NTU sensor) to stick on a 90 mm diameter pipe. Its special design type ensures the correct inflow to the sensor, thus preventing incorrect measurements. Please note the following when planning your piping set-up:
- The fitting must be easily accessible to allow the sensor or the fitting itself to be maintained and cleaned regularly
- We recommend bypass measurements. It must be possible to remove the sensor through the use of shut-off valves
- When working with systems involving pressure and/or temperature, ensure that the fitting and sensor meet all relevant requirements
- The system designer must check that the materials in the fitting and sensor are suitable for the measurement (chemical compatibility, for instance)

- adapter
- MES5 or VB5 sensor
- 90 mm pipe diameter
Mounting system for MES5 & VB5 sensors (PF-ACC-C-00414) Installation of the sensor in the accessories of assembly
Insertion in a pole.
The sensor is mounted on the relevant fitting as described below, using a sensor holder, which can be used both for the long pole:
Insert the part (2) on the sensor (1) then insert the clamp ring (3) and screw it.
Insertion into the PVC in-pipe mounting system. 
- Guide the sensor cable (5) through the union nut on the fitting.
- Push the sensor with the mounted locking ring into the flow fitting as far as the stop. Pay attention
to the alignment of the sensor with regard to the flow. - Screw the union nut onto the fitting as far as the stop.
Electrical connections.
The sensor could deliver within version bare wire on 3, 7, 15 m or on other length (up to 100 m).
| Power supply | |
| Power requirements | 5 to 28 volts |
|
Consumption | Standby : 25 µA (5 V) Average RS485 (1 measure/seconde) : 4.5 mA (5V) Average SDI12 (1 measure/seconde) : 4.5 mA (5V) Curent Pulse : 100 mA during 30 mS Heating times : 100 mS Protection against the inversions of polarity |
| Wiring diagram | |
Cable length up to 15m1- Red Power supply V+ 2 – Blue SDI-12 3 – Black Power supply V- 4 – Green B ” RS-485 ” 5 – White A ” RS-485 ” 6 – Cable shield with Green/yellow Power supply V- | Cable lenght 15 to 100 meters Red Purple Yellow Power supply Orange V+ pink 2 – Blue SDI-12 3 – Black Power supply V- 4 – Green B ” RS-485 ” 5 – White A ” RS-485 ” 6 – Cable shield Green/yellow with Power supply V- |
Note :
Never exceed a voltage of 10VDC (absolute maximum rating) on communication lines RS485, A or B, under penalty of irreversible destruction of the transceiver component RS 485.SDI-12: respect the voltage value described in the associated standard (nominal: 5 VDC) Always connect ground + shield first.
Startup and maintenance
Initial startup
Once the sensor is connected to your terminal, the sensor is settled in its accessory of assembly and the parameterization has been carried out on the display unit, the sensor is ready for initial startup.
Note:
For measurement, you must eliminate bubbles trapped under the optical window.
During the introduction of the sensor in measurement environment, wait for sensor’s temperature stabilization before measure processing.
The optical windows are vulnerable to:
- chemicals (organic solvents, acids and strong bases, peroxide, hydrocarbons),
- mechanical treatments (impact, abrasion).
Started :
Remove the black cap of protection (by holding the sensor head downward and by unscrewing the hood towards the right).
Calibration
The method of two-point calibration for each of the four measuring ranges is available for calibrating the sensor. The sensor should be rinsed with clean water before each calibration. Organic deposits left on the sensor lens, such as a biofilm or silt, may cause measurement errors. These deposits should be removed carefully with warm soapy water and a soft sponge. Never use abrasive agents (e.g. scouring sponge). Calcium deposits can be removed by submersing the sensors in a diluted hydrochloric acid solution (concentration max. 5 %) for several minutes.
Calibration in NTU
The sensor is calibrated ex works, meaning that no calibration is required before initial startup. During operation, the sensor should be calibrated if the measured values begin to drift. If the zero point is moved, a complete two-point calibration must be carried out.
Offset calibration
The NTU sensor is an optical sensor which just need of a few calibration. On a clean sensor, check once in a while the 0 NTU value by dipping sensor in bubble free clear water. If the 0 point is shifted, proceed with the complete sensor calibration. It is carried out as follows:
- Immerse the sensor in distilled water (Attention on side effects, sensor has to be for a distance > 5 cm with regard to walls) in order to determine the zero point (offset). Wait that the sensor puts itself in equilibrium with the temperature of the standard solution.
- Drying the sensor with a soft cloth or an absorbent paper.
Slope calibration.
- Sensor slope is determined by positioning the sensor in a Formazine solution which depends of the calibrated range. For this procedure, a Formazin solution, with concentration matching the middle of the measurement range, will be necessary. This solution will be prepared from a 4000 NTU main solution. For the preparation of solutions, take a flask of 200 mL. Introduce the necessary volume of Formazin (cf. table below) and fill up to 200 mL with distilled water. The formazin solutions of concentrations lower at 1000 NTU deteriorate quickly, so do not preserve a solution during several days. The solution at 2000 NTU can be preserve in the refrigerator for 2 or 3 weeks in an opaque flask.
Concentration Formazin solution Volume of Formazin (mL) 100 NTU 5 mL 500 NTU 25 mL 2000 NTU 100 mL Immerse the sensor in the selected standard solution, maintain the standard solution under agitation and wait that the sensor puts itself in equilibrium with the temperature of the standard solution.
- Rinse the sensor in clean water and drying the sensor with a soft cloth or an absorbent paper.
Calibration in mg/L
Offset calibration
It is carried out as follows:
- Immerse the sensor in distilled water (Attention on side effects, sensor has to be for a distance > 5 cm with regard to walls) in order to determine the zero point (offset). Wait that the sensor puts itself in equilibrium with the temperature of the standard solution.
- Drying the sensor with a soft cloth or an absorbent paper.
Slope calibration.
Turbidity in mg / L, it is necessary to calibrate the sensor on a real sample.Immerse the sensor into a sample of sludge, maintained under agitation, and validate the theoretical value measured by the sensor. Analysis the sample dry weight in the laboratory according to the NF standard IN 872 for a range of 0-500 mg / L and according to the NF standard T 90 105 2 for a concentration > 500 mg / L.
Maintenance
The following points should be taken into account during ongoing operation of the sensor:
- The sensor must always be kept clean, particularly in the area around the optical windows. The presence of deposits on the optical windows may lead to measurement errors.
- Deposits such as a biofilm or silt should be removed carefully with warm soapy water and a soft sponge. Never use abrasive agents (e.g. scouring sponge).
- If the sensor is put out of operation, it should be rinsed ready for storage, and the provided protective cap should be fitted.
AQUALABO After-Sales Service
- AQUALABO
- 115 Rue Michel MARION
- 56850 CAUDAN
- FRANCE
- Tel.: + 33 (0)4 11 71 97 41




Cable length up to 15m
















