______________________
CEILING FAN

USE AND CARE GUIDE
F6213Q110V
Installation & Operating Instructions for the Installation, Manual
WARNING: SHUT POWER OFF AT FUSE OR CIRCUIT BREAKER
Safety Information
- To reduce the risk of electric shock, the electricity has been turned off at the circuit breaker or fuse box before begin.
- All wiring must be in accordance with the National Electrical Code NASI/NFPA 70-1999 and local electrical codes. Electrical installation should be performed by a qualified licensed electrician.
- The outlet box and support structure must be securely mounted and capable of reliably supporting 35lb.(15.9kg). Use only UL listed outlet boxes marked “Acceptable for Fan Support of 351bs(15.9kg)or less.”
- The fan must be mounted with a minimum of 7 ft. (2m) clearance from the trailing edge of the blades to the floor.
- Do not operate the reversing switch while the fan blades are in motion. You must turn the fan off and stop the blades before you reverse the blade direction.
- Do not place objects in the path of the blades.
- To avoid personal injury or damage to the fan and other items, please be careful when working around or cleaning the fan.
- Electrical diagrams are for reference only Light kits that are not packed with the fan must be UL-listed and marked suitable for use with the model fan you are installing. Switches must be UL General Use Switches Refer to the instructions packaged with the light kits and switches for proper assembly.
- After making electrical connections , spliced conductors should be turned upward and pushed carefully up into the outlet box. The wires should be spread apart with the grounded conductor and the equipment-grounding conductor on one side of the outlet box.
- All setscrews must be checked and retightened where necessary before installation.
WARNING: TO reduce the risk of personal injury, do not bend the blade brackets (also referred to as flanges) during assembly or after installation. Do not insert objects in the path of the blades.
WARNING: Remove the rubber motor stops on the bottom of the fan before installing the blades or testing the motor.
WARNING: To reduce the risk or fire or electric shock, do not use this fan with any solid-state speed control device.
WARNING: To avoid possible electric shock, turn the electricity off at the main fuse box before wiring. If you feel you do not have enough electrical wiring knowledge or experience, contact a licensed electrician.
WARNING: Electrical diagrams are for reference only. Optional use of any light kit shall be UL-listed and marked suitable for use with this fan.
WARNING: To reduce the risk of fire, electric shock, or personal injury, mount to outlet box marked “Acceptable for fan support of 35 lbs.(15.9 kg)or less” and use the screws provided with the outlet box.

THANK YOU FOR YOUR PURCHASE
Thank you for purchasing this quality product. To ensure correct function and safety, please read and save all instructions before using the product
SAFETY TIP
1. To avoid possible electric shock, turn ON the electricity at the main fuse box or circuit panel before you begin the fan installation or before servicing the fan or installing accessories.
2. Read all instructions and safety information carefully before installing your fan and save these instructions.
3. Make sure all electrical connections comply with local codes or ordinances and the National Electrical Code. If you are unfamiliar with electric wiring, please use a qualified and licensed electrician.
4. Make sure you have a location selected for your fan that allow clear space for the blades to rotate, and at least seven (7) feet of clearance between the floor and the fan blade tips. The fan should be mounted at least thirty (30) inches from walls or other upright structures.
5. WARNING: The outlet box and ceiling support joist used must be securely mounted, and capable of supporting at least 100 pounds. To reduce the risk of fire, electric shock or personal injury, mount to the outlet box marked acceptable for fan supported and use mounting screws provided with the outlet box. The box must be supported directly by the building structure.
6. WARNING: To reduce the risk of fire, electric shock or personal injury, mount to outlet box marked “acceptable for fan support” and use mounting screws provided with the outlet box most outlet boxes commonly used for the support of lighting fixtures are not acceptable for fan support and may need to be replaced. Consult a qualified electrician if in doubt.
7. Electrical diagrams are for reference only. Light kits that are not packed with the fan must UL listed and marked suitable for use with the model fan you are installing. Switches must be UL. general use switches. Refer to the instructions packaged with the light kits and switches for proper assembly.
8. After installation is complete, check that all connections are absolutely secure.
9. After making electrical connections, spliced conductors should be turned upward and pushed carefully up into outlet box. The wires should be spread apart with the grounded conductor and the equipment-grounding conductor on one side of the outlet box.
10. WARNING: To reduce the risk of electrical shock and fire, do not use this fan with any solid-state fan speed control device, or rheostat.
11. Do not separate the reverse switch until the fan has come to a complete stop.
12. Do not insert anything into the fan blades while they are rotating.
13. WARNING: To reduce the risk of personal injury, do not bend the blade brackets (also referred to as “flanges”) during assembly or after installation. Do not insert objects in the path of the blades.
14. To avoid personal injury or damage to the fan and other items, be cautious when working around or cleaning the fan.
15. Do not use water or detergent when cleaning the fan or fan blades. A dry dust cloth or lightly dampened cloth will be suitable for most cleaning.
NOTE: The important safety precautions and instructions appearing in the manual are not meant to cover all possible conditions and situations that may occur. It must be understood that common sense and caution are necessary factors in the installation and operation of this fan.
NOTE: This product is not intended for use by persons (including children) with reduced physical, sensory or mental capabilities are different or are impaired, or lack of experience or knowledge, unless such persons are supervised or trained to operate the appliance by a person responsible for their safety.
NOTE: Children should be supervised to ensure that they do not use appliances as a toy.
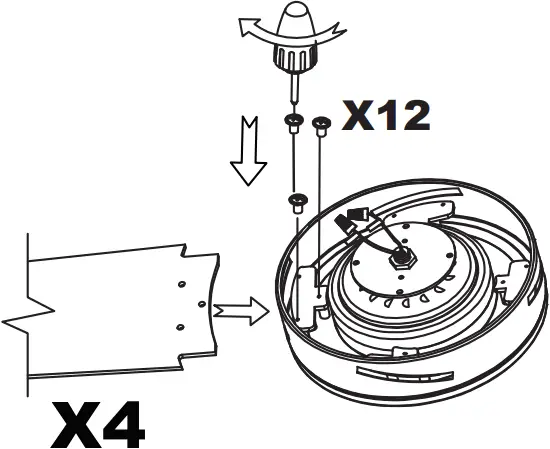
Balancing sticker (2PCS) | Washer(2PCS) | ![]() Remote control (1 PC) |

- Fan motor assembly
- Blade 4PCS
Pls check whether above accessories are completed or not? Yes, and install.
![]() | ![]()
| ||
![]() | ![]() | ||
![]()
| ![]()
| ![]()
| |
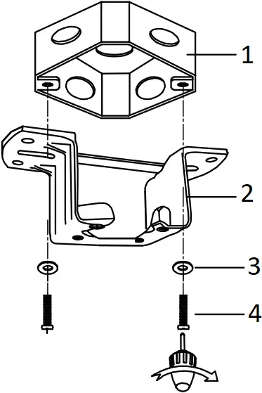
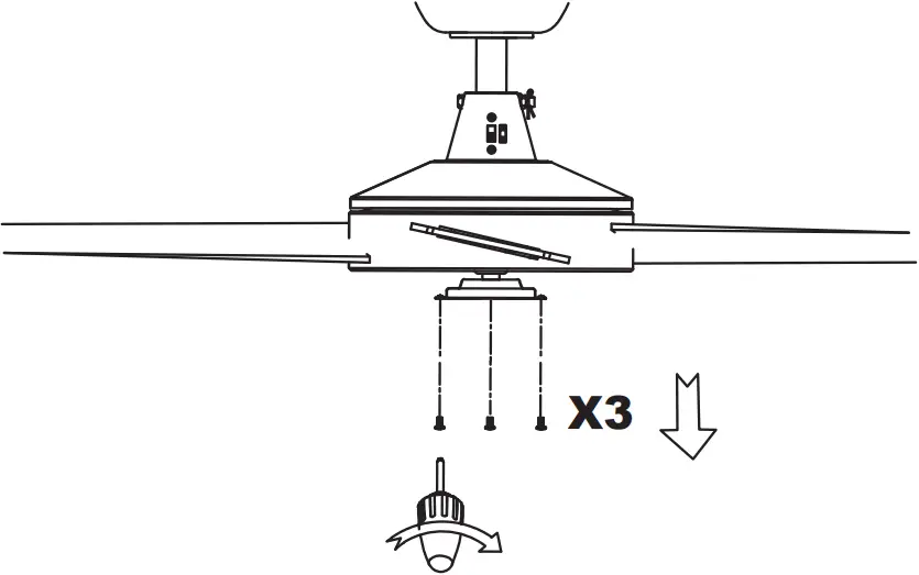
Attaching the mounting bracket to the outlet box
WARNING: To reduce the risk of fire, electric shock or personal injury, mount to an outlet box marked “Acceptable for fan support of 35 lbs. (15.9kg) or less,” and use the screws provided with the outlet box.
NOTE: The mounting bracket is designed to slide into place on an outlet box with the outlet box screws.

- Outlet box
- Mounting bracket
- Washer
- Mounting screw
![]() | ![]() |
![]() | ![]() |
FROM POWER SOURCE AC 110- 120 VOLT 60Hz 3.5AMPS.

- Use plastic wire nuts supplied with the fans
- Use plastic wire nuts supplied with the remote controller
- Red
- White
- Ground wire
- OUTPUT
- Blue
- Black
- MOTOR
![]()
| ![]() |
![]()
| ![]()
|
![]()
| ![]()
|

Phillips screwdriver
OPERATING YOUR FAN
Turn on the power and check the operation of the fan. The remote controller controls the fan as follows:
3 key – for fan high speed OFF key – for fan off
2 key – for fan medium speed LIGHT key – for light on and off (color selection)
1 key – for fan low speed 2hr,4hr,8hr botton to set the FAN sleep timer
The appropriate speed settings for warm or cool weather depends on factors such as the room size, ceiling height, and number of fans.
The slide switch (XX) controls the direction of the blades: forward (switch down) or reverse (switch up).

A. Warm Weather
(SUMMER TIME)
B. Cool Weather
(WINTER TIME)
NOTE: Wait for the fan to stop before reversing the direction of the blade rotation
A. warm weather-(Forward) A Downward airflow creates a cooling effect. This allows you to set your air conditioner on a higher setting without affecting your comfort.
B. Cool weather-(Reverse) An upward airflow moves warm air off the ceiling. This allows you to set heating unit on a lower setting without affecting your comfort.
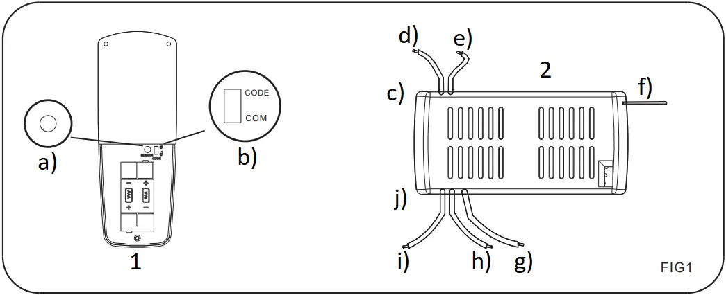
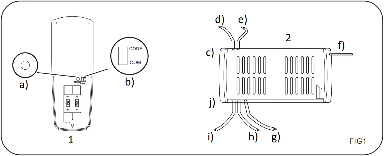
Remote controller
INSTRUCTION OF INSTALLATION AND OPERATION
1. INSTALLING RECEIVER IN CEILING FAN
A. Safety precautions
- WARNING: HIGH VOLTAGE! Disconnect power by removing fuse or switching off circuit breaker.
- Do not use with solid state fans.
- Electrical wire must meet all local and national electrical code requirements.
- Supply for fan must be 110/120 volt, 60Hz, 3.5A
- Maximum fan motor amps: 1.0.
- Maximum light watts: 180 incandescent or ballast and LED.
- To Reduce the risk of shock, this fan must be installed with a wall switch/control.
B. Installing receiver in fan
- Remove power from the circuit.
- Remove ceiling fan canopy from the mounting bracket.
- Disconnect existing wiring between ceiling fan and Supply in electrical junction box.
- Make connections as follows, using the wire nuts supplied.

- TRANSIMTTER
a) LEARN
b) CODE - RECEIVER
c) INPUT
d) ACN
e) ACL
f) ANT
g) LIGHT
h) FAN
i) COM
j) OUTPUT
CAUTION: Ceiling Angle Shall Not Exceed 30 Degrees, For Mounting Controller, Model GA012
CONNEC TO
Green fan wire …… Bare supply wire
Red or Black receiver wire(AC IN L) …. Red or Black supply wire
White receiver wire(AC IN N) …… White supply wire
White receiver wire(TO MOTOR N) …… White fan wire
Black receiver wire(TO MOTOR L) …… Black fan wire
Blue receiver wire(FOR LIGHT) …… Blue light wire

- FROM POWER SOURCE AC 110~120 VOLT 60Hz 3.5AMPS.
- Use wire connecting nuts supplied with the fan
- WHITE
- INPUT
- RED or BLACK
- ANT
- RECEIVER
- BLUE
- BLACK
- OUTPUT
- WIRE NUT
- Use wire connecting nuts supplied with the remote controller.
- CANOPY

- ANTENNA PUT AT OUTSIDE OF CANOPY BOX CAN GET MORE OPERATION DISTANCE
- RECEIVER
- CANOPY
- LIGHT MUST BE KEPT AT THE ON POSITION
- FAN MUST BE KEPT AT THE HIGH SPEED
If other fans or supply wires are different color, have this unit installed by qualified licensed electrician.
a. Push all connected wires up into junction box.
b. Lay the brown antenna wire on top of the receiver, and put the receiver into the mounting bracket.
c. Reinstall the canopy on the mounting bracket.
d. Restore power.
e. Install 1.5 volt battery(not included). (To prevent damage to transmitter, remove the battery if not used for a long time).
f. Store the transmitter away from excessive heat or humidity.
g. This remote control unit is equipped with roll code combinations. In order to prevent possible interference from or to other remote units such as garage door openers, car alarm or security system. If you find that your fan and light kit go on and off without using your remote control, simply change the code combination in your transmitter and receiver
2.OPERATING TRANSMITTER
Operating the buttons on the panel of the transmitter.
3 key -for fan high speed.
2 key-for fan medium speed.
1 key-for fan low speed.
OFF key-for fan off.
LIGHT key-for light on and off.
2hr, 4hr, 8hr button to set the FAN sleep timer
YOUR REMOTE NOW HAS FULL CONTROL OF THE FAN AND LIGHT

MODEL: GA012
OPERATION DISTANCE 20 FEET
3. TROUBLE SHOOTING GUIDE
a. Power to receiver ?
b. Receiver wired correctly ?
c. Fan manual speed control in highest position ?
d. Light kit switch turned on ?
e. Good battery in the transmitter ?

- TRANSIMTTER
a) LEARN
b) CODE - RECEIVER
c) INPUT
d) ACN
e) ACL
f) ANT
g) LIGHT
h) FAN
i) COM
j) OUTPUT
If there are two or more ceiling fans installed in the same house, in order to prevent your ceiling fans from being affected by the remote control of the adjacent ceiling fans, first turn the switch in each remote control transmitter to the CODE(UP) position (see the schematic diagram FIG1) Remarks: The standard state of the transmitter is in the down code COM.
(Power-off means you need to use a wall switch to shut down the power of the ceiling fan, if you do not have a wall switch, please power off the whole room from the air circuit-breaker for each room)
After installing the remote control receiver on the ceiling fan
1: Turn on the power of the 1# ceiling fan receiver (the power of the 2# receiver is kept in a power-off state), within 30 seconds after the fan power is turned on, press the LEARN button corresponding to the 1# transmitter, then The receiver will learn the transmitter code.
When the transmitter code is learned successfully, the light of the ceiling fans will flash twice, and then it can be used normally.
2: Turn on the power of the 2# ceiling fan receiver (the power of the 1# receiver is kept in the power-off state), within 30 seconds after the fan power is turned on, press the LEARN button corresponding to the 2# transmitter, then The receiver will learn the transmitter code.
When the transmitter code is learned successfully, the light of the ceiling fans will flash twice, and then it can be used normally.
And so on, only one ceiling fan is powered on each time the corresponding transmitter learns. After the 1# and 2# remote control transmitters have been successfully learned, turn on the power of the two ceiling fans. At this time, the 1# transmitter and the 2# transmitter can be used separately for one ceiling fan.
FCC Statement:
This device complies with Part 15 of the FCC Rules. Operation is subject to the following two conditions.
This device may not cause harmful interference.
This device must accept any interference received, including interference that may cause undesired operation.
Changes or modifications not expressly approved by the party responsible for compliance could void the user’s authority to operate the equipment.
NOTE: This equipment has been tested and found to comply with the limits for a Class B digital, pursuant to Part 15 or the FCC Rules. These limits are designed to provide reasonable protection against harmful interference in a residential installation. This equipment generates, uses and can radiate radio frequency energy and, if not installed and used in accordance with the instructions, may cause harmful interference to radio communications,
However, there is no guarantee that interference will not occur in a particular installation. If the equipment does cause harmful interference to radio or television reception, which can be determined by turning the equipment off and on, the user is encouraged to try to correct the interference by one or more of the following measures:
— Reorient or relocate the receiving antenna.
— Increase the separation between the equipment and receiver.
— Connect the equipment into an outlet on a circuit different from that to which the receiver is connected.
— Consult the dealer or an experienced radio/ TV technician for help.
size of product


TROUBLESHOOTING GUIDE
Table of Contents
- Fan / Remote is not working
- Fan is noisy
- Fan Wobbles
- Light is not working
Please refer to the instruction sheet for detailed directions and descriptions of installation steps and requirements.
1. FAN / REMOTE IS NOT WORKING
| Ensure the remote is within the 20 foot range of the receiver |
| To reset the remote control: 1) Turn off power to fan using the wall switch or circuit breaker. 2) Remove batteries from remote. 3) Wait 10 seconds. 4) Replace batteries and turn power on |
| Check batteries to insure they are good and oriented correctly |
| Check to make sure the frequency switches (DIP Switches) from the remote to the receiver are set to the same frequency |
| Check the main and branch circuit fuses or breakers |
| If using a Variable Speed Wall Switch, ensure it is specifically designed for use with a ceiling fan. |
| Check the line wire connections to the fan and the switch wire connections in the switch housing per the instructions |
| If fan still does not work, please contact Customer Service [email protected] |
2. THE FAN IS NOISY
| Make sure all motor housing screws are tightened |
| Make sure the screws that attach fan blade to motor are tight |
| Make sure the wire nut connectors are not rattling against each other or the interior wall of the switch housing |
| Allow 24-hour break in period. Most noises associated with the new fan may disappear during this time |
| If using a ceiling light kit, make sure the glassware is secured tightly |
| Make sure there is a short distance/gap from the ceiling to the top of the canopy. The canopy should not touch the ceiling! |
| Make sure your ceiling box is secure and that the rubber isolator pads are used between the mounting bracket and outlet box |
3. THE FAN WOBBLES
| Verify all blades and blade bracket screws are secure (most fan wobble problems are caused by loose parts). Once fan is properly installed, run the ceiling fan for 10 minutes to let the fan self-adjust. |
| If wobble occurs after running the fan for 10 minutes, verify blade level using the following process: a) select a point on the ceiling above the tip of one of the blades. Then select the fan blade and measure from the center of the selected blade to point on the ceiling. Rotate the fan until the next blade is positioned and repeat the measurement using the same point from the ceiling for every blade. Measurements should be within 1/8 inch. b) If all deviation are less than 1/8 inch and the fan continues to wobble, please contact Customer Service |
4. LIGHT IS NOT WORKING
| Check Bulb to make sure it is installed correctly |
| Remove non-working bulb and replace with a bulb that is known to be a good working bulb |
| To reset the remote control: 1) Turn off power to fan using the wall switch or circuit breaker. 2) Remove batteries from remote. 3) Wait 10 seconds. 4) Replace batteries and turn power on |
AFTER INSTALLATION
WOBBLE”
The fan blades have been adjusted in the factory to minimize any wobble
NOTE: CEILING FANS TEND TO MOVE DURING OPERATION DUE TO THE FACT THAT THEY ARE MOUNTED ON A RUBBER CROMMET. IF THE FAN WAS MOUNTED RIGIDLY TO THE CEILING, IT WOULD CAUSE EXCESS VIBRATION. MOVEMENT OF A FEW CENTIMENTERS IS QUITE ACCEPTABLE AND DOES NOT SUGGEST ANY PROBLEM
TO REDUCE THE FAN WOBBLE: PLEASE CHECK THAT ALL SCREWS WHICH SECURED THE MOUNTING
BRACKET AND DOWNROD ARE SECURE.
BALANCING A WOBBLING CEILING FAN:
For your convenience, a Balancing Kit is included; please follow this procedure when balancing the fan:
1. Check that all blade and blade arm screws are secure.
2. Most fan wobbling problems are caused when blade levels are unequal. Check this level by selecting a point on the ceiling above the tip of one of the blades. Measure this distance. Rotate the fan until the next blade is positioned for measurement. Repeat for each blade. The distance deviation should be equal within 1/8″(0.32cm).
3. Use the enclosed Blade Balancing Kit if the blade wobble is still noticeable.
4. If the blade wobble is still noticeable, interchanging two adjacent (side by side) blades can redistribute the weight and possibly result in smoother operation. WARNING: TO REDUCE THE RISK OF PERSONAL INJURY, DO NOT BEND THE BLADE ARM WHILE INSTALLING, BALANCING THE BLADES, OR CLEANING THE FAN. DO NOT INSERT FOREIGN OBJECTS BETWEEN ROTATING FAN BLADES.
NOISE
When it is quiet(especially at night) you may hear occasional small noises. This is normal. Please allow a 24-hour “breaking-in” period, most noises associated with a new fan disappear during the time.
CARE AND CLEANING
1. Periodic cleaning of your ceiling fan is the only maintenance required. Use a soft brush or lint free cloth to avoid scratching the paint finish. Please make sure to turn off electricity power before you clean your fan
2. Do not use water when cleaning your ceiling fan. It could damage the motor or the blades and create the possibility of an electrical shock.
3. Motor has permanently lubricated ball bearing. No need to oil
NOTE: MAKE SURE THE POWER IS OFF AT THE ELECTRICAL PANEL BOX BEFORE YOU ATTEMPT ANY CLEANING OR REPAIRS.
Balancing sticker (2PCS)
Washer(2PCS)


































