Owner’s Manual & Safety Instructions
Save This Manual Keep this manual for the safety warnings and precautions, assembly, operating, inspection, maintenance and cleaning procedures. Write the product’s serial number in the back of the manual near the assembly diagram (or month and year of purchase if product has no number). Keep this manual and the receipt in a safe and dry place for future reference.
23c
MASTER BRAKE
CALIPER SET
![]()
58117
Visit our website at: http://www.harborfreight.com
Email our technical support at: [email protected]
When unpacking, make sure that the product is intact and undamaged. If any parts are missing or broken, please call 1-888-866-5797 as soon as possible.
Copyright© 2023 by Harbor Freight Tools®. All rights reserved.
No portion of this manual or any artwork contained herein may be reproduced in any shape or form without the express written consent of Harbor Freight Tools. Diagrams within this manual may not be drawn proportionally. Due to continuing improvements, actual product may differ slightly from the product described herein.
Tools required for assembly and service may not be included.
WARNING
Read this material before using this product. Failure to do so can result in serious injury. SAVE THIS MANUAL.
WARNING SYMBOLS AND DEFINITIONS | |
This is the safety alert symbol. It is used to alert you to potential personal injury hazards. Obey all safety messages that follow this symbol to avoid possible injury or death. | |
Indicates a hazardous situation which, if not avoided, will result in death or serious injury. | |
Indicates a hazardous situation which, if not avoided, could result in death or serious injury. | |
Indicates a hazardous situation which, if not avoided, could result in minor or moderate injury. | |
NOTICE | Addresses practices not related to personal injury. |
![]()
Item 58117
IMPORTANT SAFETY INFORMATION
WARNING Read all safety warnings and instructions.
Failure to follow the warnings and instructions may result in serious injury.
Save all warnings and instructions for future reference.
Operation Safety
- Keep children and bystanders away while operating.
Distractions can cause you to lose control.
Wear ANSI-approved safety goggles, NIOSH-approved dust mask/ respirator, and heavy-duty work gloves during use and service.
Brake pad dust and some chemicals used for brake service may contain asbestos and other hazardous substances.
Use safety measures, such as proper ventilation and breathing protection, to reduce the risk of serious and/or chronic illness.- Inspect and test vehicle’s brake system thoroughly after service to ensure proper operation.
- Use according to instructions in vehicle service manual.
- Keep work area clean and well lit. Cluttered or dark areas invite accidents.
- Stay alert and use common sense when operating. Do not use when tired or under the influence of drugs, alcohol or medication.
- Dress properly. Do not wear loose clothing or jewelry. Keep your hair, clothing and gloves away from moving parts. Loose clothes, jewelry or long hair can be caught in moving parts.
- People with pacemakers should consult their physician(s) before use. Electromagnetic fields in close proximity to heart pacemaker could cause pacemaker interference or pacemaker failure.
- This product is not a toy. Keep it out of reach of children.
- Use the correct product for the correct vehicle. The correct product will do the job better and safer at the rate for which it was designed. Do not modify this product or use it for a purpose for which it is not intended.
- Check for misalignment or binding of moving parts, breakage of parts and any other condition that may affect the product’s operation. If damaged, have the product repaired before use.
- Read and understand all instructions and safety precautions as outlined in the manufacturer’s manual for the vehicle you are servicing.
- The warnings, precautions, and instructions discussed in this instruction manual cannot cover all possible conditions and situations that may occur. It must be understood by the operator that common sense and caution are factors which cannot be built into this product, but must be supplied by the operator.
Maintenance Safety
- Have product serviced by a qualified repair person using only identical replacement parts. This will ensure that the safety of the product is maintained.
- Maintain labels and nameplates on the product. These carry important safety information. If unreadable or missing, contact Harbor Freight Tools for a replacement.
SAVE THESE INSTRUCTIONS.
Operating Instructions
Read the ENTIRE WARNING section at the beginning of this manual including all text under subheadings therein before set up or use of this product.
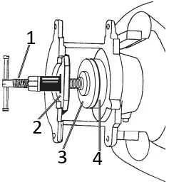
1. Move the T-handle of the Thrust Bolt (L,R) to one side and slide the Plate (1) over the Thrust Bolt, until it rests on the bottom. Apply the Disc to the two pegs on the bottom of the Thrust Bolt (the magnet will hold it in place).
![]()
- Thrust Bolt (L,R)
- Plate (1)
- Disc
- Caliper Piston
2. Raise and safely secure vehicle.
3. Remove the wheel and brake caliper. Remove the worn brake pads and hardware.
4. Service the caliper according to the vehicle manufacturer’s instructions.
5. Reassemble caliper, brake pads, and wheels.
6. Clean, then store the Service Kit indoors out of children’s reach.
WARNING! TO PREVENT SERIOUS INJURY:
Test the brakes thoroughly before use.
Maintenance
Procedures not specifically explained in this manual must be performed only by a qualified technician.
WARNING
TO PREVENT SERIOUS INJURY FROM TOOL FAILURE: Do not use damaged equipment. If abnormal noise or vibration occurs, have the problem corrected before further use.
- BEFORE EACH USE, inspect the general condition of the Brake Caliper Service Kit. Check for:
• loose hardware
• misalignment or binding of moving parts
• cracked or broken parts
• any other condition that may affect its safe operation. - AFTER USE, wipe external surfaces of the tool with clean cloth.
- When storing, keep the Brake Caliper Service Kit in its Carrying Case.
PLEASE READ THE FOLLOWING CAREFULLY
THE MANUFACTURER AND/OR DISTRIBUTOR HAS PROVIDED THE PARTS LIST AND ASSEMBLY DIAGRAM IN THIS MANUAL AS A REFERENCE TOOL ONLY. NEITHER THE MANUFACTURER OR DISTRIBUTOR MAKES ANY REPRESENTATION OR WARRANTY OF ANY KIND TO THE BUYER THAT HE OR SHE IS QUALIFIED TO MAKE ANY REPAIRS TO THE PRODUCT, OR THAT HE OR SHE IS QUALIFIED TO REPLACE ANY PARTS OF THE PRODUCT. IN FACT, THE MANUFACTURER AND/OR DISTRIBUTOR EXPRESSLY STATES THAT ALL REPAIRS AND PARTS REPLACEMENTS SHOULD BE UNDERTAKEN BY CERTIFIED AND LICENSED TECHNICIANS, AND NOT BY THE BUYER. THE BUYER ASSUMES ALL RISK AND LIABILITY ARISING OUT OF HIS OR HER REPAIRS TO THE ORIGINAL PRODUCT OR REPLACEMENT PARTS THERETO, OR ARISING OUT OF HIS OR HER INSTALLATION OF REPLACEMENT PARTS THERETO.
Parts List
Part | Description | Qty |
0 | 2-1/2″ Single Pin Disc | 1 |
1 | Plate | 1 |
2 | 2-1/64″ Three Pin Disc | 1 |
3 | 2-5/32″ Three Step Disc Adapter | 1 |
4 | 1-1/4″ Two Pin Disc | 1 |
5 | 3/8″ Adapter | 1 |
6 | 1-21/32″ Two Pin Disc | 1 |
7 | 1-21/32″ Two Pin Disc | 1 |
8 | 1-7/8″ Single Pin Disc | 1 |
9 | 2-1/8″ Single Pin Disc | 1 |
A | 2-1/8″ Two Pin + Center Pin Disc | 1 |
B | 1-3/4″ Three Pin Disc | 1 |
E | 1-21/32″ Four Pin Disc | 1 |
G | 1-1/4″ Two Pin Disc | 1 |
K | 2-1/8″ Two Pin + Center Pin Disc | 1 |
L | Left Hand Thrust Bolt | 1 |
M | 1-1/4″ Two Pin Disc | 1 |
N | 1-1/4″ Hex Disc | 1 |
R | Right Hand Thrust Bolt | 1 |
Z | 1-3/16″ Two Pin Disc | 1 |
Record Product’s Serial Number Here: _____________________
Note: If product has no serial number, record month and year of purchase instead.
Note: Some parts are listed and shown for illustration purposes only, and are not available individually as replacement parts. Specify UPC 193175514479 when ordering parts.
Diagram
![]()
ICON™ TOOL LIMITED LIFETIME WARRANTY
Harbor Freight Tools makes every effort to assure that its products meet the highest quality and durability standards. Harbor Freight Tools warrants to the original purchaser of this ICON™ Tool that the parts and components of the ICON™ Tool will be free from defects in material and manufacturing workmanship during the ICON™ Tool useful life. If the parts or components do not perform in accordance with this warranty, Harbor Freight Tools will provide the parts necessary to put the ICON™ Tool back in working order. Replacement parts may be obtained by calling 1-888-866-5797 or by e-mailing [email protected]. Proof of purchase (original sales receipt) from the original consumer purchaser must accompany all warranty claims.
This warranty does not apply to damage due directly or indirectly, to misuse, abuse, negligence or accidents, unauthorized repair, improper installation, improper storage, normal wear and tear, neglect, alteration or modification, or to lack of maintenance. Abnormal use of tool units also includes, without limitation, situations when a unit is pulled using a vehicle, rolled over large drops, used in a highly corrosive environment, used as a step stool, overloaded or modified in any way. This warranty is in lieu of all other warranties, express or implied, including the warranties of merchantability and fitness. Harbor Freight Tools is not liable for incidental, indirect, special, consequential, or punitive damages or costs arising from the use of this product. Some states do not allow the exclusion or limitation of incidental or consequential damages, so the above limitation may not apply to you. This warranty gives you specific legal rights, and you may also have other rights which vary from state to state.
![]()
26677 Agoura Road, • P. O. Box 6009 • Calabasas, CA 91302 • 1-888-866-5797
Wear ANSI-approved safety goggles, NIOSH-approved dust mask/ respirator, and heavy-duty work gloves during use and service.
Brake pad dust and some chemicals used for brake service may contain asbestos and other hazardous substances.

















