
AP1301H Stellar access point
Installation Guide
*060535-10 Rev. A*
enterprise.alcatel-lucent.com
Alcatel-Lucent and the Alcatel-Lucent Enterprise logo are trademarks of Alcatel-Lucent. To view other trademarks used by affiliated companies of ALE Holding, visit enterprise.alcatel-lucent.com/trademarks. All other trademarks are the property of their respective owners. The information presented is subject to ALE without notice. Neither ALE Holding nor any of its affiliates assume any responsibility for inaccuracies contained herein. (2021)
Introduction
The Multi-functional Alcatel-Lucent OmniAccess® Stellar OAW-AP1301H access point is a highly versatile, and performance-rich access point providing operational simplicity and a quality user experience. The OmniAccess Stellar OAW-AP1301H indoor WiFi access point provides high-performance Gigabit WiFi for in-room applications such as hotels, classrooms, dormitories, clinics, remote/home offices, and more.
The AP1301H offers a Gigabit Ethernet uplink, 3x Gigabit downlink one of which supports 802.3af PSE to power the attached device, and one pair of RJ-45 pass-through ports, and a USB 2.0 port.
The AP1301H ships with a mounting plate to attach the AP to a single-gang wall-box (most international variations covered). A desk mount kit can be ordered separately.
Package Contents
Figure 1 
A. OAW-AP1301H Access Point
B. Documents:
- Installation Guide (this document)
- Quick Start Guide
- User Guide Info Card
- Regulatory Compliance and Safety Information
C. (2x) #6-32 slotted screws
D. Single-gang wall-box mounting plate
Inform your supplier if there are any incorrect, missing, or damaged parts. If possible, retain the carton, including the original packing materials. Use these materials to repack and return the unit to the supplier if needed.
Hardware Overview
The following sections outline the hardware components of the OAW-AP1301H access point.
Figure 2 OAW-AP1301H Front View 
LED
The LED displays located on the front of the access point indicate the following functions:
STATUS: System status (Tri-color LED)
PSE: PoE-PSE status
For the details of the LED status, please refer to the Quick Start Guide.
Figure 3 OAW-AP1301H Rear View 
Ethernet Ports
The OAW-AP1301H access point is equipped with four active Ethernet ports. One is shown in Figure 3 (Eth0) and the others are shown in Figure 4 (Eth1-Eth3/PSE).
In addition, the OAW-1301H AP has one pair of RJ-45 passive pass-through ports, which provide an electrical connection between the back and the bottom of the access point.
Figure 4 OAW-AP1301H Bottom View 
Table 1
| Interface | Description |
| Eth0 | 1 X 10/100/1000Base-T auto-sensing uplink connectivity (RJ-45) port. IEEE 802.3af/802.3at PoE compliant. |
| Eth1∼ ∼Eth2 | 2 x 10/100/1000Base-T auto-sensing downlink connectivity (RJ-45) ports. |
| ☆ Eth3/PSE | 1 x 10/100/1000Base-T auto-sensing downlink connectivity (RJ-45) port. IEEE 802.3af PoE-PSE compliant. |
| PT | One pair of passive Pass-Through ports (two RJ-45, back and bottom) |
☆ Note: When the AP1301H is powered by an 802.3at or DC power source, the PoE-out (PoE-PSE) functionality is enabled on port Eth3/PSE, supplying (1) maximum the output of 12W while USB is active, or (2) maximum output of 14.5W while USB is inactive.
Figure 5 Gigabit Ethernet Port Pin-Out
Table 2
Eth0 Port Pinout
| Connector | Pin | Signal Name | Function |
![]() | 1 | BI_DA+ | Bi-directional pair +A, PoE Negative |
| 2 | BI_DA- | Bi-directional pair -A, PoE Negative | |
| 3 | BI_DB+ | Bi-directional pair +B, PoE Positive | |
| 4 | BI_DC+ | Bi-directional pair +C, PoE Positive | |
| 5 | BI_DC- | Bi-directional pair -C, PoE Positive | |
| 6 | BI_DB- | Bi-directional pair -B, PoE Positive | |
| 7 | BI_DD+ | Bi-directional pair +D, PoE Negative | |
| 8 | BI_DD- | Bi-directional pair -D, PoE Negative |
Table 3
Eth1~Eth2 Port Pinout
| Connector | Pin | Signal Name | Function |
![]() | 1 | BI_DA+ | Bi-directional pair +A, |
| 2 | BI_DA- | Bi-directional pair -A, | |
| 3 | BI_DB+ | Bi-directional pair +B, | |
| 4 | BI_DC+ | Bi-directional pair +C, | |
| 5 | BI_DC- | Bi-directional pair -C, | |
| 6 | BI_DB- | Bi-directional pair -B, | |
| 7 | BI_DD+ | Bi-directional pair +D, | |
| 8 | BI_DD- | Bi-directional pair -D, |
Table 4
Eth3/PSE Port Pinout
| Connector | Pin | Signal Name | Function |
![]() | 1 | BI_DA+ | Bi-directional pair +A, |
| 2 | BI_DA- | Bi-directional pair -A, | |
| 3 | BI_DB+ | Bi-directional pair +B, | |
| 4 | BI_DC+ | Bi-directional pair +C, PoE Positive | |
| 5 | BI_DC- | Bi-directional pair -C, PoE Positive | |
| 6 | BI_DB- | Bi-directional pair -B, | |
| 7 | BI_DD+ | Bi-directional pair +D, PoE Negative | |
| 8 | BI_DD- | Bi-directional pair -D, PoE Negative |
Figure 6 OAW-AP1301H Side View
USB Interface
The OAW-AP1301H access point is equipped with a USB 2.0 interface (Type A). When active, the USB port can supply up to 5V/0.5A power to an attached device.
Reset button
Factory reset. Press the reset button for 5s, AP LEDs will quickly flash for 3s, then AP will restart and restore factory configurations.
Power
The OAW-AP1301H access point supports a direct DC power adapter (48V DC nominal, sold separately) and Power over Ethernet (PoE).
The DC power connector port is located on the side of the device, as shown in Figure 6.
When both power sources are available, DC power takes priority over PoE. OmniAccess Stellar AP supports the power adapter provided by ALE ONLY.
The PoE-in allows the Eth0 port to draw power from an 802.3at (preferred) source, or an 802.3af (optional) source.
When powered by an 802.3at or DC power source, the PoE-out (PoE-PSE) functionality is enabled on port Eth3/PSE.
Before You Begin
Refer to the sections below before beginning the installation process.
Pre-Installation Checklist
Before installing your OAW-AP1301H access point, be sure that you have the following items:
- Gigabit Ethernet cable of the required length.
- One of the following power sources: § IEEE 802.3af/at compliant Power over Ethernet (PoE) source. § ALE AC-DC adapter (sold separately), Output voltage DC 48V, output current ≥ 0.6A is recommended.
- A PC terminal or a notebook
Identifying Specific Installation Locations
The OAW-AP1301H access point must be secured to an ALE-approved wall or to a desk mount kit (sold separately).
The installation position should be as close as possible to the center of the required coverage area and should be free from obstructions or obvious sources of interference.
- Minimize the number of obstructions (such as walls) between the AP and user terminals.
- Electronic equipment or devices (such as microwave ovens) which may produce radio frequency noise should be away from the installation position of the AP.
It is strictly prohibited to install around stagnant water, water seepage, leakage, or condensation. Avoid cable condensation or water seepage along the cables connecting to the AP.
Installing the Access Point
The OAW-AP1301H can be mounted into a single-gang wall box with a shipped mounting plate.
Installing all ALE access points requires professional training. The AP must be professionally installed by a qualified engineer familiar with the WLAN system. Failure to properly install this product may result in physical injury and/or damage to property.
Use the steps below to install your OAW-AP1301H.
- Begin by removing the existing data wall plate (if applicable).
- Make sure that there is an uplink Ethernet cable with an RJ-45 plug in the wall box. If not, please crimp an RJ-45 plug (not supplied) on the Ethernet cable.
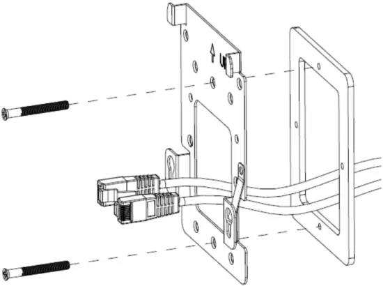
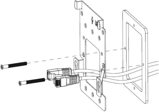
- Align the mounting holes of the AP1301H mounting plate with mounting holes in your gang box, as shown in Figure 7 and Figure 8. For a worldwide single gang outlet box, the mounting plate has two sets of mounting holes to meet the individual installation position requirement.
Figure 7 Mounting Plate to Gang Box(1)
Figure 8 Mounting Plate to Gang Box (2) 
- Insert the two included slotted screws and tighten them to secure the mounting plate.
- Connect the uplink Ethernet cable to the Eth0 port on the back of the AP1301H. Do the same for the PT port, if used.
- Align the mounting slots on the back of the AP1301H with the corresponding mounting posts on the wall mounting plate as shown in Figure 9.
- Push the access point against the posts and downward until the posts engage the slots at the top of the slots.
Figure 9 Attaching OAW-AP1301H to wall mounting plate
Verifying Post-Installation Connectivity
The integrated LED on the access point can be used to verify that the AP is receiving power and initializing successfully.
Product Specifications
Dimensions/Weight
• Single AP excluding packing box and accessories:
- 95 mm (W) x 34.45 mm (D) x 161.5 mm (H)
- 3.74” (W) x 1.35” (D) x 6.35” (H)
- 237g/0.522lb
• Single AP including packing box and accessories:
- 115 mm (W) x 54 mm (D) x 182 mm (H)
- 4.52” (W) x 2.13” (D) x 7.17”(H)
- 417g/0.919lb
Power
- Supports direct DC power and Power over Ethernet (PoE)
- Power over Ethernet (PoE): 48 V DC (nominal) IEEE 802.3af/ 802.3at compliant source
- Maximum power consumption with PSE function and USB load: 25W
Environmental
• Operating :
- Temperature: 0°C to +45°C (+32°F to +113°F)
- Humidity: 5% to 95% non-condensing
• Storage and transportation:
- Temperature: -40°C to +70°C(-40°F to +158°F)
For additional specifications on this product, please refer to the Datasheet.
Contacting Alcatel-Lucent Enterprise
| Website Support | |
| Main Site | http://enterprise.alcatel-lucent.com |
| Support Site | http://support.esd.alcatel-lucent.com |
| Telephone Support | |
| North America | 1-800-995-2696 |
| Latin America | 1-877-919-9526 |
| Europe | +800 00200100 (Toll-Free) or +1(650)385-2193 |
| Asia Pacific | +65 6240 8484 |
| Other Region | 1-818-878-4507 |
Alcatel-Lucent Enterprise
OAW-AP1301H Regulatory Compliance and Safety Information
The Alcatel-Lucent name and logo are trademarks of Nokia used under license by ALE. To view other trademarks used by affiliated companies of ALE Holding, visit
www.al-enterprise.com/en/legal/trademarks-copyright. All other trademarks are the property of their respective owners. The information presented is subject to change without notice. Neither ALE Holding nor any of its affiliates assume any responsibility for inaccuracies contained herein. (2021)
Introduction
This document contains domestic and international regulatory compliance information for the access point OAW-AP1301H. To ensure that this device complies with the regulatory standards for your region, please refer to the content below.
FCC Part 15:
This equipment has been tested and found to comply with the limits for a Class B digital device, pursuant to Part15 of the FCC Rules.
These limits are designed to provide reasonable protection against harmful interference in a residential installation. This equipment generates, uses, and can radiate radio frequency energy and, if not installed and used in accordance with the instructions, may cause harmful interference to radio communications.
However, there is no guarantee that interference will not occur in a particular installation. If this equipment does cause harmful interference to radio or television reception, which can be determined by turning the equipment off and on, the user is encouraged to try to correct the interference by one of the following measures:
- Reorient or relocate the receiving antenna.
- Increase the separation between the equipment and receiver.
- Connect the equipment into an outlet on a circuit different from that to which the receiver is connected.
- Consult the dealer or an experienced radio/TV technician for help.
This device complies with Part 15 of the FCC Rules. Operation is subject to the following two conditions:
- This device may not cause harmful interference, and
- this device must accept any interference received, including interference that may cause undesired operation.
FCC Caution: Any changes or modifications not expressly approved by the party responsible for compliance could void the user’s authority to operate this equipment.
RF exposure warning
This equipment complies with FCC radiation exposure limits set forth for an uncontrolled environment.
This product may not be collocated or operated in conjunction with any other antenna or transmitter
This equipment must be installed and operated in accordance with provided instructions and the antenna(s) used for this transmitter must be installed to provide a separation distance of at least 20 cm from all persons and must not be collocated or operating in conjunction with any other antenna or transmitter.
For EU
ALE USA Inc., hereby declares that these models are compliant with the essential requirements and other provisions of Directive 2014/53/EU. For the complete CE DoC, please access the website below to get more information: https://businessportal2.alcatel-lucent.com/
Waste Electrical and Electronic Equipment (WEEE) Statement
ALE products are subject to separate collection and treatment in the EU Member States, Norway, and Switzerland when they are at end of life, and therefore are marked with the symbol shown. The treatment applied to these products in these countries shall be compliant with the applicable national laws which are under the implementation of Directive 2012/19/EU on Waste of Electrical and Electronic Equipment (WEEE).
European Union RoHS
ALE products are compliant with the EU Restriction of Hazardous Substances Directive 2011/65/EU (RoHS). EU RoHS restricts the use of specific hazardous materials in the manufacture of electrical and electronic equipment. The restricted materials under the Directive are Lead (including Solder used in printed circuit assemblies), Cadmium, Mercury, equivalent Chromium, and Bromine.
Global RF health information:
RF Radiation Exposure Statement: This equipment complies with FCC and CE RF radiation exposure limits. This equipment should be installed and operated with a minimum distance of 20 cm between the equipment and a human’s body for 2.4 GHz and 5 GHz operations. This transmitter must not be co-located or operating in conjunction with any other antenna or transmitter.
The device is restricted to indoor use only when operating in the 5150 to 5350 MHz frequency range. ![]()
IC Radiation Exposure Statement for Canada
This device complies with Industry Canada licence-exempt RSS standard(s). Operation is subject to the following two conditions:
- this device may not cause interference, and
- this device must accept any interference, including interference that may cause undesired operation of the device.
Under Industry Canada regulations, this radio transmitter may only operate using an antenna of a type and maximum (or lesser) gain approved for the transmitter by Industry Canada. To reduce potential radio interference to other users, the antenna type and its gain should be so chosen that the equivalent isotropically radiated power (e.i.r.p.) is not more than that necessary for successful communication.
User manuals for transmitters equipped with detachable antennas shall also contain the following notice in a conspicuous location:
This radio transmitter (identify the device by certification number, or model number if Category II) has been approved by Industry Canada to operate with the antenna types listed below with the maximum permissible gain and required antenna impedance for each antenna type indicated. Antenna types not included in this list, having a gain greater than the maximum gain indicated for that type, are strictly prohibited for use with this device.
Caution:
The device for operation in the band 5150–5250 MHz is only for indoor use to reduce the potential for harmful interference to co-channel mobile satellite systems;
Mise en garde:
IMPORTANT NOTE:
Radiation Exposure Statement:
This equipment complies with “Industry Canada RSS-102 for radiation exposure limits set forth for an uncontrolled environment”.
This equipment should be installed and operated with a minimum distance of 20cm between the radiator and your body.
Industry Canada – Emissions compliance statement
This Class B digital apparatus complies with Canadian ICES-003.
Canada ICES-003 (B) / NMB-003 (B)
[REMAINING SECTIONS INTENTIONALLY LEFT BLANK]



Figure 8 Mounting Plate to Gang Box (2) 



















