HAN Networks AP311H Access Point 
Installation Guide
The Multi-functional AP311H access point is a highly versatile, and performance-rich access point providing operational simplicity and a quality user experience. This indoor WiFi access point provides high-performance Gigabit WiFi for in-room applications such as hotels, classrooms, dormitories, clinics, remote/home office,s and more.
The AP311H offers a Gigabit Ethernet uplink, 3x Gigabit downlink one of which supports 802.3af PSE to power the attached device, and one pair of RJ-45 pass-through ports, and a USB 2.0 port. The AP311H ships with a mounting plate to attach the AP to a single-gang wall-box (most international variations covered). A desk mount kit can be ordered separately.
Package Contents
Figure 1
- AP311H Access Point
- Documents:
- Installation Guide (this document)
- Quick Start Guide
- User Guide Info Card
- Regulatory Compliance and Safety Information
- (2x) #6-32 slotted screws
- Single-gang wall-box mounting plate
Inform your supplier if there are any incorrect, missing, or, damaged parts. If possible, retain the carton, including the original packing materials. Use these materials to repack and return the unit to the supplier if needed.
Hardware Overview
The following sections outline the hardware components of the AP311H access point. Figure 2 AP311H Front View.
LED
- The LED displays located on the front of the access point indicate the following functions:
STATUS: System status (Tri-color LED) - PSE: PoE-PSE status
For the details of the LED status, please refer to the Quick Start Guide.
Figure 3 AP311H Rear View
Ethernet Ports
- The AP311H access point is equipped with four active
- Ethernet ports. One is shown in Figure 3 (Eth0) and the others are shown in Figure 4 (Eth1-Eth3/PSE).
- In addition, the AP311H AP has one pair of RJ-45 passive pass-through ports, which provide an electrical connection between the back and the bottom of the access point.
Figure 4 AP311H Bottom View
Table 1
| Interface | Description |
| Eth0 | 1 × 10/100/1000Base-T auto-sensing uplink connectivity (RJ-45) port. IEEE 802.3af/802.3at PoE compliant. |
| Eth1~ ~Eth2 | 2 x 10/100/1000Base-T auto-sensing downlink connectivity (RJ-45) ports. |
| ☆Eth3/PSE | 1 × 10/100/1000Base-T auto-sensing downlink connectivity (RJ-45) port. IEEE 802.3af PoE-PSE compliant. |
| PT | One pair of passive Pass-Through ports (two RJ-45, back and bottom) |
Note: When the AP311H is powered by an 802.3at or DC power source, the PoE-out (PoE-PSE) functionality is enabled on port Eth3/PSE, supplying (1) maximum output of 12W while USB is active, or (2) maximum output of 14.5W while USB is inactive.
Figure 5 Gigabit Ethernet Port Pin-Out
Table 2
Eth0 Port Pinout
| Connector | Pin | Signal Name | Function |
|
| 1 | BI_DA+ | Bi-directional pair +A, PoE Negative |
| 2 | BI_DA- | Bi-directional pair -A, PoE Negative | |
| 3 | BI_DB+ | Bi-directional pair +B, PoE Positive | |
| 4 | BI_DC+ | Bi-directional pair +C, PoE Positive | |
| 5 | BI_DC- | Bi-directional pair -C, PoE Positive | |
| 6 | BI_DB- | Bi-directional pair -B, PoE Positive | |
| 7 | BI_DD+ | Bi-directional pair +D, PoE Negative | |
| 8 | BI_DD- | Bi-directional pair -D, PoE Negative |
Table 3
Eth1~Eth2 Port Pinout
| Connector | Pin | Signal Name | Function |
|
| 1 | BI_DA+ | Bi-directional pair +A |
| 2 | BI_DA- | Bi-directional pair -A | |
| 3 | BI_DB+ | Bi-directional pair +B | |
| 4 | BI_DC+ | Bi-directional pair +C | |
| 5 | BI_DC- | Bi-directional pair -C | |
| 6 | BI_DB- | Bi-directional pair -B | |
| 7 | BI_DD+ | Bi-directional pair +D | |
| 8 | BI_DD- | Bi-directional pair -D |
Table 4
Eth3/PSE Port Pinout 
| Name | |||
|
| 1 | BI_DA+ | Bi-directional pair +A |
| 2 | BI_DA- | Bi-directional pair -A | |
| 3 | BI_DB+ | Bi-directional pair +B | |
| 4 | BI_DC+ | Bi-directional pair +C, PoE Positive | |
| 5 | BI_DC- | Bi-directional pair -C, PoE Positive | |
| 6 | BI_DB- | Bi-directional pair -B | |
| 7 | BI_DD+ | Bi-directional pair +D, PoE Negative | |
| 8 | BI_DD- | Bi-directional pair -D, PoE Negative |
Figure 6 AP311H Side View
USB Interface
- The AP311H access point is equipped with a USB 2.0 interface (Type A). When active, the USB port can supply up to 5V/0.5A power to an attached device.
Reset button
- Factory reset. Press the reset button for 5s, AP LEDs will quickly flash for 3s, then AP will restart and restore factory configurations.
Power
The AP311H access point supports a direct DC power adapter (48V DC nominal, sold separately) and Power over ethernet (PoE). The DC power connector port is located on the side of the device, as shown in Figure 6. When both power sources are available, DC power takes priority over PoE. AP supports the power adapter provided by HAN ONLY.
The PoE-in allows the Eth0 port to draw power from an 802.3at (preferred) source, or an 802.3af (optional) source. When powered by an 802.3at or DC power source, the PoE-out (PoE-PSE) functionality is enabled on port Eth3/PSE.
Before You Begin
- Refer to the sections below before beginning the installation process.
Pre-Installation Checklist
Before installing your AP311H access point, be sure that you have the following items:
- Gigabit Ethernet cable of the required length.
- One of the following power sources:
- IEEE 802.3af/at compliant Power over Ethernet (PoE) source.
- HAN AC-DC adapter (sold separately), Output voltage DC 48V, output current ≥ 0.6A is recommended.
- A PC terminal or a notebook
Identifying Specific Installation Locations
- The AP311H access point must be secured to an HAN-approved wall or to a desk mount kit (sold separately).
- The installation position should be as close as possible to the center of the required coverage area and should be free from obstructions or obvious sources of interference.
- Minimize the number of obstructions (such as walls) between the AP and user terminals.
- Electronic equipment or devices (such as microwave ovens) which may produce radio frequency noise should be away from the installation position of the AP.
It is strictly prohibited to install around stagnant water, water seepage, leakage or condensation. Avoid cable condensation or water seepage along the cables connecting to the AP.
Installing the Access Point
The AP311H can be mounted into a single-gang wall box with a shipped mounting plate.
Installing all HAN access points requires professional training. The AP must be professionally installed by a qualified engineer familiar with the WLAN system. Failure to properly install this product may result in physical injury and/or damage to property.
Use the steps below to install your AP311H.
- Begin by removing the existing data wall plate (if, applicable).
- Make sure that there is an uplink Ethernet cable with an RJ-45 plug in the wall box. If not, please crimp an RJ-45 plug (not supplied) on the Ethernet cable.
- Align the mounting holes of the AP311H mounting plate with mounting holes in your gang box, as shown in Figure 7 and Figure 8. For a worldwide single gang outlet box, the mounting plate has two sets of mounting holes to meet the individual installation position requirement.
Figure 7 Mounting Plate to Gang Box(1)
Figure 8 Mounting Plate to Gang Box (2)
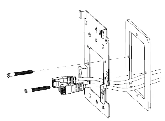
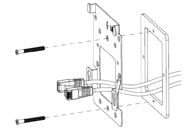
- Insert the two included slotted screws and tighten them to secure the mounting plate.
- Connect the uplink Ethernet cable to the Eth0 port on the back of the AP311H. Do the same for the PT port, if, used.
- Align the mounting slots on the back of the AP311H with the corresponding mounting posts on the wall mounting plate as shown in Figure 9.
- Push the access point against the posts and downward until the posts engage the slots at the top of the slots.
Figure 9 Attaching AP311H to wall mounting plate.
Verifying Post-Installation Connectivity
- The integrated LED on the access point can be used to verify that the AP is receiving power and initializing successfully.
Product Specifications
Dimensions/Weight
Single AP excluding packing box and accessories:
- 95 mm (W) x 34.45 mm (D) x 161.5 mm (H)
- 3.74” (W) x 1.35” (D) x 6.35” (H)
- 237g/0.522lb
Single AP including packing box and accessories:
- 115 mm (W) x 54 mm (D) x 182 mm (H)
- 4.52” (W) x 2.13” (D) x 7.17”(H)
- 417g/0.919lb
Power
- Supports direct DC power and Power over Ethernet(PoE)
- Power over Ethernet (PoE): 48 V DC (nominal) IEEE 802.3af/ 802.3at compliant source
- Maximum power consumption with PSE function and USB load: 25W
Environmental
Operating
- Temperature: 0°C to +50°C
- Humidity: 5% to 95% non-condensing
Storage and transportation
- Temperature: -40°C to +70°C
For additional specifications on this product, please refer to the Datasheet.
Introduction
This document contains domestic and international regulatory compliance information for the access point AP311H. To ensure mthat this device complies with the regulatory standards for your region, please refer to the content below.
FCC Part 15
This equipment has been tested and found to comply with the limits for a Class B digital device, pursuant to Part15 of the FCC Rules. These limits are designed to provide reasonable protection against harmful interference in a residential installation. This equipment generates, uses, and can radiate radio frequency energy and, if not installed and used in accordance with the instructions, may cause harmful interference to radio communications. However, there is no guarantee that interference will not occur in a particular installation. If this equipment does cause harmful interference to radio or television reception, which can be determined by turning the equipment off and on, the user is encouraged to try to correct the interference by one of the following measures:
- Reorient or relocate the receiving antenna.
- Increase the separation between the equipment and receiver.
- Connect the equipment into an outlet on a circuit different from that to which the receiver is connected.
- Consult the dealer or an experienced radio/TV technician for help.
This device complies with Part 15 of the FCC Rules. Operation is subject to the following two conditions:
- This device may not cause harmful interference.
- this device must accept any interference received, including interference that may cause undesired operation.
FCC Caution: Any changes or modifications not expressly approved by the party responsible for compliance could void the user’s authority to operate this equipment.
RF exposure warning
This equipment complies with FCC radiation exposure limits set forth for an uncontrolled environment. This product may not be collocated or operated in conjunction with any other antenna or transmitter This equipment must be installed and operated in accordance with provided instructions and the antenna(s) used for this transmitter must be installed to provide a separation distance of at least 20 cm from all persons and must not be collocated or operating in conjunction with any other antenna or transmitter.
For EU
HAN NETWORKS CO., hereby declares that these models are compliant with the essential requirements and other provisions of Directive 2014/53/EU. For the complete CE DoC, please access the website below to get more information: https://businessportal2.alcatel-lucent.com/
Waste Electrical and Electronic Equipment (WEEE) Statement
HAN products are subject to separate collection and treatment in the EU Member States, Norway, and Switzerland when they are at end of life, and therefore are marked with the symbol shown. The treatment applied to these products in these countries shall be compliant with the applicable national laws which are under the implementation of Directive 2012/19/EU on Waste of Electrical and Electronic Equipment (WEEE).
European Union RoHS
HAN products are compliant with the EU Restriction of Hazardous Substances Directive 2011/65/EU (RoHS). EU RoHS restricts the use of specific hazardous materials in the manufacture of electrical and electronic equipment. The restricted materials under the Directive are Lead (including Solder used in printed circuit assemblies), Cadmium, Mercury, equivalent Chromium, and Bromine.
Global RF health information
RF Radiation Exposure Statement: This equipment complies with FCC and CE RF radiation exposure limits. This equipment should be installed and operated with a minimum distance of 20 cm between the equipment and a human’s body for 2.4 GHz and 5 GHz operations. This transmitter must not be co-located or operating in conjunction with any other antenna or transmitter.
The device is restricted to indoor use only when operating in the 5150 to 5350 MHz frequency range.
successful communication.




















