MASTECH MAS830B Digital Multimeter
MGL GROUP U.K. LIMITED
14 Weller St, London, SE1 1QU, UK
Tel: +34 985-08-18-70
Email: [email protected]
Special attention should be paid when using the test and measurement instrument because improper usage may cause electric shock and damage the equipment.
- Use proper measurement category (CAT), voltage, and amperage-rated probes, test leads, and adapters for the measurement.
- Do not use or store the device around explosive gas, vapor, or under high temperature and humidity.
- When handling the test probes and crocodile clips, keep your fingers behind the physical guard.
- Examine the measuring test leads (if present) before use. Any element of which the insulation deteriorates (even partially), replace them with proper functional test leads.
- Connect the common test lead before the live test lead and remove the live test lead before the common test lead.
- Before measuring current, make sure the instrument fuses available and disconnect the power supply to the circuit test
- Remove the batteries if the device is not used for an extended period of time, or if stored in temperatures above 45 °C. If the batteries are not removed, battery leakage can damage the device.
Contents

Specifications
| S/ pХаeрciаfiкcтaеtрioиnсsти/Eкsиpecificaciones /Caractéristiques / 規格 / 規格 | |||
| Range | Resolution | Accuracy Exactitud Précision準正精度確度Точность
±(1.2%+10)
±(0.5%+3) ±(0.8%+5)
±(1.0%+3) ±(1.0%+3) ±(1.0%+5) ±(1.5%+5) ±(3.0%+10)
±(0.8%+5) ±(0.8%+2) ±(1.0%+5) | |
| Rango | Resolución | ||
| Intervalle | Résolution | ||
| 量測程定レンジ | 解像度 Разрешение | ||
| Диапазон | |||
| V~ | 200V/600V | 0.1V/1V | |
| V | 200mV/2V/20V/200V 600V | 0.1mV/1mV/10mV/0.1V 1V | |
| 20μA | 0.01μA | ||
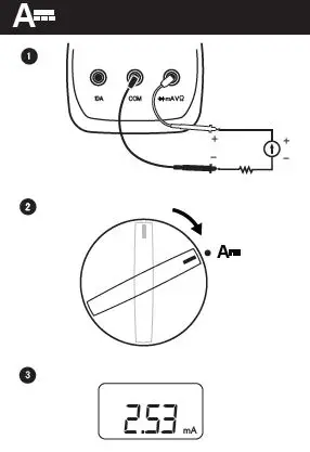
| A | 200μA/2mA 20mA 200mA | 0.1μA/1μA 10μA 0.1mA | |
| 10A | 10mA | ||
| Ω | 200Ω 2kΩ/20kΩ/200kΩ 2MΩ | 0.1Ω 1Ω/10Ω/0.1kΩ 1kΩ | |
HOW TO ASSUMBOL





























