
Quick Start Guide
M832
Digital Multimeter
700019181 May 2021 Rev. 1
Specifications are subject to change without notification.![]()
Special attention should be paid when using the test and measurement instrument because improper usage may cause electric shock and damage the equipment.
– Use proper measurement category (CAT), voltage, and amperage rated probes, test leads, and adapters for the measurement.
– Do not use or store the device around explosive gas, vapor, or under high temperature and humidity.
– When handling the test probes and crocodile clips, keep your fingers behind the physical guard.
– Examine the measuring test leads (if present) before use. Any element of which the insulation deteriorates (even partially), replace them with proper functional test leads.
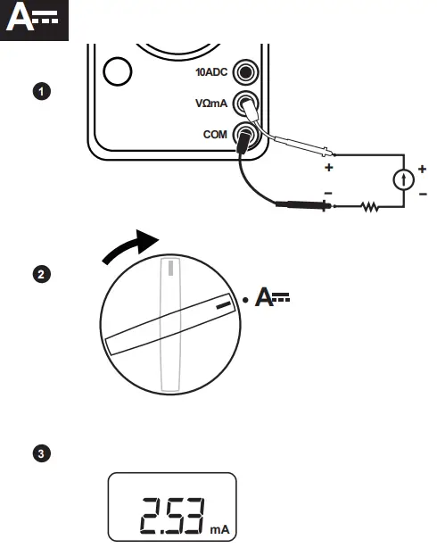
– Connect the common test lead before the live test lead and remove the live test lead before the common test lead.
– Before measuring current, make sure the instrument fuses available and disconnect the power supply to the circuit test
– Remove the batteries if the device is not used for an extended period of time, or if stored in temperatures above 45 °C. If the batteries are not removed, battery leakage can damage the device.
Contents![]()
Specifications
| Range | Resolution | Accuracy |
| V~ 200V/600V | 100mV/1V | ±(1.2%+10) |
V 200mV/2V/20V/200V600V | 0.1mV/1mV/10mV/100mV 1V | ±(0.5%+2) ±(0.8%+2) |
A 200μA/2mA/20mA200mA 10A | 0.1μA/1μA/0.01mA 0.1mA 10mA | ±(1.0%+2) ±(1.5%+2) ±(3.0%+2) |
| R 200Ω 2kΩ/20kΩ/200kΩ 2MΩ | 0.1Ω/1Ω/10Ω/100Ω 1kΩ | ±(0.8%+3) ±(0.8%+2) ±(1.0%+2) |
![]() | ![]() |

![]() | ![]() |
![]() | ![]() |

http://www.mastech-group.com/support.php?n=0
USA
MGL AMERICA, INC.
2810 Coliseum Centre Drive,
Ste. 100 Charlotte,
North Carolina 28217 USA
Tel: +1 833-533-5899
Email: [email protected]
SKU Number: M832CBGLO
200mV/2V/20V/200V
























