

Quick Start Guide
MS8321A
Digital Multimeter
Special attention should be paid when using the test and measurement instrument because improper usage may cause electric shock and damage the equipment.
– Use proper measurement category (CAT), voltage, and amperage rated probes, test leads, and adapters for the measurement.
– Do not use or store the device around explosive gas, vapor, or under high temperature and humidity.
– When handling the test probes and crocodile clips, keep your fingers behind the physical guard.
– Examine the measuring test leads (if present) before use. Any element of which the insulation deteriorates (even partially), replace them with proper functional test leads.
– Connect the common test lead before the live test lead and remove the live test lead before the common test lead.
– Before measuring current, make sure the instrument fuses available and disconnect the power supply to the circuit test
– Remove the batteries if the device is not used for an extended period of time, or if stored in temperatures above 45 °C. If the batteries are not removed, battery leakage can damage the device.
Contents
Specifications
![]() | 2V/20V/200V 600V | 1mV/10mV/0.1V 1V | ±(0.8%+3) ±(1.2%+3) |
![]() | 200mV/2V/20V/200V 600V | 0.1mV/1mV/10mV/0.1V 1V | ±(0.7%+1) ±(0.8%+2) |
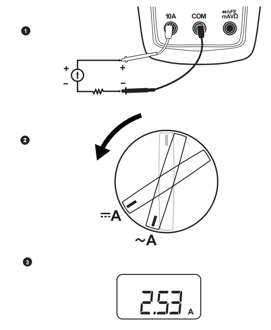
![]() | 2mA/20mA 200mA 10A | 1μA/10μA 0.1mA 0.01AV | ±(1.2%+5) ±(1.8%+5) ±(3.0%+10) |
![]() | 200μA/2mA/20mA 200mA 10A | 0.1μA/1μA/10μA 0.1mA 0.01A | ±(1.0%+3) ±(1.5%+1) ±(2.0%+5) |
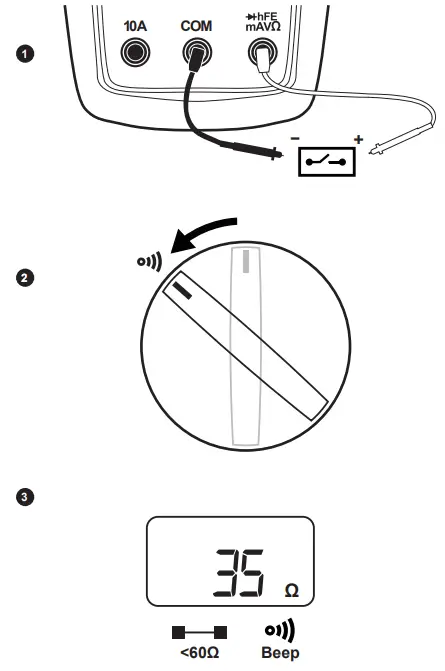
| 200Ω 2kΩ/20kΩ/200kΩ 20MΩ | 0.1Ω 1Ω/10Ω 10kΩ | ±(1.0%+3) ±(1.0%+1) ±(1.0%+5) |
![]() ![]() | ![]() ![]() | |
![]() | ![]() | ![]() |
hFE | |||
![]() | ![]() | ![]() | ![]() |

http://www.mastech-group.com/support.php?n=0
CAT III 600V 1 YEAR
LIMITED WARRANTY
700019318 June 2021 Rev. 1
Specifications are subject to change without notification.
USA
MGL AMERICA, INC. 2810 Coliseum Centre Drive,
Ste. 100 Charlotte, North Carolina 28217 USA
Tel: +1 833-533-5899
Email: [email protected]
![]()






























