MASTECH M838 Digital Multimeter
Contents
Specifications
| Range | Resolution | Accuracy | |
![]() | 200V/600V | 100mV/1V | ±(1.2%+10) |
![]() | 200mV/2V/20V/200V 600V | 0.1mV/1mV/10mV/100mV 1V | ±(0.5%+2) ±(0.8%+2) |
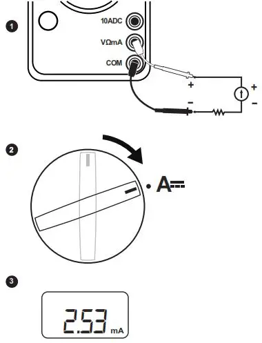
| 200µA/2mA/20mA 200mA 10A | 0.1µA/1µA/0.01mA 0.1mA 10mA | ±(1.0%+2) ±(1.5%+2) ±(3.0%+2) | |
| R | 200Ω 2kΩ/20kΩ/200kΩ 2MΩ | 0.1Ω 1Ω/10Ω/100Ω 1kΩ | ±(0.8%+3) ±(0.8%+2) ±(1.0%+2) |
| °C | -2~-10°C -10~-300°C 300~1370°C | ±(10%+2) ±(1.0%+3) ±2.0 |













- hFE

- °C

Important Note
The special attention should be paid when using the test and measurement instrument because the improper usage may cause electric shock and damage the equipment.
- Use proper measurement category (CAT), voltage, and amperage rated probes, test leads, and adapters for the measurement.
- Do not use or store the device around explosive gas, vapor, or under high temperature and humidity.
- When handling the test probes and crocodile clips, keep your fingers behind the physical guard.
- Examine the measuring test leads (if present) before use. Any element of which the insulation is deteriorated (even partially), replace them with proper functional test leads.
- Connect the common test lead before the live test lead and remove the live test lead before the common test lead.
- Before measuring current, make sure the instrument fuses available and disconnect the power supply to the circuit test.
- Remove the batteries if the device is not used for an extended period of time, or if stored in temperatures above 45 °C. If the batteries are not removed, battery leakage can damage the device.

































