COMMERCIAL ELECTRIC WR484056LSL Square Lens Led Wrap Light

THANK YOU
We appreciate the trust and confidence you have placed in Commercial Electric through the purchase of this LED lens wrap light. We strive to continually create quality products designed to enhance your home. Visit us online to see our full line of products available for your home improvement needs. Thank you for choosing Commercial Electric!
Safety Information
WARNING:
Carefully read and understand this manual before beginning the assembly and installation. Failure to do so could lead to electric shock, fire, or other injuries which could be hazardous or even fatal.
WARNING:
Before beginning the installation, disconnect the power to the circuit by turning off the circuit breaker or removing the fuse.
WARNING:
It is recommended that this fixture be installed by a licensed electrician and should be installed in accordance with all state and local building and electrical codes.
WARNING:
Risk of fire or electric shock. Installation requires a person familiar with the construction and operation of the light fixture’s/luminaire’s electrical system and the hazard involved. If not qualified, do not attempt installation. Contact a qualified electrician.
IMPORTANT:
Changes or modifications not expressly approved by the party responsible for compliance could void the user’s authority to operate the equipment.
NOTICE:
This equipment has been tested and found to comply with the limits for a Class B digital device, pursuant to Part 15 of the FCC Rules. These limits are designed to provide reasonable protection against harmful interference in a residential installation. This equipment generates, uses and can radiate radio frequency energy and, if not installed and used in accordance with the instructions, may cause harmful interference to radio communications. However, there is no guarantee that interference will not occur in a particular installation. If this equipment does cause harmful interference to radio or television reception, which can be determined by turning the equipment off and on, the user is encouraged to try to correct the interference by one or more of the following measures:
- Reorient or relocate the receiving antenna.
- Increase the separation between the equipment and the receiver.
- Connect the equipment into an outlet on a circuit different from that to which the receiver is connected.
- Consult the dealer or an experienced radio/TV technician for help
FCC responsible party: Precision Consumer Product Group, LLC. 11024 Balboa Boulevard Suite 1710 Granada Hills, CA 91344 1-866-237-9983
Warranty
WHAT IS COVERED
The manufacturer warrants this lighting fixture to be free from defects in materials and workmanship for a period of five (5) years from date of purchase. This warranty applies only to the original consumer purchaser and only to products used in normal use and service. If this product is found to be defective, the manufacturer’s only obligation,and your exclusive remedy, is the repair or replacement of the product at the manufacturer’s discretion, provided that the product has not been damaged through misuse, abuse, accident, modifications, alterations, neglect, or mishandling.
WHAT IS NOT COVERED
This warranty shall not apply to any product that is found to have been improperly installed, set-up, or used in any way not in accordance with the instructions supplied with the product. This warranty shall not apply to a failure of the product as a result of an accident, misuse, abuse, negligence, alteration, faulty installation, or any other failure not relating to faulty material or workmanship. This warranty shall not apply to the finish on any portion of the product, such as surface and/or weathering, as this is considered normal wear and tear. The manufacturer does not warrant and specifically disclaims any warranty, whether express or implied, of fitness for a particular purpose, other than the warranty contained herein. The manufacturer specifically disclaims anyliability and shall not be liable for any consequential or incidental loss or damage, including but not limited to any labor / expense costs involved in the replacement or repair of said product. Contact the Customer Service Team at 1-877-527-0313 or visit www.HomeDepot.com.
Pre-Installation
PLANNING INSTALLATION
Before beginning assembly, installation, or operation of the product, make sure all parts are present. Compare parts with the package contents list. If any part is missing or damaged, do not attempt to assemble, install, or operate the product. Contact customer service for replacement parts.
NOTE: Keep your receipt and these instructions for proof of purchase.
If you are unfamiliar with electrical installations, we recommend you contact a qualified electrician to do the installation.
NOTE: Two people are recommended for the installation of this light fixture.
TOOLS REQUIRED

HARDWARE INCLUDED

| Part | Description | Quantity |
| AA | Phillips head wood screws | 4 |
| BB | Dry wall anchors | 4 |
| CC | Wire nuts | 3 |
PACKAGE CONTENTS
| Part | Description | Quantity |
| A | Fixture | 1 |
| B | Lens | 1 |
| C | Channel cover | 1 |
| D | Channel cover screws | 2 |
Select a suitable location that can support the weight of the fixture. Determine the method of mounting before drilling.
WARNING: RISK OF ELECTRIC SHOCK. Ensure the electricity to the wires you are working on is shut off. Either remove the fuse or turn off the circuit breaker before removing the existing light fixture or installing the new one.
With power disconnected to your electrical box, remove the existing fixture. Make a sketch of how the current fixture is wired (by wire color) or mark the wires with masking tape and a pencil so you will know how to properly reconnect the wires to the new LED light fixture.
CAUTION: Before beginning installation turn off the circuit breaker and light switch.
Installation
Removing the lens
- Remove the lens (B) from the fixture (A).
- Loosen the two screws (D) and remove the channel cover (C) from the fixture (A).

Removing the knockout
- Identify the location where the fixture (A) will be installed. Using a screwdriver, remove the appropriate knockout(s) (1) to properly position the fixture.
- Locate the mounting holes (2) for the next step.
- If multiple fixtures are to be row mounted, use a screwdriver to remove the end knockout (3).

Preparing the mounting location
- Position the fixture and mark the location of the mounting holes.
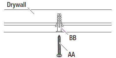
- Using a 1/8 in. drill bit, drill pilot holes at the marked locations.
- If not installing to studs, use a hammer (not included) to install four drywall anchors (BB). Then install the four wood screws (AA) into the drywall anchors (BB) leaving a 3/8 in. gap between the screw head and the mounting surface.

If mounting to wall studs, install the four wood screws (AA) directly into the mounting surface leaving a 3/8 in. gap between the screw head and the mounting surface.

Installing and wiring the fixture
WARNING: It is recommended that this fixture be installed by a licensed electrician and should be installed in accordance with all state and local building and electrical codes.
There are three methods for installing and wiring this fixture. Select from one of the three methods described below based upon your installation requirements.
4A JUNCTION BOX INSTALLATION
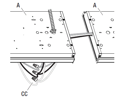
- Ensure 3/8 in. of the wire sheathing is removed from the end of the black (1), white (2), and green/yellow (3) fixture wires in order to expose the copper wires.
- Connect the black fixture wire to the black supply wire, the white fixture wire to the white supply wire, and the green/yellow fixture wire to the green supply wire by twisting the ends together and securing with wire nuts (CC).
- Gently tuck all wire connections back into the junction box.
- Guide the heads of the four installed wood screws (AA) into the keyhole slots of the fixture (A).
- Slide the fixture (A) until the wood screws (AA) are secured into the narrow ends of the keyhole slots.
- Tighten the wood screws (AA) until the fixture is secured in place.

4B CONDUIT INSTALLATION
- Pull the supply conduit wires (1) into the fixture (A) using one of the knockout holes and position the conduit wires along the fixture channel.
- Guide the heads of the four installed wood screws (AA) into the keyhole slots of the fixture (A) as shown in the Junction Box Installation illustration in step 4A.
- Slide the fixture (A) until the wood screws (AA) are secured into the narrow ends of the keyhole slots.
- Tighten the wood screws (AA) until the fixture is secured in place.
- Ensure 3/8 in. of the wire sheathing is removed from the end of the black, white, and green/ yellow fixture wires in order to expose the copper wires.
- Connect the black fixture wire to the black supply wire, the white fixture wire to the white supply wire, and the green/yellow fixture wire to the green supply wire by twisting the ends together and securing with wire nuts (CC).

4C ROW MOUNTING INSTALLATION
NOTE: For a row mounting installation, the installer will need to supply wires that are longer in length in order to make the wiring connections.
- Pull the supply wires into the fixture (A) using one of the knockout holes and position the supply wires along the fixture channel.
- Guide the heads of the four installed wood screws (AA) into the keyhole slots of the fixture (A) as shown in the Junction Box Installation illustration in step 4A.
- Slide the fixture (A) until the wood screws (AA) are secured into the narrow ends of the keyhole slots.
- Tighten the wood screws (AA) until the fixture is secured in place.
- Mount the second fixture and then pull the conduit wires from the second fixture into the side knockout hole of the first fixture.
- Ensure 3/8 in. of the wire sheathing is removed from the end of the black, white, and green/ yellow fixture wires in order to expose the copper wires.
- Connect the black wires from both fixtures to the black supply wire. Repeat for the white and green/yellow wires. Secure all wiring connections together using the wire nuts (CC).

Attaching the lens
- If necessary, gently position all wiring connections along the fixture channel. Then place the channel cover (C) over the fixture channel and secure to the fixture (A) using the channel cover screws (D).
- Carefully hook one side of the lens (B) into one side of the fixture base (A).
- Carefully raise and hook the other side of the lens (B) into place on the fixture (A). You may need to pry this side of the lens (B) back slightly in order to get it to fit into place on the fixture.

Care and Cleaning
CAUTION: Before attempting to clean the fixture, disconnect the power to the fixture by turning the breaker off or removing the fuse from the fuse box.
- Clean the fixture with a soft, dry cloth.
- Do not use cleaners with chemicals, solvents, or harsh abrasives.
- Do not use liquid cleaner on the LEDs, LED driver, or wiring inside the light fixture.
Troubleshooting
WARNING: Before doing any work on the fixture, disconnect power to the light fixture.
| Problem | Probable Cause | Solution |
| The fixture will not light. | The power is off. | Ensure the power supply is on. |
| The circuit breaker is off. | Ensure the circuit breaker is in the on position. | |
| There is a bad connection. | Check to ensure proper wire connections are made. Contact a qualified electrician. | |
| There is a defective switch. | Contact a qualified electrician. | |
| The fuse blows or the circuit breaker trips when the light is turned on. | The wires are crossed or the power wire is grounding out. | Check the wire connections. Contact a qualified electrician or call Commercial Electric customer service 1-877-527-0313. |
Questions, problems, missing parts? Before returning to the store, call Commercial Electric Customer Service 8 a.m. – 7 p.m., EST, Monday-Friday, 9 a.m. – 6 p.m., EST, Saturday 1-877-527-0313 HOMEDEPOT.COM Retain this manual for future use.




















