
LED WRAPAROUND FIXTURE
SAFETY AND INSTALLATION INSTRUCTIONS
WARNING
- Before installing, servicing, or performing routine maintenance upon this equipment, follow these general precautions.
- To reduce the risk of death, personal injury, or property damage from fire, electric shock, falling parts, cuts/abrasions, and other hazards, read all warnings and instructions included with and on the fixture box and all fixture labels.
- Proper grounding is required to ensure safety.
- Power must be turned off at the breaker before installation or maintenance.
- This product must be installed in accordance with the applicable installation code by a person familiar with the construction and operation of the product and the hazards involved.
- Wear gloves and eye protection at all times while installing, servicing, or performing maintenance on the luminaire, and avoid direct eye exposure to the light source while it is on.
- Do not install damaged product. Inspect luminaire for damage that may have occurred during transit. If damaged, contact the manufacturer immediately.
- These instructions do not purport to cover all details or variations in equipment nor to provide every possible contingency to meet in connection with installation, operation, or maintenance. Should further information be desired or should particular problems arise which are not covered sufficiently for the purchaser’s or owner’s purposes, contact the manufacturer.
WARNING
- If replacing a fixture, remove existing fixture and make a sketch of wiring configuration (by color), or mark wires with masking tape for identification.
CAUTION
- Be careful not to misplace any of the screws or parts needed for installing the fixture.
- Before beginning installation turn off the circuit breaker and light switch.
Package Contents

AA: Small Pln Cross Machine Screws X2 BB: Wire Nuts X3 P3

CC: Large Pointed Pin Cross Woods X4 DD: Wall Anchors X4

EE: Terminal Linking Attachment X1 (Optional:EE or FF)
![]()
FF: Terminal Linking Cable X1 (Optional:EE or FF)
Parts
A-Lamp Base
B-Diffuser

Remove diffuser (Part B) from lamp base (Part A)
Figure 1
- GG: End Cap
Installation Instructions
Junction Box Installation
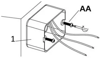
- Install the two screws (AA) into the junction box. (Figure 2)
NOTE: Leave 1/4″ of screw exposed to accommodate lamp base. - Take out the cables from the lamp base. (Figure 3)
- Remove the heat shrink tubing wrap from the ends of the black, white, and green wires in order to expose the copper wires prior to connecting the AC wires to the corresponding wires (BLACK to BLACK, WHITE to WHITE and GREEN to GREEN) in the junction box and secure using wire nuts (Part BB).
Figure 2

- Junction Box
Figure 3

- Take out the cables
NOTE: For proper connection, place the wire nuts (BB) over wires and twist clockwise until tight. (Figure 4)
Figure 4

OPTIONAL: Wrap connected wire nuts with electrical tape. Do not perform this step if you are using this light as a linked light.
Attaching Lamp Base
- Attach the lamp base to the junction box by aligning the holes on the lamp base (Figure 1, Part A) with the screws on the junction box.
- Turn the lamp base clockwise to lock in place and tighten screws to ensure the fixture is secure and will not move. (Figure 5)
Figure 5

Attaching the Diffuser
- To install diffuser (Figure 1, Part B), start at one end of the lamp base and insert diffuser slot onto the edge of the lamp base (Figure 6).
- Carefully squeeze the diffuser to engage the opposite side with the lamp base. Continue this action down the length of the diffuser until fully installed onto the lamp base. (Figure 6)
- Turn on the breaker and test the light.
Figure 6

Keyhole Installation
- Take out the cables from the lamp base. (Figure 7)
- Align hole with the supply wire location on the mounting location with one hand while marking the location of the four keyhole slots at each end of the housing. (Figure 8)
Figure 7

- Take out the cables
Figure 8

- Mark these locations
Drywall Mounting:
- If the mounting holes go through drywall without a stud, drill four small pilot holes by a 1/8″ drill bit (not included) and install wall anchors (DD) into the holes with a hammer (not included). Install the four wood screws (CC) into the mounting surface but leave about a 3/8″ gap between the screw head and mounting surface.
Wall Setup Mounting:
- If the mounting holes go through wall studs, drill four small pilot holes using a 5/32″ drill bit (not included) for the wood screws (CC). Install the four wood screws (CC) into the mounting surface but leave about a 3/8″ gap between the screw head and mounting surface. (Figure 9)

Figure 9
3. Remove the heat shrink tubing wrap from the ends of the black, white, and green wires in order to expose the copper wires prior to connecting the AC wires to the corresponding wires (BLACK to BLACK, WHITE to WHITE and GREEN to GREEN) in the junction box and secure using wire nuts (Part BB). (Figure 10)
Figure 10
NOTE: For proper connection, place the wire nuts (BB) over wires and twist clockwise until tight. (Figure 10) OPTIONAL: Wrap connected wire nuts with electrical tape. Do not perform this step if you are using this light as a linked light.
4. Hide cables with wire nuts in the junction box. Guide the heads of the four wood screws into the keyhole slots and slide the lamp base (Figure 1, Part A) in the direction such that the wood screw heads rest over the narrow part of the keyhole slot. Ensure that the fixture is supported and tighten the four wood screws until the fixture is secured to the mounting surface. (Figure 11)
5. To install diffuser (Figure 1, Part B) – starting at one end of lamp base, insert diffuser slot onto edge of lamp base – See Figure 12. Carefully squeeze diffuser to engage opposite side with lamp base. Continue this action down length of diffuser until fully installed onto lamp base. (Figure 12). Turn on breaker and test light function.


Figure 11 Figure 12
Connection Options
- Option 1: If linking two or more wraparounds together, power to each subsequent light can be made by using the linking attachment (EE) or the linking cable (FF) where only the first light needs to be electrically hardwired and all linked lights only need to be mechanically secured to the mounting surface.
- Option 2: If no lights are connected, use end cap (Part GG).
Linking Cable
- Use included linking cable (FF) in situations where lights s/b apart, plug linking cable into end of wraparound light and connect other end to next light. Use included linking attachment (EE) when lights are mounted end to end.
NOTE: Linking cable (or linking attachment) will only fit one end of wraparound light. Be sure to match up “F” of connector with “F” of light and “M” of connector with “M” of light. For the first connected product, please ensure the connector connects to the “M” side of the product. (Figure 13)

Figure 13
Operation
Testing the Light Fixture
- Turn on the circuit breaker and light switch.
NOTE: When first turned on wait about 1 minute for the circuitry to calibrate.
972-535-0926 | pltsolutions.com | ver 092322



















