PLT SOLUTIONS PLT-90180 4 ft. Wraparound Fixture

SAFETY AND INSTALLATION INSTRUCTIONS
WARNING
- Before installing, servicing, or performing routine maintenance upon this equipment, follow these general precautions.
- To reduce the risk of death, personal injury, or property damage from fire, electric shock, falling parts, cuts/abrasions, and other hazards, read all warnings and instructions included with and on the fixture box and all fixture labels.
- Proper grounding is required to ensure safety.
- Power must be turned off at the breaker before installation or maintenance.
- Installation, service, and maintenance of luminaires should be performed by a qualified licensed electrician.
- Wear gloves and eye protection at all times while installing, servicing, or preforming maintenance on the luminaire, and avoid direct eye exposure to the light source while it is on.
- Do not install damaged product. Inspect luminaire for damage that may have occurred during transit. If damaged, contact the manufacturer immediately.
- These instructions do not purport to cover all details or variations in equipment nor to provide every possible contingency to meet in connection with installation, operation, or maintenance. Should further information be desired or should particular problems arise which are not covered sufficiently for the purchaser’s or owner’s purposes, contact the manufacturer.
WARNING
- To prevent wiring damage or abrasion, do not expose wiring to edges of sheet metal or other sharp objects.
- Do not make or alter any open holes in an enclosure of wiring or electrical components during kit installation.
CAUTION
- Verify that supply voltage is correct by comparing it with the luminaire label.
- All wiring connections should be capped with UL approved wire connectors.
- The green ground screw is in the proper location. Do not relocate.
- Minimum 90° supply conductors.
Installation Instructions
- Remove product from packaging.

- Remove lens and cover.

- Install the fixture housing, then make electrical connections according to code. For mounting, use the provided mounting holes on each end of the fixture housing.

- Install the cover.

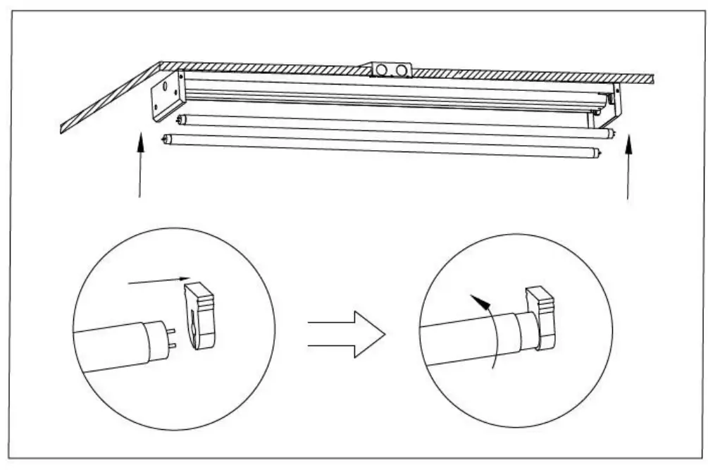
- Install the bulb into the socket.

- Install the lens. Install the on one side of the fixture and rotate to engage the opposite side.

- The installation is completed.

Wiring Diagram

General Wiring Diagram and Adapter Instructions
For Single-Ended Power Applications
- Place the black conductor exiting the lamp holder on one end of the fixture into one of the black ports of the adapter.
- Place the white conductor exiting the lamp holder on the same end of the fixture into one of the white ports of the adapter.
- One black port and one white port of the adapter will remain “open” or unused.
- Connect the black conductor exiting the back of the adapter to the black (line) electrical supply.
- Connect the white conductor exiting the back of the adapter to the white (neutral) electrical supply.
- Connect the green ground conductor fixed to the fixture body to the green (ground) electrical supply.

For Double-Ended Power Applications
- Place the black and white conductors exiting the lamp holder on one end of the fixture into each of the black ports of the adapter.
- Place the black and white conductors exiting the lamp holder on the other end of the fixtures into each of the white ports of the adapter.
- Connect the black conductor exiting the back of the adapter to the black (line) electrical supply.
- Connect the white conductor exiting the back of the adapter to the white (neutral) electrical supply.
- Items 1-5 above effectively connect
a. The lamp holders on one end of the fixture to black (line) electrical supply and
b. The lamp holders on the other end of the fixture to white (neutral) electrical supply. - Connect the green ground conductor fixtures to the fixtures body to the green (ground) electrical supply

CUSTOMER SUPPORT
5 972-535-0926 I pltsolutions.com I ver 013023





























