Commercial Electric 568061410 Prismatic Commercial Led Wrap Light User Manual
Safety Information
WARNING: Carefully read and understand the information given in this manual before beginning the assembly and installation. Failure to do so could lead to electric shock, fire, or other injuries which could be hazardous or even fatal
WARNING: Ensure the electricity to the wires you are working on is shut off. Either remove the fuse or turn off the circuit breaker.
WARNING: Risk of fire or electric shock. Installation requires a person familiar with the construction and operation of the light fixture’s/ luminaire’s electrical system and the hazard involved. If not qualified, do not attempt installation. Contact a qualified electrician.
WARNING: Changes or modifications not expressly approved by the party responsible for compliance could void the user’s authority to operate the equipmen
NOTICE: This equipment has been tested and found to comply with the limits for a Class B digital device, pursuant to Part 15 of the FCC Rules. These limits are designed to provide reasonable protection against harmful interference in a residential installation. This equipment generates, uses and can radiate radio frequency energy and, if not installed and used in accordance with the instructions, may cause harmful interference to radio communications.
However, there is no guarantee that interference will not occur in a particular installation. If this equipment does cause harmful interference to radio or television reception, which can be determined by turning the equipment off and on, the user is encouraged to try to correct the interference by one or more of the following measures:
- Reorient or relocate the receiving antenna.
- Increase the separation between the equipment and the receiver.
- Connect the equipment into an outlet on a circuit different from that to which the receiver is connected.
- Consult the dealer or an experienced radio/TV technician for help.
Warranty
WHAT IS COVERED
The manufacturer warrants this lighting fixture to be free from defects in materials and workmanship for a period of five (5) years from date of purchase. This warranty applies only to the original consumer purchaser and only to products used in normal use and service. If this product is found to be defective, the manufacturer’s only obligation, and your exclusive remedy, is the repair or replacement of the product at the manufacturer’s discretion, provided that the product has not been damaged through misuse, abuse, accident, modifications, alterations, neglect, or mishandling.
WHAT IS NOT COVERED
This warranty shall not apply to any product that is found to have been improperly installed, set-up, or used in any way not in accordance with the instructions supplied with the product. This warranty shall not apply to a failure of the product as a result of an accident, misuse, abuse, negligence, alteration, faulty installation, or any other failure not relating to faulty material or workmanship. This warranty shall not apply to the finish on any portion of the product, such as surface and/or weathering, as this is considered normal wear and tear.
The manufacturer does not warrant and specifically disclaims any warranty, whether express or implied, of fitness for a particular purpose, other than the warranty contained herein. The manufacturer specifically disclaims any liability and shall not be liable for any consequential or incidental loss or damage, including but not limited to any labor / expense costs involved in the replacement or repair of said product. Contact the Customer Service Team at 1-877-527-0313 or visit www.HomeDepot.com
Pre-Installation
PLANNING INSTALLATION
Before beginning assembly, installation or operation of product, make sure all parts are present. Compare parts with the package contents list. If any part is missing or damaged, do not attempt to assemble, install or operate the product. Contact customer service for replacement part
NOTE: Keep your receipt and these instructions for proof of purchase.
If you are unfamiliar with electrical installations, we recommend you contact a qualified electrician to do the installation
NOTE: Two people are recommended for the installation of this light fixture.
Tools Required
- Wire Strippers

- Safety Goggles

- Ladder

- Gloves

- Flathead Screwdriver

- Phillips Screwdrive

- Wire Cutters

- Power Drill with drill bits

PACKAGE CONTENTS
| Part | Description | Quantity |
| A | LED Wrap Light Housing | 1 |
| B | LED Wrap Light Diffuser | 1 |
| C | Wire Way Cover | 1 |
| D | Terminal Ground Wire | 1 |

HARDWARE INCLUDED
NOTE: Hardware not shown to actual size.
| Part | Description | Quantity |
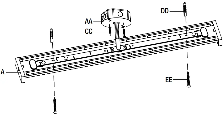
| AA | Mounting Bracket | 1 |
| BB | Gasket | 1 |
| CC | Electrical Box Screw | 2 |
DD | Drywall Anchor | 2 |
EE | Mounting Screw | 2 |

Installation
Select a suitable location that can support the weight of the fixture. Determine the method of mounting before drilling.
WARNING: RISK OF ELECTRIC SHOCK. Ensure the electricity to the wires you are working on is shut off. Either remove the fuse or turn off the circuit breaker before removing the existing light fixture ] or installing the new one.
With power disconnected to your electrical box, remove the existing fixture. Make a sketch of how the current fixture is wired (by wire color) or mark the wires with masking tape and a pencil so you will know how to properly reconnect the wires to the new LED light fixture
- Separating the diffuser from the housing
- Press down gently on one end of the diffuser (B) until you meet with resistance from the bottom of the end cap of the housing (A). Slide the diffuser (B) toward the end being pressed down. Lift the diffuser (B) from the other end, removing it from the housing (A).

- Press down gently on one end of the diffuser (B) until you meet with resistance from the bottom of the end cap of the housing (A). Slide the diffuser (B) toward the end being pressed down. Lift the diffuser (B) from the other end, removing it from the housing (A).
- Preparing the fixture for installation
- Squeeze the two sides of the wire way cover (C) on the inside of the housing (A) while also pushing inward on the metal tabs from wire way cover (C) on the back side of the housing (A) to detach the wire way cover(C) from the housing (A).
- After separating the wire way cover (C) from the fixture housing (A), unplug the terminal ground wire connection (D) between the wire way cover (C) and the fixture housing (A).
- Set the wire way cover (C) aside in a safe place until ready to reattach it to the fixture housing (A)

- Marking the mounting location
- With help from another person, temporarily hold the fixture housing (A) up to the ceiling to determine the best mounting position and which knock out hole to use for wiring the fixture.
- Mark two keyhole locations for mounting. The distance between the two keyholes is 31.89 in(810mm).

- Feeding the wires and making the electrical connections
NOTE: Put the gasket (BB) on any knock out hole on the fixture to better protect the wires.- Feed the electrical connection wires through any knock out hole, through the gasket (BB), and then through the mounting bracket (AA).
- Insert the hot and neutral (black and white) wires from the electrical box into the wire connectors of the same color wires from the housing (A).
- Insert the ground wire from the electrical box into the wire connector attached to the green wire from the housing (A).
- If a 0-10v dimming circuit is available, insert the purple and pink wires from the electrical box into the wire connectors of the same color wires from the housing (A).
- Wrap the wires with electrical tape for a more secure connection.
NOTE: Tuck all electrical connections into the electrical box. The connection wires can be held in place by the metal tabs, if needed.
- Attaching the housing to the ceiling
- Position the wires back inside the electrical box. Mount the mounting bracket (AA) to the electrical box usingthe two electrical box screws (CC).
- Drill a 1/8-in. pilot hole into the screw locations marked on the ceiling.You can also use an awl or nail to dimple the screw holes.
- Install a drywall anchor (DD) and a mounting screw (EE) in each drilled mounting hole, but do not tighten fully.
- Align the 2 mounting keyholes on the housing (A) with the 2 mounting screws (EE) in the ceiling. Once the screw heads are through the large ends of the keyholes, slide the housing until the heads of the screws slide into the narrow ends of the keyholes.
- Finish tightening the mounting screws (EE) until the fixture housing (A) is tightly secured to the mounting surface.
mounting surface.
NOTE: The drywall anchors (DD) are only to be used for mounting the fixture onto plaster or drywall surfaces.
- Attaching the diffuser to the housing
- Reconnect the terminal ground wire (D) from the wire way cover (C) t the fixture housing (A).
- Reattach the wire way cover (C) to the wrap light housing (A) by squeezing the wire way cover (C) and inserting the tabs into the openings in the housing (A)
NOTE: If electrical connections are inside the wrap light housing (A), ensure the wire connections are covered by the wire way cover (C). - Insert one end of the diffuser (B) into the end cap of the housing (A) to the bottom of the limit part.
- Push the other end of the diffuser (B) to the top of the limit part on the opposite end cap.
- Restore power to the electrical box.
- Turn on the light switch to activate the fixture.


Row/Continuous Mounting
- Remove knock out on fixture end cap

- Prepare one 7/8 in outer diameter fitting (not included, choose one as per necessary) to put it between the fixtures, like the below figure.
Liquid-tight flexible conduit connector (Fitting): Nonmetallic conduit fittings should be UL/CUL listed and covered under DWTT/7 category for UL514B standard
Liquid-tight flexible conduit : Nonmetallic conduit should be UL/CUL listed and covered under DXOQ/7 category for UL1660 standar
NOTE: Listed conduit fittings, listed conduit, and the wires suitable for use with conduits, conduit fittings TYPE: 1/2”. - Connecting the wires : Prepare five wires to connect with two fixtures,
please refer to the below figures.
NOTE: This lamp is most connected to 10 pcs. This fixture input current is 0.29A (120V-277V) end user should buy the suitable wires to row mounting as per the input current data.
Care and Cleaning
CAUTION: Before attempting to clean the fixture, disconnect the power to the fixture by turning the breaker off or removing the fuse from the fuse box.
- Clean the fixture with a soft, dry cloth.
- Do not use cleaners with chemicals, solvents, or harsh abrasives.
- Do not use liquid cleaner on the LEDs, LED driver, or wiring inside the light fixture.
Troubleshooting|
WARNING: Before doing any work on the fixture, disconnect power to the light fixture
Minor problems often can be fixed without the help of an electrician.
| Problem | Possible Cause | Solution |
| The fixture will not light. | The power is off. | Ensure the power supply is on. |
| The circuit breaker is off. | Ensure the circuit breaker is in the on position. | |
| There is a bad connection. | Check to ensure proper wire connections are made. Contact a qualified electrician. | |
| There is a defective switch. | Contact a qualified electrician. | |
| The fuse blows or the circuit breaker trips when the light is turned on. | The wires are crossed or the power wire is grounding out. | Check the wire connections.Contact a qualified electrician or call Commercial Electric customer service 1-877-527-0313. |
Questions, problems, missing parts? Before returning to the store,
call Commercial Electric Customer Service
8 a.m. – 7 p.m., EST, Monday – Friday
9 a.m. – 6 p.m., EST, Saturday
1-877-527-0313
HOMEDEPOT.COM
Retain this manual for future use.



































