STAIRVILLE iX Stage Artist Bundle

General information
This manual contains important instructions for the safe operation of the product.
Read and follow the safety instructions and all other instructions. Keep the manual for future reference. Make sure that it is available to all those using the product. If you sell the unit, please make sure that the buyer also receives this manual.
Our products and user manuals are subject to a process of continuous development.
We therefore reserve the right to make changes without notice. Please refer to the latest version of the user manual which is ready for download under www.thomann.de.
Further information
On our website (www.thomann.de) you will find lots of further information and details on the following points:
| Download | This manual is also available as PDF file for you to download. |
| Keyword search | Use the search function in the electronic version to find the topics of interest for you quickly. |
| Online guides | Our online guides provide detailed information on technical basics and terms. |
| Personal consultation | For personal consultation please contact our technical hotline. |
| Service | If you have any problems with the device the customer service will gladly assist you. |
Symbols and signal words
In this section you will find an overview of the meaning of symbols and signal words that are used in this manual.
| Signal word | Meaning |
| DANGER! | This combination of symbol and signal word indicates an immediate dangerous situation that will result in death or serious injury if it is not avoided. |
| CAUTION! | This combination of symbol and signal word indicates a possible dangerous situation that can result in minor injury if it is not avoided. |
| Warning signs | Type of danger |
![]() | Warning – danger zone. |
Safety instructions
Intended use
This stage platform system is used for modular and flexible construction of stages in different compilations. Use the product only as described in this user manual. Any other use or use under other operating conditions is considered to be improper and may result in personal injury or property damage. No liability will be assumed for damages resulting from improper use.
This device may be used only by persons with sufficient physical, sensorial, and intel‐lectual abilities and having corresponding knowledge and experience. Other persons may use this device only if they are supervised or instructed by a person who is responsible for their safety.
Safety
DANGER!
Danger for children
Ensure that plastic bags, packaging, etc. are properly disposed of and are not in the reach of babies and young children. Choking hazard!
Ensure that children do not detach any small parts (e.g. knobs or the like) from the product. They could swallow the pieces and choke!
Never let children play unattended with the product.
CAUTION!
Risk of fracture in case of overload
When the maximum load capacity is exceeded platforms can break and cause personal injury and property damage.
Observe the maximum load capacity.
CAUTION!
Danger of tipping on unsuitable surface
When the platform is installed on soft or uneven ground the platform may tip over and cause personal injuries and property damage.
Install the platform only on even and solid surfaces.
Features and scope of delivery
The stage platform system can be assembled from the following components:
- Stage platform (available in various sizes and variants)
Maximum load capacity- Stage platform 1 m × 1 m: 500 kg (item no. 366087, item no. 552130)
- Stage platform 1 m × 0.5 m: 250 kg (item no. 366088, item no. 552131)
- one 1 m × 1 m foot per 1 m × 1 m stage platform
- two 0.5 m × 0.5 m feet per 1 m × 0.5 m stage platform
- Railings (of different sizes to match the stage platforms)
- Stairs
- Mounting elements and connectors
Installation
Comply with regulations
When installing and operating, make sure to follow the standards and reg‐ulations that apply in your country. In Germany: BGV C1 ‘Staging and Pro‐duction Facilities for the Entertainment Industry’.

- Stage platform
- Quick connector
- Foot
- Railing
- Fixing clamp
- Stairs
- Tommy screw (not shown)
- Railing connector, straight
- Railing connector, angled
Setting up stage platforms
- 1 m × 1 stage platforms are mounted on one foot with an edge length of m m × 1 .
- 1 m × 0,5 mstage platforms are mounted on two feet with an edge length of m 0,5 m × 0,5 m (see following picture).

Unfold the feet completely and place them on an absolutely flat, solid and sufficiently stable ground. Put the stage platforms so on the feet, that the tops of the feet are respectively located at the corners of the stage platforms. The stage platforms must snap in on all feet.
If you build up several stage platforms connect them to each other with the provided quick connectors (2).

The quick connectors are simply being inserted into the profiles of the stage platforms as shown in the following figure. Tighten the screws of the quick connector firmly.

Attaching the railings
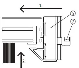
Slide the mounting clamps (5) for the railings (4) into the profiles of the respective stage platforms. As shown in the following figure, the guiding stub of the mounting bracket in the profile must be aligned upwards.
Initially, tighten the tommy screws (7) only so firmly that the mounting clamps can be moved yet.


Insert the railings (4) from the top all the way into the mounting brackets.

If more railings are required, attach them to the stage platforms first. Then connect the railings to each other. Either use the straight railing connectors (8) or the angled railing connectors (9). Tighten the tommy screws on the railing connectors firmly.

Finally, tighten the tommy screws of all mounting clamps firmly. Check the railings for firm fit.

Attaching the stairs
Move the stairs (6) to the desired position. Attach the stairs with the screws provided on the feet of the stage platforms.
Protecting the environment
Disposal of the packaging material
For the transport and protective packaging, environmentally friendly materials have been chosen that can be supplied to normal recycling.
Ensure that plastic bags, packaging, etc. are properly disposed of.
Do not just dispose of these materials with your normal household waste, but make sure that they are collected for recycling. Please follow the notes and markings on the packaging.
Thomann GmbH
Hans-Thomann-Straße 1
96138 Burgebrach
Germany
Telephone: +49 (0) 9546 9223-0
Internet: www.thomann.de
08.12.2022, ID: 366087, 366088, 552130, 552131 (V2)


















