DENSO E13C Truck Engine

Outline
Product Application
- Application
- Manufacturer: HINO
- Engine Model: E13C
- Destination: General countries
- System Components Parts Number

Outline
This Service Manual describes the new common rail system installed on the E13C engine of large Hino trucks. The biggest difference compared with conventional common rail systems is that it uses an injector with a QR code. The basic construction and operation of the system is about the same as for systems installed on the P11 C engine, so this Service Manual will only give a general outline of the E13C system and describe its unique features. For details on the common rail system, refer to Service Bulletin ECO 01-08 “New Common Rail System (ECD-U2) for H INO” published in December 2001, and Service Manual “Common Rail System for HINO J05D/J08E Type Engine” published in October 2003.
Outline of The Main New Features
Common Rail Specifications and Engine Features


System Construction
NOTE
For details on sensors such as the NE sensor and G sensor (sub-NE sensor), refer to Page 3,4 in Service Bulletin 01-08.

Outline of Changes in Main Functional Parts
Only the functional parts with significant changes are described.
Supply Pump
- Changes
The items that have changed significantly are shown in the table below.Item Con ventiona I System New System Reason for Change Installat ion method Saddle type Flange type Easier installation Driving method Coupling Gear Easier installation G sensor MPU MRE Reduced cost - Construction

- Operation
For details on the operation, refer to page 12 – 15 in Service Manual “Common Rail System for H INO J05D/J0BE Type Engine”.
Rail
- Changes
The items that have changed significantly are shown in the table below.Item Conventional System New System Reason for Change System pressure 120 MPa 160 MPa Improves performance Highest pressure during normal use
130 MPa 176 MPa Improves performance Pressure limiter valve open- ing pressure
140 5 MPa 200 9 MPa To deal with the system pressure
PC sensor specification 180 MPa 120 MPa To deal with the system pressure
Installation position Outside engine head Inside engine head Easier instaIlation - Construction

- Operation
For details on construction and operation, refer to page 10 in Service Bulletin 01-08.
Injector
- Changes
- Uses a compact and power-saving TWV (Two-Way Valve) for electromagnetic control of the injector.
- Conventional systems use adjusted resistance to correct the injection volume, but to improve the accuracy of correction, the new system uses a QR (Quick Response) code. The QR code greatly increases the correction points of the injection volume, improving correction accuracy. The properties of the engine cylinders are made more equal than before, which increases fuel efficiency and decreases exhaust gas emissions. The ID code (30 base 16 characters) for injection volume correction information is stamped on the injector head.
- Construction


- Operation
The TWV (solenoid valve) controls the pressure in the chamber by opening and closing the outlet orifice passage, which in turn controls the start and end of injection.- When not injecting
When the solenoid is not energized, the outlet orifice passage is closed by the downward force of the TWV (solenoid valve) spring. From this, the control chamber pressure trying to push down the command piston and the pressure trying to push up the nozzle needle is the same. The differences in the areas receiving pressure and the force of the nozzle spring closes the nozzle needle, so there is no injection. - During injection
When the solenoid is energized, the TMV (solenoid valve) is pulled up by the force of the solenoid, which opens the outlet orifice, discharging the fuel from the control chamber. When fuel is discharged, the pressure in the control chamber is reduced, which pulls up the command piston. This raises the nozzle needle, and injection is started. - End of injection
As the solenoid continues to be energized, the nozzle reaches its maximum lift point, creating the maximum injection rate. When the energization of the solenoid is turned OFF, the TWV (solenoid valve) lowers, closing the outlet orifice. Because of this, fuel enters the control chamber from the inlet orifice, which increases the pressure. The makes the nozzle needle close abruptly, stopping the injection.
- When not injecting
Servicing injectors with QR code (Reference)
When replacing the injector or engine ECU, a HINO diagnostic tool must be used to register ID code in the engine ECU.
NOTE
If the ID code of the installed injector is not correctly registered, it could cause engine malfunctions such as rough Idling or noise.
- QR code location

- QR code correction points

- When replacing the injector

- When replacing the engine ECU

Sensors (Only sensors that were changed.)
- G Sensor (Cylinder Recognition Sensor)
The G sensor is an MRE (electromagnetic resistance element) type. When the hole on the flywheel passes the sensor, the electromagnetic resistance flowing through the sensor changes. This variation in current is amplified by the internal IC circuit, and a signal is output to the engine ECU. A cylinder recognition pulsar is installed to the supply pump camshaft, and a cylinder recognition signal is output. 7 pulses are output for every revolution of the supply pump, or for every 2 revolutions of the engine. Cylinder recognition is inferred by combining the NE signal and the G signal. The irregular 7th pulse is used to recognize the first cylinder.- External View and Terminal Positions
The MRE type differs to the conventional type in that a pulse of constant amplification is generated so that the OUT terminal does not affect engine speed changes when constant amplitude (SV) is applied to t he VCC.
- Output Signal
The OUT terminal outputs the following in synchronization with the pulsar missing teeth (pump camshaft). For each one
rotation of the pump camshaft, there are 6 pulses at 60° intervals, and 1 extra pulse used for recognition of the number
one cylinder.
- NE/G Sensor wiring diagram

- NE/G pulse chart

- External View and Terminal Positions
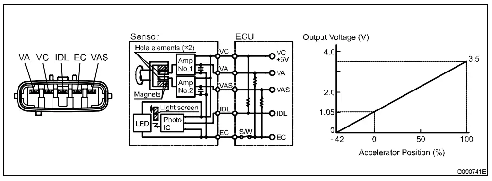
- Accelerator Sensor
The accelerator sensor is a non-contact type. It is linked to the movement of the accelerator pedal, which rotates the lever, and the voltage of the output terminal changes according to the rotational position of the lever. There are hole elements on the sensor. A magnet is installed on the shaft, which moves together with the accelerator pedal, so the magnetic field changes with the rotation of the shaft. A voltage is generated from these changes in the magnetic field.
ECU
The ECU has 32 bits, compared to the 16 bits of conventional systems, so processing is faster. As in previous systems, it is integrated with the EDU.
- ECU External Wiring Diagram
- ECU Connector Diagram
NOTE
For the above details, refer to page 44 – 4 7 in Service Manual “Common Rail System for HINO J05D/J0BE Type Engine”, published in October 2003.
Various Types of Control
NOTE
Refer to page 20 – 24 in Service Bulletin ECD 01-08.
Diagnosis
DTC (Diagnostic Trouble Code) Table
A HINO PC tester can be used at the HINO dealership to display DTCs and perform diagnostic troubleshooting on the significantly changed items. The DTCs (to be dealt with at the HINO dealership) are shown below for reference.
| OTC | P_Code | DST-1 display | Code explanation | Reference |
| 31 | P0047 | VNT solenoid valve 1 malfunction | VNT solenoid valve 1 is abnormal. There could be a solenoid valve malfunction, harness open circuit, or ground short. | |
| 31 | P0048 | VNT solenoid valve 1 malfunction | VNT solenoid valve 1 is abnormal. There could be a harness +B short. | |
| 39 | P0049 | Turbo speed overrun | An abnormally high turbo speed is detected. | Detected by turbine rotation sensor |
| 76 | P0088 | Abnormally high rail pressure | An abnormally high fuel pressure is detected. | |
| 78 | P0093 | Fuel leak | There could be a fuel leak. Perform a fuel leak check. | Conventional pump cannot pump (fuel discharge) |
| 88 | P0096 | EGR valve seizure malfunction | The EGR system is abnormal | Valve is detected through EGR gas temperature to have seized in the fully closed position |
| 18 | P0097 | EGR gas temperature sensor malfunction (LO) | Cannot detect the temperature normally. There could be a sensor malfunction or a har- ness ground short. | |
| 18 | P0098 | EGR gas temperature sensor malfunction (HI) | Cannot detect the temperature normally. There could be a sensor malfunction, harness open circuit or +B short. | |
| 17 | P0102 | Air flow sensor malfunction (LO ) | The air flow sensor is abnormal. There could be a sensor malfunction, harness open circuit or GND short. | |
| 17 | P0103 | Air flow sensor malfunction (HI) | The air flow sensor is abnormal. There could be a sensor malfunction or a harness +B short. | |
| 37 | P0108 | Boost pressure sensor malfunc- lion (HI) | Cannot detect the boost pressure normally. There could be a sensor malfunction or har- ness short. | |
| 16 | P0112 | Intake air temperature sensor malfunction (LO) | Cannot detect the temperature normally. There could be a sensor malfunction or a har- ness ground short. | Air flow sensor inter- nalsensor |
| 16 | P0113 | Intake air temperature sensor malfunction (HI) | Cannot detect the temperature normally. There could be a sensor malfunction, harness open circuit or -+-B short. | Air flow sensor inter- nalsensor |
| 11 | P0117 | Coolant temperature sensor mal- function (LO) | Cannot detect the temperature normally. There could be a sensor malfunction or a har- ness ground short. |
| OTC | P_Code | DST-1 display | Code explanation | Reference |
| 11 | P0118 | Coolant temperature sensor mal- function (HI) | Cannot detect the temperature normally. There could be a sensor malfunction, harness open circuit or +B short. | |
| 14 | P0187 | Fuel temperature sensor mal- function (LO) | Cannot detect the temperature normally. There could be a sensor malfunction or a har- ness ground short. | Leakage tempera- ture |
| 14 | P0188 | Fuel temperature sensor mal- function (HI) | Cannot detect the temperature normally. There could be a sensor malfunction, harness open circuit or +B short. | Leakage tempera- ture |
| 67 | P0191 | Rail pressure sensor malfunction | Cannot detect the rail pressure normally. There could be a sensor malfunction. | Characteristic abnormality |
| 67 | P0192 | Rail pressure sensor malfunction (LO) | Cannot detect the rail pressure normally. There could be a sensor malfunction or har- ness ground short. | |
| 67 | P0193 | Rail pressure sensor malfunction (HI) | Cannot detect the rail pressure normally. There could be a sensor malfunction, harness open circuit or +B short. | |
| 59 | P0200 | ECU charge circuit fault (HI) | The voltage for actuating the injector is too high. Replace the ECU. | |
| 51 | P0201 | Injector 1 open circuit | There could be an injector 1 malfunction or harness open circuit. | |
| 52 | P0202 | Injector 2 open circuit | There could be an injector 2 malfunction or harness open circuit. | |
| 53 | P0203 | Injector 3 open circuit | There could be an injector 3 malfunction or harness open circuit. | |
| 54 | P0204 | Injector 4 open circuit | There could be an injector 4 malfunction or harness open circuit. | |
| 55 | P0205 | Injector 5 open circuit | There could be an injector 5 malfunction or harness open circuit. | |
| 56 | P0206 | Injector 6 open circuit | There could be an injector 6 malfunction or harness open circuit. | |
| 6 | P0217 | Overheating | Overheating is detected. Inspect the cooling system. | |
| 7 | P0219 | Engine overrun | The engine speed is above the rated value. | |
| 34 | P0234 | Turbo over boost | The boost pressure is higher than the stan- dard. | |
| 37 | P0237 | Boost pressure sensor malfunc- lion | Cannot detect the intake air pressure normally. There could be a sensor malfunction, harness open circuit or short. |
| OTC | P_Code | DST-1 display | Code explanation | Reference |
| 61 | P0263 | Cylinder correction error #1 | The speed variations of the first cylinder are larger than those of the other cylinders. The flow damper could be operating. | Conventional prod- uct flow damper operation judgment and new speed vari- ation judgment |
| 62 | P0266 | Cylinder correction error #2 | The speed variations of the second cylinder are larger than those of the other cylinders. The flow damper could be operating. | Conventional prod- uct flow damper operation judgment and new speed vari- ation judgment |
| 63 | P0269 | Cylinder correction error #3 | The speed variations of the third cylinder are larger than those of the other cylinders. The flow damper could be operating. | Conventional prod- uct flow damper operation judgment and new speed vari- ation judgment |
| 64 | P0272 | Cylinder correction error #4 | The speed variations of the fourth cylinder are larger than those of the other cylinders. The flow damper could be operating. | Conventional prod- uct flow damper operation judgment and new speed vari- ation judgment |
| 65 | P0275 | Cylinder correction error #5 | The speed variations of the fifth cylinder are larger than those of the other cylinders. The flow damper could be operating. | Conventional prod- uct flow damper operation judgment and new speed vari- ation judgment |
| 66 | P0278 | Cylinder correction error #6 | The speed variations of the sixth cylinder are larger than those of the other cylinders. The flow damper could be operating. | Conventional prod- uct flow damper operation judgment and new speed vari- ation judgment |
| 13 | P0335 | NE sensor malfunction | Cannot detect the pulses from the NE sensor. There could be a sensor malfunction or har- ness abnormality. | This code is also output if both the NE and G sensors are malfunctioning |
| 12 | P0340 | G sensor malfunction | Cannot detect the pulses from the G sensor. There could be a sensor malfunction or har- ness abnormality. | |
| 88 | P0401 | Insufficient EGR rate | The EGR system is abnormal. The EGR rate is lower than the standard value. | VaIve is detected through Air flow sen- sor to have seized in the fully closed posi- tion |
| OTC | P_Code | DST-1 display | Code explanation | Reference |
| 88 | P0402 | Excessive EGR rate | The EGR system is abnormal. The EGR rate is higher than the standard value. | VaIve is detected through Air flow sen- sor to have seized in the fully open posi- tion |
| 81 | P0489 | EGR solenoid valve 1 malfunc- lion | EGR solenoid valve 1 is abnormal. There could be a solenoid valve malfunction, har- ness open circuit or ground short. | |
| 81 | P0490 | EGR solenoid valve 1 malfunc- lion | EGR solenoid valve 1 is abnormal. There could be a solenoid valve malfunction or +B harness short | |
| 21 | P0500 | Vehicle speed sensor malfunction (LO) | Cannot detect the pulses from the vehicle speed sensor. There could be a sensor mal- function or harness abnormality. | Open circuit |
| 21 | P0501 | Vehicle speed sensor malfunction (HI) | The pulses from the vehicle speed sensor are abnormal. There could be a sensor malfunc- tion or harness abnormality. | Noise |
| 42 | P0510 | Idling switch malfunction | The idling switch is not functioning normally. While monitoring the vehicle conditions, check the ON/OFF judgment. | |
| 25 | P0540 | Pre-heat device malfunction | The intake heater relay is abnormal. There could be a relay malfunction or harness abnor- mality. | |
| 97 | P0545 | Exhaust temperature sensor 1 malfunction (LO) | Cannot detect the temperature normally. There could be a sensor malfunction or a har- ness ground short. | |
| 97 | P0546 | Exhaust temperature sensor 1 malfunction (HI) | Cannot detect the temperature normally. There could be a sensor malfunction, harness open circuit or +B short. | |
| 3 | P0605 | Flash ROM abnormality | ECU internal malfunction. Please replace the ECU. | |
| 3 | P0606 | CPU malfunction (hardware detection) | ECU internal malfunction. Please replace the ECU. | |
| 3 | P0907 | CPU surveillance IC malfunction | ECU internal malfunction. Please replace the ECU. | |
| 59 | P0611 | ECU charge circuit fault | The voltage for actuating the injector is too low. Replace the ECU. | |
| 45 | P0617 | Starter switch malfunction | The starter switch has shorted. While monitor- ing the vehicle conditions, check the ON/OFF judgment. | |
| 73 | P0628 | Supply pump solenoid valve 1 malfunction | The supply pump solenoid valve 1 has a volt- age abnormality. There could be an open cir- cuit or ground short. | PCV1, PCV1 & PCV2 (large) |
| OTC | P_Code | DST-1 display | Code explanation | Reference |
| 73 | P0629 | Supply pump solenoid valve 1 malfunction | The supply pump solenoid valve 1 has a volt- age abnormality. There could be a +B short. | PCV1; PCV1 & PCV2 (large) |
| 5 | P0686 | Main relay malfunction | The main relay cannot be switched OFF. Inspect the relay. | |
| 41 | P0704 | Clutch switch malfunction | Cannot detect the clutch switch normally. While monitoring the vehicle conditions, check the ON/OFF judgment. | |
| 47 | POSSO | Neutral switch malfunction | Cannot detect the neutral switch normally. While monitoring the vehicle conditions, check the ON/OFF judgment. | |
| 32 | P1062 | VNT solenoid valve 2 malfunction | VNT solenoid valve 2 is abnormal. There cold be a solenoid valve malfunction, harness open circuit, or ground short. | |
| 32 | P1063 | VNT solenoid valve 2 malfunction | VNT solenoid valve 2 is abnormal. There could be a solenoid valve malfunction or harness +B short. | |
| 33 | P1067 | VNT solenoid valve 3 malfunction | VNT solenoid valve 3 is abnormal. There cold be a solenoid valve malfunction, harness open circuit, or ground short. | |
| 33 | P1068 | VNT solenoid valve 3 malfunction | VNT solenoid valve 3 is abnormal. There could be a solenoid valve malfunction or harness +B short. | |
| 38 | P1071 | Turbo speed sensor malfunction (HI) | The pulses from the turbine speed sensor are abnormal. There could be a sensor malfunc- lion or harness abnormality. | |
| 38 | P1072 | Turbo speed sensor malfunction (LO) | Cannot detect the pulses from the turbo speed sensor. There could be a sensor malfunction or harness abnormality. | |
| 23 | P1132 | Operation accelerator sensor (LO) | Cannot detect the operation accelerator sen- sor normally. Check the sensor voltage. There could be an open circuit or a ground short. | |
| 23 | P1133 | Operation accelerator sensor (HI) | Cannot detect the operation accelerator sen- sor normally. Check the sensor voltage. There could be a +B short. | |
| 44 | P1142 | Idling volume (LO) | Cannot detect the idling volume normally. Check the sensor voltage. There could be an open circuit or a ground short. | |
| 44 | P1143 | Idling volume (HI) | Cannot detect the idling volume normally. Check the sensor voltage. There could be a +B short. | |
| 57 | P1211 | Injector common 1 malfunction | There could be a ground short. Check the injector and the wiring. |
| OTC | P_Code | DST-1 display | Code explanation | Reference |
| 57 | P1212 | Injector common 1 malfunction | There could be an open circuit or +B short. Check the injector and the wiring. | |
| 58 | P1214 | Injector common 2 malfunction | There could be a ground short. Check the injector and the wiring. | |
| 58 | P1215 | Injector common 2 malfunction | There could be an open circuit or +B short. Check the injector and the wiring. | |
| 76 | P1229 | Supply pump excessive pumping | An abnormally high fuel pressure is detected. Inspect the pump system. | |
| 77 | P1266 | Supply pump pumping fault | An abnormally high fuel pressure is detected. Inspect the pump system. | Conventional pumps cannot pump or pressure limiter operation |
| 82 | P1402 | EGR solenoid valve 2 malfunc- tion | EGR solenoid valve 2 is abnormal. There could be a solenoid valve malfunction, har- ness open circuit or ground short. | |
| 82 | P1403 | EGR solenoid valve 2 malfunc- lion | EGR solenoid valve 2 is abnormal. There could be a solenoid valve malfunction or har- ness +B short. | |
| 83 | P1407 | EGR solenoid valve 3 malfunc- lion | EGR solenoid valve 3 is abnormal. There could be a solenoid valve malfunction, har- ness open circuit or ground short. | |
| 83 | P1408 | EGR solenoid valve 3 malfunc- tion | EGR solenoid valve 3 is abnormal. There could be a solenoid valve malfunction or har- ness +B short. | |
| 84 | P1412 | Pulse EGR solenoid valve mal- funct ion | The pulse EGR solenoid valve is abnormal. There could be a solenoid valve malfunction, harness open circuit or ground short. | |
| 84 | P1413 | Pulse EGR solenoid valve mal- funct ion | The pulse EGR solenoid valve is abnormal. There could be a solenoid valve malfunction or harness +B short. | |
| 85 | P1416 | EGR cooler overheat | Overheating of the EGR cooler is detected. Inspect the EGR cooler. | |
| 19 | P1417 | EGR cooler coolant temperature sensor malfunction (LO) | Cannot detect the temperature normally. There could be a sensor malfunction or a har- ness ground short. | |
| 19 | P1418 | EGR cooler coolant temperature sensor malfunction (HI) | Cannot detect the temperature normally. There could be a sensor malfunction, harness open circuit or +B short. | |
| 96 | P1427 | Exhaust pressure sensor mal- function (LO) | Cannot detect the exhaust pressure normally. There could be a sensor malfunction, harness open circuit or ground short. |
| OTC | P_Code | DST-1 display | Code explanation | Reference |
| 96 | P1428 | Exhaust pressure sensor mal- function (HI) | Cannot detect the exhaust pressure normally. There could be a sensor malfunction or har- ness +B short. | |
| 26 | P1462 | Engine retarder 1 malfunction | Engine retarder solenoid valve 1 is abnormal. There could be a solenoid valve malfunction , harness open circuit or ground short. | #4 to #6 side retarder |
| 26 | P1463 | Engine retarder 1 malfunction | Engine retarder solenoid valve 1 is abnormal. There could be a solenoid valve malfunction or harness +B short | #4 to #6 side retarder |
| 27 | P1467 | Engine retarder 2 malfunction | Engine retarder solenoid valve 2 is abnormal. There could be a solenoid valve malfunction, harness open circuit or ground short. | #1 to #3 side retarder |
| 27 | P1468 | Engine retarder 2 malfunction | Engine retarder solenoid valve 2 is abnormal. There could be a solenoid valve malfunction or harness +B short | #1 to #3 side retarder |
| 27 | P1472 | TIM retarder relay malfunction | The TIM retarder relay is abnormal. There could be a relay malfunction, harness open cir- cuit or ground short. | TIM retarder relay for interlocked cruise control in large and medium sized vehi- cles |
| 29 | P1473 | T/M retarder relay malfunction | The T/M retarder relay is abnormal. There could be a relay malfunction or harness +B short. | T/M retarder relay for interlocked cruise control in large and medium sized vehi- cles |
| 46 | P1530 | Engine stop switch closing mal- funct ion | The engine stop switch is malfunctioning, or the wiring has shorted. While monitoring the vehicle conditions, check the ON/OFF judg- ment. | |
| 43 | P1565 | Cruise switch malfunction | The cruise switch has an ON malfunction. While monitoring the vehicle conditions, check the ON/OFF judgment. | |
| 2 | P1601 | QR code malfunction | The QR code is abnormal. Check the QR code. | |
| 48 | P1676 | PCS switch malfunction | Cannot detect the PCS switch normally. While monitoring the vehicle conditions, check the ON/OFF judgment. | |
| 28 | P1681 | Exhaust brake solenoid valve malfunction | The exhaust brake solenoid valve is abnom,al. There could be a solenoid valve malfunction, harness open circuit or ground short. | |
| 28 | P1682 | Exhaust brake solenoid valve malfunction | The exhaust brake solenoid valve is abnormal. There could be a solenoid valve malfunction or harness +B short. |
| OTC | P_Code | DST-1 display | Code explanation | Reference |
| 91 | P2002 | DPF system malfunction | The DPF system is abnormal. There could be welding damage or clogging. Perform a DPF system check. | |
| 98 | P2032 | Exhaust temperature sensor 2 malfunction (LO) | Cannot detect the temperature normally. There could be a sensor malfunction or a har- ness ground short. | |
| 98 | P2033 | Exhaust temperature sensor 2 malfunction (HI) | Cannot detect the temperature normally. There could be a sensor malfunction, harness open circuit or +B short. | |
| 22 | P2120 | Malfunction of both accelerator sensors | Both accelerator sensor systems are malfunc- tioning. There could be a sensor abnormality or harness abnormality. | |
| 22 | P2121 | Accelerator sensor 1 malfunction | Cannot detect accelerator sensor 1 normally. Check the sensor voltage. | |
| 22 | P2122 | Accelerator sensor 1 malfunction (LO) | Cannot detect accelerator sensor 1 normally. Check the sensor voltage. There could be an open circuit or ground short. | |
| 22 | P2123 | Accelerator sensor 1 malfunction (HI) | Cannot detect accelerator sensor 1 normally. Check the sensor voltage. There could be a +B short. | |
| 22 | P2126 | Accelerator sensor 2 malfunction | Cannot detect accelerator sensor 2 normally. Check the sensor voltage. | |
| 22 | P2127 | Accelerator sensor 2 malfunction (LO) | Cannot detect accelerator sensor 2 normally. Check the sensor voltage. There could be an open circuit or ground short. | |
| 22 | P2128 | Accelerator sensor 2 malfunction (HI) | Cannot detect accelerator sensor 2 normally. Check the sensor voltage. There could be a +B short. | |
| 15 | P2228 | Atmospheric pressure sensor malfunction (LO) | The atmospheric pressure sensor (inside the ECU) is abnormal. If it occurs frequen tly, the ECU must be repaired or replaced. | |
| 15 | P2229 | Atmospheric pressure sensor malfunction (HI) | The atmospheric pressure sensor (inside the ECU) is abnormal. If it occurs frequen tly, the ECU must be repaired or replaced. | |
| 72 | P2633 | Supply pump solenoid valve 2 malfunction | Supply pump solenoid valve 2 has abnormal voltage. There could be an open circuit or ground short. | PCV2 for large vehi- cles |
| 72 | P2634 | Supply pump solenoid valve 2 malfunction | Supply pump solenoid valve 2 has abnormal voltage. There could be a +B short. | PCV2 for large vehi- cles |
| 9 | U0101 | Communication obstruction (transmission) | Communication with the transmission ECU is obstructed. | Abnormal communi- cation with AT-ECU |
| OTC | P_Code | DST-1 display | Code explanation | Reference |
| 9 | U0104 | Communication obstruction (cruise) | Communication with the vehicle cruise ECU is obstructed. | |
| 9 | U0121 | Communication obstruction (ABS) | Communication with the ABS ECU is obstructed. | |
| 9 | U0132 | Communication obstruction (air suspension) | Communication with the air suspension ECU is obstructed. | |
| 9 | U0155 | Communication obstruction (meter) | Communication with the meter ECU is obstructed. | |
| 9 | U1001 | CAN communication obstruction (vehicle) | The communication with the other computers installed in the vehicle is abnormal. | CAN communica- lion bus OFF judg- ment |



































