DP72104Z Engine
Owner’s Manual

SAFETY LABEL LOCATION
Figure 1

| [1] For U.S. | [4] Read Owner’s Manual before operation. |
| [2] For Japan | [5] Keep flames and sparks away from the Battery Pack. |
| [3] For Europe and Other Countries |
Affix the appropriate label according to the area where using the product.
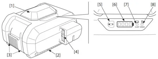
COMPONENT & CONTROL LOCATION
Figure 2

| [1] Grip | [5] Charge Level Check Button |
| [2] Intake Port (both sides) | [6] Charge Level Indicator |
| [3] Exhaust Port (bottom) | [7] ALERT Indicator |
| [4] Battery Connecter | [8] ERROR Indicator |
IDENTIFICATION OF BATTERY PACK
Figure 2

| [1] Name and address of the manufacturer. | [5] Name and address of the importer in UK. |
| [2] Model-type | [6] CE marking (for EU countries) |
| [3] Serial Number | [7] UKCA marking (for UK) |
| [4] Name and address of the importer in EU. |
INTRODUCTION
Thank you for purchasing a Honda Battery Pack. This manual contains information on how to use it; please carefully read the manual before using the Battery Pack.
If a problem should arise, or if you have any questions about your product, consult your servicing dealer.
The product pictured in this owner’s manual may not match your actual product.
This manual should be considered a permanent part of the battery pack and should remain with the battery pack if resold.
We suggest you read the warranty policy to fully understand its coverage and your responsibilities of ownership. The warranty policy is written on the owner’s manual for Honda DC Power Unit.
SAFETY MESSAGES
Your safety and the safety of others are very important. We have provided important safety messages in this manual. Please read these messages carefully.
A safety message alerts you to potential hazards that could hurt you or others. Each safety message is preceded by a safety alert symbol
and one of three signal words. DANGER, WARNING, or CAUTION.
These signal words mean-
You WILL be KILLED or SERIOUSLY HURT if you don’t follow instructions.
You CAN be KILLED or SERIOUSLY HURT if you don’t follow instructions.
You CAN be HURT if you don’t follow instructions.
You will also see other important messages that are preceded by the word NOTICE. This word means:
Information to help you avoid damage to your Battery Pack, other property, or the environment.
BATTERY PACK SAFETY
IMPORTANT SAFETY INFORMATION
Read this manual carefully before using this product. Before using this product, understand how to handle this product properley.
Failure to follow the instructions below may result in excessive heat, fire, and/or bursting (explosion), etc.
Do not heat, or place into fire. Do not use, charge, or leave in a hot place.
Failure to follow the instructions below may result in the Battery Pack excessive heat, fire, or electric shock, etc.
- Do not drop or impact the Battery Pack.
- Only use the specified charger when charging.
- Do not disassemble, modify, or repair the Battery Pack.
- Do not allow water to contact the battery terminals or get inside the Battery Pack.
- Only use the genuine Honda Battery Charger (CV7285Z) when charging.
- Do not touch the Battery Pack’s connectors with metal objects or insert metal objects through openings into the Battery Pack.
- If the Battery Pack leaks fluid or smells strangely, immediately move it away from any heat sources or flame. There is a risk of fire or rupturing if the leaked liquid or gas ignites. Also, if the liquid gets into your eyes, rinse them with plenty of water. After that, immediately seek medical care. Battery Pack contains combustible organic solvents as an electrolyte solution.
- Do not allow children to use the Battery Pack. Store the Battery Pack out of the reach of children.
- Do not store the Battery Pack in a damp location. Doing so can cause a malfunction.
- When the Battery Pack is not in use, keep it away from other metal objects, like paper clips, coins, keys, nails, screws or other small metal objects, that can make a connection from one terminal to another. Shorting the battery terminals together may cause burns or a fire.
- In case of fire, stop using the machine immediately and extinguish with dry chemical, sandy soil, carbon dioxide or appropriate foam.
SAVE THESE INSTRUCTIONS.
SAFETY LABEL LOCATION
See figure 1 on page II.
afety labels are affixed to the Battery Pack for your instruction so that it is used safely. Carefully read these safety labels and the safety precautions in this manual.
COMPONENT & CONTROL LOCATIONS
See figure 2 on page III.
OPERATION
SAFE OPERATING PRECAUTIONS
- Before using the Battery Pack, use an genuine Honda Battery Charger to charge it.
- If a Battery Pack is cracked or damaged, do not use it.
- Make sure there is no dust or dirt on the battery connector. Using it while it is dirty can cause a malfunction. The Battery Pack deteriorates if it is repeatedly charged and discharged, as well as if it is stored and not used. As the Battery Pack deteriorates, its full-charge capacity decreases and the length of time it can be used shortens. Once the full-charge capacity is reduced by deterioration, it cannot be recovered and cannot reach the charging capacity of a new Battery Pack.
CHECKING THE CHARGE LEVEL
See figure 2 on page III.
When the charge level check button is pressed, the charge level indicator lights or flashes so you can confirm the charge level of the Battery Pack.
| Indicator Display | Charge Level |
![]() | Fully charged. |
![]() | Sufficiently charged. |
![]() | Remaining battery power is low. Charge the Battery Pack. |
![]() | |
![]() |
![]()
CHARGING THE BATTERY PACK
For how to charge the Battery Pack, refer to the manual for the Battery Charger.
ATTACHING THE BATTERY PACK
For how to attach the Battery Pack, refer to the manual for the specified device.
TRANSPORTING
CARRYING THE BATTERY PACK
Note the following precautions when carrying the Battery Pack.
- To carry the Battery Pack, remove it from the specified device or Battery Charger.
- Hold the grip of the Battery Pack and grasp it firmly so your fingers do not slip from the grip.
- Do not swing the Battery Pack around or throw it.
LOADING IN A VEHICLE
When loading the Battery Pack in a vehicle, place it in a level location inside the vehicle or load bed, and secure it so it does not move. If there are regulations that stipulate transportation methods, such as requirements for storage in a specified storage case, then follow those regulations.
Also, note the following precautions when loading the Battery Pack into a vehicle.
- Remove the Battery Pack from the specified device or Battery Charger and protect it with cushioning material.
- Face the intake/exhaust port downward when loading and securing the Battery Pack, so rainwater does not get inside.
- Do not throw the Battery Pack into or out of the load bed of a vehicle.
- Avoid direct sunlight, and do not load or secure the Battery Pack in a location that can become very hot, such as in an enclosed vehicle.
- Do not stack Battery Packs when loading them.
- Do not place baggage on top of the Battery Pack. Also, be careful that other baggage does not slide and collide with the Battery Pack.
WHEN TRANSPORTING BY SHIP OR AIRCRAFT
When shipping by third parties (e.g.: by air transport or forwarding agency), special requirements on packaging and labelling must be observed. For preparation of the item being shipped, consulting an expert for hazardous material is required.
Ship Battery Packs only when undamaged. Please also observe the possibility of more detailed national regulations.
CLEANING
- Before cleaning the Battery Pack, remove it from the specified device or the Battery Charger.
- If the Battery Pack and connector are dirty, wipe them off with a clean dry cloth.
STORAGE
Inappropriate long-term storage can cause the Battery Pack to deteriorate quickly. And, it may become unusable.
- Before storing the Battery Pack, remove it from the specified device or the Battery Charger, to prevent unintended operation.
- Storing the Battery Pack in a very warm location can cause the Battery Pack to deteriorate quickly.
– Optimal storage at room temperature. See “SPECIFICATIONS” for the storage temperature range. - Before putting the battery in long-term storage, refer to the following table to confirm whether the charge level of the Battery Pack is suitable for long-term storage. Also, check the charge level of the Battery Pack once a year while it is in storage.
| Indicator Display | Charge Level |
![]() | Long-term storage is not possible. The Battery Pack will deteriorate if it is stored like this. Use the Battery Pack to discharge it to a charge level suitable for long-term storage. |
![]() | Long-term storage is possible. Check the charge level once a year. If only 1 charging level indicator is flashing, replenish the charge until from 1 to 3 indicators are lit. |
![]() | |
![]() | |
![]() | Long-term storage is not possible. The Battery Pack will over-discharge if it is put in storage in this state, and it may become unusable. Charge the Battery Pack until from 1 to 3 charging level indicators are lit. |
![]()
TROUBLESHOOTING
Check the indicators and follow the instructions below when there is a malfunction. If a problem is not resolved or the symptoms do not improve, contact an authorized Honda servicing dealer.

| Indicator | Possible Cause | Solution | ||
| ALERT | ERROR | Charge Level | ||
| Flash | — | — | Problem was detected. | Remove all equipment connected to the Battery Pack, wait for about 5 minutes and press the Charge Level Check Button. •When the ALERT indicator does not flash, the Battery Pack can be used normally. |
| 4 indicators flash | Problem was detected. (Overvoltage protection) | After following the instructions for the Battery Pack problem, connect the specified device and check if it works properly. •When the device works, the Battery Pack can be used normally. | ||
| 1 indicator flashes | Problem was detected. (Low voltage protection) | After following the instructions for the Battery Pack problem, connect the Battery Charger and check if the charging starts properly. •When the charging starts, the Battery Pack can be used normally. | ||
| Illuminate | Problem with the specified device or Battery Charger, or malfunction in the Battery Pack was detected. | Remove all equipment connected to the Battery Pack, wait until all indicators turn off and press the Charge Level Check Button. •When the ERROR indicator does not illuminate, the Battery Pack can be used normally. Check that there is no foreign material around the Battery Pack. Connect the specified device or Battery Charger. •When the ERROR indicator illuminates, there is a problem with the specified device or Battery Charger. | ||
| Flash | Malfunction was detected. | Battery Pack is dead. | ||
SPECIFICATIONS
| Model | DP72104Z |
| Description code | UABC |
| Length | 233 mm (9.2 in) |
| Width | 268 mm (10.6 in) |
| Height | 150 mm (5.9 in) |
| Mass | 6.4 kg (14.1 Ibs) |
| Type | Rechargeable lithium ion battery |
| Voltage | DC 72 V |
| Power capacity | 720 Wh |
| Rated capacity | 10.0 Ah |
| Charging temperature range | 5 to 30 °C (41 to 86 °F) Battery Packs cannot be charged at temperatures of 5 °C (41 °F) or colder |
| Operating temperature range | -15 to 40 °C (5 to 104 °F) |
| Optimum storage temperature range | -5 to 30 °C (23 to 86 °F) |
DISPOSAL
To protect the environment, do not dispose of this product using standard waste collection. Observe the local laws and regulations or consult your authorized Honda dealer for disposal.
Do not dispose of electric equipment together with household waste material. If electrical appliances are disposed of in landfills or dumps, substances can leak and react and enter into the foodchain, damaging your health and well-being. For further information on the disposal of this product, please contact your dealer or your nearest domestic waste collection service.
https://www.hondappsv.com/recycle/
https://www.hondappsv.com/recycle/

























