LG WH20S.F5 Heat Pump Water Heater

SAFETY INSTRUCTIONS
Your safety and the safety of others are very important. We have provided many important safety messages in this manual and on your appliance. Always read and follow all safety messages.
This is the safety alert symbol.
This symbol alerts you to potential hazards that can kill or injure you and others. All safety messages will follow the safety alert symbol and either the word DANGER,
WARNING or CAUTION. These words mean:
- CAUTION You may be slightly injured or cause damage to the product if you do not follow instructions.
- WARNING You may be killed or seriously injured if you do not follow instructions.
- DANGER This indicates that the failure to follow the instructions will cause serious injury or death.
All safety messages will tell you what the potential hazard is, tell you how to reduce the chance of injury, and tell you what may happen if the instructions are not followed.
WARNING To reduce the risk of explosion, fire, death, electric shock, injury or scalding to persons, instructions in this manual must be followed.
Be sure to fully understand the user’s manual before you install and operate this appliance. If you have any difficulty in understanding or following the instructions in this manual, or have any questions, contact an authorized service center or the local electric utility.
Safety Precaution
Water Temperature Setting
DANGER Water temperature above 50 °C can cause severe burns instantly or death from scalding. Be sure to read and follow the warnings on the picture below.

- Water temperature over 50 °C can cause instant severe burns or even death from scalding.
- Children, disabled and the elderly are at highest risk of scalding.
- See owner’s manual before setting temperature at water heater.
- Feel water before bathing or showering.
- Temperature limiting valves are available, see manual.
| Temperature | Time to Produce a Serious Burn |
| 49 °C | More than 5 minutes |
| 52 °C | 1 ½ to 2 minutes |
| 54 °C | About 30 seconds |
| 57 °C | About 10 seconds |
| 60 °C | Less than 5 seconds |
| 63 °C | Less than 3 seconds |
| 65 °C | About 1 ½ seconds |
| 68 °C | About 1 second |
Local Installation Regulations
This appliance must be installed accordance with instructions of this manual, national regulations, and any regulations issued by local authorities and public health bodies.
IMPORTANT SAFETY INSTRUCTIONS
- Children in the Household:
This appliance is not intended for use by persons (including children) with reduced physical, sensory or mental capabilities, or lack of experience and knowledge, unless they have been given supervision or instruction concerning use of the appliance by a person responsible for their safety. Children should be supervised to ensure that they do not play with the appliance. Take care so that children may not step on the product. Otherwise, children may be seriously injured due to falling down. - For use in Europe:
This appliance can be used by children aged from 8 years and above and persons with reduced physical, sensory or mental capabilities or lack of experience and knowledge if they have been given supervision or instruction concerning use of the appliance in a safe way and understand the hazards involved. Children shall not play with the appliance. Cleaning and user Cmaintenance shall not be made by children without supervision.
Installation
- To reduce the risk of severe injury or death, follow all installation instructions.
- Be sure your appliance is properly installed in compliance with local codes and the provided installation instructions.
- Do not replace any part of your water heater and use only original accessories and spare part unless it is specifically recommended in this manual.
- Do not turn on the electrical power to water heater unless the tank is completely full of water.
- Never attempt to operate this appliance if it is damaged, malfunctioning, partially disassembled, or has missing or broken parts.
- When the product is soaked (flooded or submerged) in water, contact an Authorized Service Center for repair before using it again.
- Moving or installation of the appliance requires two or more people.
- Turn off the power by opening the circuit breaker or removing the fuses before installing.
- Even if the water heater thermostat is set to relatively low, hot water has the potential for scalding. To reduce the risk of scalding, thermostatic mixing valves are recommended.
- Keep packing materials out of the reach of children. Packaging material can be dangerous for children. There is a risk of suffocation.
- Destroy the carton, plastic bag, and other packing materials after the appliance is unpacked. Children might use them for play. Cartons covered with rugs, bedspreads, or plastic sheets can become airtight chambers.
- Connect to a properly rated, protected, and sized power circuit to avoid electrical overload.
- This appliance must be positioned near to an electrical power supply. Use a power supply of 1.5 mm2 or more in the nominal cross-sectional area
- Do not install the water heater on an unstable surface or in a place where there is danger of it falling.
- For installation, always contact the dealer or an Authorized Service Center. There is risk of fire, electric shock, explosion or injury.
- Do not install the water heater in a place where flammable liquids or gases such as gasoline, propane, paint thinner, etc., are stored.
- Always ground the product. There is risk of fire or electric shock
- Install the panel and the cover of the control box safety.
- Do not touch heat exchanger fins with your bare hands. Otherwise, you may get a cut in your hands.
- Do not input air or gas into the system except with the specific refrigerant.
- Do not turn on the circuit breaker or power when covers are removed or opened.
- Make the connection securely so that screw in terminals may not be loosed when pulling cable.
Operation
- Use this appliance only for its intended purpose.
- If the water heater has been subjected to fire, flood or physical damage, disconnect all power to water heater immediately, and DO NOT operate it again until it has been inspected by a qualified person.
- Do not turn on the water heater unless the tank is completely full of water.
- Do not turn on the water heater if cold water supply shut-off valve is closed.
- Feel water before bathing or showering.
- Even at 50 °C, hot water can scald.
- Do not block the inlet or outlet of air flow.
- Never touch, operate, or repair the water heater with wet hands.
- Do not leave flammable substances such as gasoline, benzene, or thinner near the water heater. (Do not install the unit in potentially explosive atmospheres.)
- Cut off the power supply if there is any noise, smell, or smoke coming from the water heater.
- Make sure that the power cable is neither dirty, loose, nor broken.
- Do not place any objects on the power cable.
- Do not modify or extend the power cable. Scratches or peeling insulation on the power cables may result in fire or electric shock, and should be replaced.
- The supply cord cannot be replaced. If the cord is damaged the appliance should be scrapped.
- Do not expose people, animals, or plants to the cold wind from the water heater for extended periods of time.
- Take care to ensure that power cable could not be pulled out or damaged during operation. There is risk of fire or electric shock.
- Do not touch refrigerant pipe, water pipe and any internal parts while the unit is operating or immediately after operation. There is risk of burns or frostbite, personal injury.
- Additional refrigerant injection is not possible.
Maintenance
- If the supply cord is damaged, it must be replaced by the manufacturer, its service agent or similarly qualified persons in order to avoid a hazard.
- Disconnect this appliance from the power supply before cleaning and attempting any user maintenance.
- Before draining water heater, turn off the power to product.
- Do not turn on the electrical power to the water heater unless the tank is completely full of water.
Technical Safety
- Installation or repairs made by unauthorized persons can pose hazards to you and others.
- The information contained in the manual is intended for use by a qualified service technician who is familiar with the safety procedures and equipped with the proper tools and test instruments.
- Failure to read and follow all instructions in this manual can result in equipment malfunction, property damage, personal injury and/or death.
CAUTION To reduce the risk of minor injury to persons, malfunction, or damage to the product or property when using this product, follow basic precautions, including the following:
Installation
- Install the product on a firm and level floor.
- Do not install the water heater in a place where leakage of the tank or connections will result in damage to the area adjacent to it or to lower floors of the structure. Where such areas cannot be avoided, it is recommended that a suitable drain pan, adequately drained, be installed under the water heater.
- Install the product so that the noise or hot wind from the appliance may not cause any damage to the neighbors. Otherwise, it may cause dispute with the neighbors.
- Install the drain hose properly for the smooth drainage of water condensation.
- Always inspect gas leakage after the installation and repair of product. Otherwise, it may cause the failure of product.
- In order to avoid a hazard due to inadvertent resetting of the thermal cut-out, this appliance must not be supplied through an external switching device, such as a timer, or connected to a circuit that is regularly switched on and off by the utility.
Operation
- Do not step on the product and do not put anything on it.
- Do not use this appliance if any part have been underwater. Immediately contact an Authorized Service Center for replace flooded water heater. Do not attempt to repair the unit. It must be replaced.
- Turn off the power and water supply to water heater and drain water heater if the appliance is to be left for an extended period of time, such as during vacations.
INSTALLATION
Parts and Functions

- Top cover
- Air intake vents
- Junction box
- Air filter
- Front panel
- Display decor / Control panel
- ECO
- Upper element cover
- Front decor
- Lower element cover
- Heating element
- Opening for drain valve
- Water inlet
- Opening for T&P relief valve
- Water outlet
- Condensate drain
- Rear panel
- Air outlet Vents
Installation Tools

Accessories

Installation Instructions

In closed system, connect a thermal expansion tank to cold water supply line.
Select the best Location
NOTE
- Installation in a confined space without proper ventilation will lead to higher power consumption.
- Auxiliary drain pan MUST be installed in compliance with local codes. Drain pan kits are available from the store where the water heater purchased, or any water heater distributor. Drain pan should not obstruct cold water inlet or drain valve.
- Select space that has enough space for periodic servicing. The air filter, covers, and front panels can be removed to permit inspection and servicing.
- Take the weight of the water heater into account and select a place where the floor is strong enough to support the weight of full water heater.
- The water heater and water lines should be protected from freezing and high corrosive elements. Do not install water heater in outdoor or unprotected areas.
- Install the water heater close to the area of the greatest heater water demand and the center of plumbing system. Long uninsulated hot water lines can waste energy.
- Insufficient air exchange will result in increased energy consumption level.
- The installation site must be over 1 °C.
Ensure the water heater is horizontal using a spirit level. Keep level parallel in installing the product. Otherwise, it may cause vibration or water leakage. It may cause injury or an accident.

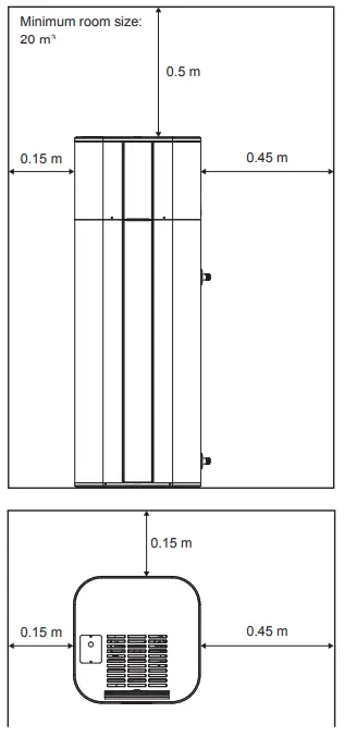
Minimum Clearances

NOTE
- For future service, a minimum 1 m clearance between any object and the left, right and back side is recommended.
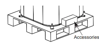
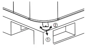
Unpacking and Removing Shipping Bolts
NOTE: Accessories (drain valve and T&P relief valve) are attached on pallet. Keep it for installation. Unpack all shipping materials from the water heater for proper operation and inspect it for shipping damage.
- Remove carton and shipping materials.
- Remove the screws from the shipping brackets.

- Pull out the shipping brackets.

- Slightly tip the water heater and carefully roll the water heater off the pallet.
Thermal Expansion
Determine if a check valve is present on the inlet water line. Check with your local water utility. A check valve located in cold water inlet line will create a “closed water system”. As water is heated, it creates an increase in pressure within the water system because the increased volume of water doesn’t have a place to go. Referred to as “thermal expansion”, the rapid pressure increase can quickly reach the safety setting of the relief valve. This will cause the relief valve to open during each heating cycle. We recommend installing an expansion tank to control thermal expansion. Connect the thermal expansion tank to the cold water supply line (see Installation Instructions). For additional information, contact installing contractor, plumbing inspector, or water supplier.
NOTE
- Drain valve and T&P relief valve is included in packing box of the water heater. They must be installed in the opening provided for this purpose.
Installing Drain Valve
- Apply Teflon tape on the G end to prevent leaking.

- Install the drain valve in the opening marked “Drain Valve”.
Installing T&P Relief Valve
Use T&P relief valve included in packing.
- Apply Teflon tape on the G end to prevent leaking.

- Install the T&P relief valve in the opening marked T&P relief valve.
Connecting T&P Relief Valve Discharge Pipe
WARNING: The pressure rating of the relief valve must not exceed 1 MPa, the maximum working pressure of the water heater as specified on the data plate.
WARNING: DO NOT connect any valve or other restriction to the T&P plumbing. DO NOT connect the T&P plumbing to the condensate plumbing. It must be directly piped to an adequate open drain.
Install T&P Relief Valve discharge pipe according to local codes and the following instructions
- The inside diameter of the discharge pipe must be at least 3/4”.
- The discharge pipe must be approved for hot water distribution and withstand 100 °C without distortion
- The end of the discharge pipe should not be threaded or concealed and should be protected from freezing.
- Do not insert or install any type of valve, restriction, or reducer coupling in the discharge pipe.
- Apply Teflon tape on the G end to prevent leaking.

- Attach the discharge pipe to outlet of the T&P relief valve. The discharge pipe must pitch downward from the valve to allow complete drainage of both T&P relief valve and discharge pipe.

- The end of the discharge pipe must be piped to an adequate open drain.

- The water may drip from the discharge pipe of the pressure-relief device and that this pipe must be left open to the atmosphere.
- The pressure-relief device is to be operated regularly to remove lime deposits and to verify that it is not blocked.
- A discharge pipe connected to the pressurerelief device is to be installed in a continuously downward direction and in a frost-free environment.
Installing Condensate Drain Lines
NOTE
- When making drain fitting connections to the drain tubing, DO NOT overtighten. Overtightening fittings could crack or damage the condensate drain pan.
- Condensate from this unit is not acidic. The condensate drain lines and connections to the drain piping must meet state and local codes.
- Do not reduce the drain line size to less than the condensate connection size provided.
- Ensure that the condensate drain lines maintain a downward slope for proper drainage.
- The drain line should be insulated to prevent condensation from forming on the outside of the drain line.
- If no floor drain is available or the drain is above the level of the condensate line, then a common condensate pump with a capacity no less than 7.5 L per day must be installed.
- Apply Teflon tape on the G end to prevent leaking.

- Attach elbow with 3/4” slip &3/4”G to the primary drain connection.

- Using an approved sealant, insert the PVC pipe into the female end. Condensate drain must be piped to an adequate drain.

- Using 1/2” PVC piping, an elbow with 1/2” slip & 1/2” G, and an approved sealant, attach the elbow to secondary drain connection and insert the PVC pipe into the female end.
Connecting the Water Supply
NOTE
- DO NOT directly solder or braze to hot or cold water connections. If sweat connections are used, sweat tubing to adapter before installing the adapter to the hot or cold water connections on heater. Any heat applied to the water supply fittings will permanently damage the internal plastic lining in these ports.
- The maximum pressure in cold water supply line is 0.8 MPa. If the supply water is greater than 0.8 MPa, install a pressure reducing valve.
- Connect the water for filling or refilling the heating system as specified by EN1717/ EN 61770 to avoid contamination of drinking water by return flow
Refer to “Installation Instructions” for suggested typical installation.
- Check the type of water pipes in your home. Use fittings adequate for the type of pipe in your home.
- Apply Teflon tape on the G end to prevent leaking.

- Connect cold and hot water supply using 3/4” G. For ease of disconnecting the water heater for service or replacement, the installation of unions is recommended on the water connections.

- Install a shut-off valve in the cold water line near the water heater.
- Install the insulation on the cold and hot water pipes. Insulating hot water pipe can increase energy efficiency.
To Fill the Water Heater
- Make sure that the drain valve on water heater is completely closed.

- Turn on the cold water supply
- Open each hot water faucet slowly and allow the water to run until it flows with a full stream.
- Let the water run full stream for a few minutes.
Making Electrical Connections
NOTE
- All wiring must conform to European and national standards, and must be protected by a 30 mA RCD(Residual current device).
- Means for disconnection must be incorporated in the fixed wiring in accordance with the wiring rules The water heater must be permanently powered by electricity to ensure correct operation of the impressed current titanium anode (ICCP). Do not turn on power until water heater is completely filled.
The appliance can only be connected and operated on a single-phase 230 V AC grid.
- The installation of a residual current device (RCD) having a rated residual operating current not exceeding 30 mA is advisable.
- The rating of the residual current device (RCD) to be installed
- The supply cord cannot be disconnected from the product.
- The supply cord cannot be replaced. If the cord is damaged the appliance should be scrapped.
CAUTION: In order to avoid a hazard due to inadvertent resetting of the thermal cut-out, this appliance must not be supplied through an external switching device, such as a timer, or connected to a circuit that is regularly switched on and off by the utility.

Safety Controls
CAUTION: You must have a qualified person investigate the cause of the high temperature condition and take corrective action before placing the water heater in service again.
There is temperature limiting control(ECO) that is located above the upper heating element. If the water temperature becomes excessively high, the temperature limiting control(ECO) shuts off the power to the heating elements. Once the control opens, it must be reset manually.
To reset temperature limiting control(ECO):
- Turn off the power by opening the circuit breaker or removing the fuses.
- Remove the front decor and upper element cover.
- Press the red ECO RESET button.
Insulation Blanket Kits
External insulation blanket, available to the general public, for water heater is not necessary. The manufacturer’s warranty does not cover any damage or failure caused by installing or using any type of unauthorized energy-saving or other devices. The manufacturer is not responsible for any injury or loss resulting from the use of such unauthorized devices.
CAUTION: If local codes require application of any external insulation blanket kit to water heater, it will require careful attention so as not to restrict the proper function and operation of this appliance:
- DO NOT block the air openings of the water heater.
- DO NOT cover or attempt to relocate the information or warning labels attached to the water heater.
- DO NOT cover the control panel, T&P relief valve, drain valve, and junction box.
- Inspect the blanket frequently.
Installation Checklist
Location
- Sufficient room for air exchange and periodic service.
- Floor is strong enough to support water heater.
- Indoor and protected from high corrosive elements.
- Close to the area of heater water demand.
- Over 1 °C.
- Area free of flammable liquids and gases.
Drain valve
- Drain valve properly installed.
T&P relief valve
- T&P relief valve properly installed.
- Discharge line maintains a downward slope and runs to adequate drain.
- Discharge pipe protected from freezing.
Condensate Drain
- Drain lines maintain a downward slope and run to adequate drain.
Water supply
- Tank is completely full of water.
- Remove air from water heater and piping.
- Water connections tight and free of leakage.
- Flexible water connections recommended.
Wiring
- Power supply voltage agree with rating voltage on data plate.
- Proper size of branch circuit wire and fusing or circuit breaker.
- Unit properly grounded.
OPERATION
Using Basic Control
DISPLAY SCREEN:

Water Temperature Adjustment
The water temperature will be maintained according to the setting temperature on Display and can be adjusted from 35 °C to 60 °C.
- Press
or
button to select the water temperature. - Press Set button to finish.
Operation Mode
Press Mode button repeatedly to select the operating mode. The active mode is displayed on the display screen.
- HEAT PUMP MODE
This mode minimizes power consumption by using only heat pump for heating, but has low recovery. - AUTO MODE
This mode is factory set mode for shipping. This mode provides relatively low power consumption and high recovery. This mode primary uses heat pump for heating. Heating elements will provide supplementary heating, if demand is more than the heat pump can keep up by itself. - TURBO MODE
This mode provides the highest recovery. This mode uses heat pump and heating element simultaneously. - VACATION MODE
This feature is recommended when the water heater is not in used for an extended period of time. In this mode, tank temperature will be maintained at about 20 °C to minimize energy consumption and prevent the water heater from freezing. The vacation duration can be set or modified between 1 and 90 days via LG ThinQ app. - SCHEDULE MODE
This mode can set only in LG ThinQ application. You can escape this mode by pressing any button on the water heater. - ANTI-LEGIONELLA MODE
The water heater automatically performs the anti-legionella mode once a week. The water temperature will go up to 60 °C and stay for 1 hour. This temperature can scald, so we recommend you use a thermostatic mixing valve. (Default inactive).
SMART FUNCTIONS
LG ThinQ Application
This feature is only available on models with the or ThinQ logo. The LG ThinQ application allows you to communicate with the appliance using a smartphone.
LG ThinQ Application Features
Communicate with the appliance from a smartphone using convenient smart features.
- Smart DiagnosisTM
If you experience a problem while using the appliance, this smart diagnosis feature will help you diagnose the problem. - Settings
Allows you to set various options on the appliance and in the application.
NOTE
- If you change your wireless router, internet service provider, or password, delete the registered appliance from the LG ThinQ application and register it again.
- The application is subject to change for appliance improvement purposes without notice to users.
- Functions may vary by model
Before Using LG ThinQ Application
- Check the distance between the appliance and the wireless router (Wi-Fi network).
- If the distance between the appliance and the wireless router is too far, the signal strength becomes weak. It may take a long time to register or installation may fail.
- Turn off the Mobile data or Cellular Data on your smartphone.

- Connect your smartphone to the wireless router.

NOTE
- To verify the Wi-Fi connection, check that icon on the control panel is lit.
- The appliance supports 2.4 GHz Wi-Fi networks only. To check your network frequency, contact your Internet service provider or refer to your wireless router manual.
- LG ThinQ is not responsible for any network connection problems or any faults, malfunctions, or errors caused by network connection.
- If the appliance is having trouble connecting to the Wi-Fi network, it may be too far from the router. Purchase a Wi-Fi repeater (range extender) to improve the Wi-Fi signal strength.
- The Wi-Fi connection may not connect or may be interrupted because of the home network environment.
- The network connection may not work properly depending on the Internet service provider.
- The surrounding wireless environment can make the wireless network service run slowly.
- The appliance cannot be registered due to problems with the wireless signal transmission. Unplug the appliance and wait about a minute before trying again.
- If the firewall on your wireless router is enabled, disable the firewall or add an exception to it.
- The wireless network name (SSID) should be a combination of English letters and numbers. (Do not use special characters.)
- Smartphone user interface (UI) may vary depending on the mobile operating system (OS) and the manufacturer.
- If the security protocol of the router is set to WEP, you may fail to set up the network. Please change it to other security protocols (WPA2 is recommended) and register the product again.
Installing the LG ThinQ Application
Search for the LG ThinQ application from the Google Play Store or Apple App Store on a smartphone. Follow instructions to download and install the application.
Smart DiagnosisTM
Use this feature to help you diagnose and solve problems with your appliance.
NOTE
- For reasons not attributable to LGE’s negligence, the service may not operate due to external factors such as, but not limited to, Wi-Fi unavailability, Wi-Fi disconnection, local app store policy, or app unavailability.
- The feature may be subject to change without prior notice and may have a different form depending on where you are located.
Using LG ThinQ to Diagnose Issues
If you experience a problem with your Wi-Fi equipped appliance, it can transmit troubleshooting data to a smartphone using the LG ThinQ application.
- Launch the LG ThinQ application and select the Smart DiagnosisTM feature in the menu. Follow the instructions provided in the LG ThinQ application.
Open Source Software Notice Information
To obtain the source code under GPL, LGPL, MPL, and other open source licenses, that is contained in this product, please visit http://opensource.lge.com. In addition to the source code, all referred license terms, warranty disclaimers and copyright notices are available for download. LG Electronics will also provide open source code to you on CD-ROM for a charge covering the cost of performing such distribution (such as the cost of media, shipping, and handling) upon email request to [email protected]. This offer is valid for a period of three years after our last shipment of this product. This offer is valid to anyone in receipt of this information.
MAINTENANCE
WARNING: Turn off the power by opening the circuit breaker or removing the fuses before you perform any maintenance; otherwise it may cause electrical shock resulting in severe injury or death.
Before you perform any maintenance, turn off the power by opening the circuit breaker as below:
Clean and check the product regularly to maintain optimal performance and to prevent possible break down. If you have difficultly to perform these routine maintenance tasks yourself, contact a qualified person.
Draining and Flushing the Water Heater
Minerals contained in tap water can form lime deposits. Therefore, it is not uncommon that lime deposits accumulate in the water heater’s tank. The amount of lime deposits depends on water hardness, the temperature settings, and other variables.
- Turn off the power by opening the circuit breaker or removing the fuses.
- Connect a garden hose to the drain valve and place the and of the hose in a suitable drain.
- Turn off the cold water supply valve.
- Open the drain valve. (Open a hot water faucet or lift the handle on the T&P relief valve to help the water drain faster.)
- Once the tank is empty, flush the tank by opening the cold water supply valve.
- Allow the water run until no more sediment drains from the tank and water runs clear.
- Close the drain valve and open the hot water faucet. Fill the tank by opening the cold water valve.
T&P Relief Valve Maintenance
DANGER: Before manually operating the relief valve, make sure it will discharge in a safe place. If water does not flow freely from the end of the discharge pipe, turn off the power to water heater and call a qualified person.
At least annually, lift and release the lever handle on water heater to ensure the waterways are clear and the valve operates freely.
Air Filter Maintenance
Clean the air filters when “Air filter check ( )” alarm appears on the display.
NOTE
- The air filter can be broken when it is bended.
- When the air filter is not assembled correctly, dust and other substance come into the unit.
- Turn off the power by opening the circuit breaker or removing the fuses.
- Hold the knobs of the air filter, pull it and remove it from the top cover.

- Clean the filter with a vacuum cleaner or with lukewarm water with neutral detergent.
- Dry the filter in the shade.
- Insert the air filter into the top cover.

- Check the top cover for correct assembly of the air filter.
Condensate Drain Maintenance
- Remove the condensate drain lines and connections.

- Pull the front decor first, and then remove the top cover. Lift the front panel out, then slightly lift the rear panel and remove it.

- Check the condensate drain pan for any debris, and clean the condensate drain by wiping out with a damp cloth or pouring a cup of bleach.
- Reattach top cover and side panel and connect the condensate drain line.
- Restore power to the water heater.
Shut-down for an Extended Period
- If the water heater will not be used for an extended period of time, turn off the power and water supply to water heater and drain water heater to conserve energy and prevent a build-up of dangerous hydrogen gas.
- The water heater and piping should be drained if they might be subjected to freezing temperature.
- After a long shutdown period, the water heater’s operation and controls should be checked by qualified service personnel. Make certain the water heater is completely filled again before placing it in operation.
TROUBLESHOOTING
Before Calling for Service
Please check the following before you contact the service center. If the problem persists, contact your local service center.
CAUTION: For your safety, do not attempt to repair of electrical wiring, controls, heating elements or other safety devices. Refer repairs to qualified service personnel.
| Problem | Possible Causes & Corrective Action |
| Insufficient or no hot water | Water usage exceeds the capacity of the water heater in current mode • Wait for the water heater to recover after an abnormal demand. • Change the mode for higher recovery. |
| Water temperature set too low • See the “Water Temperature Adjustment” section.(Page 24) | |
| ECO tripped • See “Safety Controls” section.(Page 21) | |
| No electric supply to the water heater • Check the electric supply to water heater. See “Making Electrical Connections” section.(Page 20) | |
| Water connections to unit are reversed • Re-install water connection correctly | |
| Leak in hot water faucets or plumbing system • Make certain all faucets are closed. • Check home for any leaks and repair | |
| Improper electric wiring • See “Making Electrical Connections” section.(Page 20) | |
| Cold water inlet temperature may be lower in winter • This is normal. The colder inlet water takes longer to heat. | |
| Dirty air filter • See “Air Filter Maintenance” section.(Page 28) | |
| Not enough clearance to air exchange for heat pump • Make sure unit has enough clearance. See “Select the best Location” section.(Page 15) | |
| Open fuse or a circuit breaker tripped • Replace fuse or reset circuit breaker. | |
| Water is too hot | Water temperature set too high • See the “Water Temperature Adjustment” section.(Page 24) |
| Problem | Possible Causes & Corrective Action |
| Noise | The heat pump compressor, fan, or EEV valve is running • This is normal |
| Build up of scale or lime deposits on heating elements may cause rumbling noise • Clean or replace the heating elements. This should only be performed by qualified service person. Call our Technical Support Center. | |
| Drips from the outside of the heater | Condensate drain is blocked • Clean the drain port and remove the debris. |
| Hot/Cold water connections or other parts have loosened • Tighten the loose connections. This should only be done by a qualified service person. | |
| Noise and drips from relief valve | Pressure build-up due to thermal expansion in a closed water system. • This is an unacceptable condition and must be corrected. Do not plug the T&P relief valve outlet. Contact a plumbing contractor to correct this. |
| Water pressure is low | Supply valve is partially closed • Open the water heater’s supply valve fully. |
| Trouble connecting appliance and smartphone to Wi-Fi network. | The password for the Wi-Fi network was entered incorrectly. • Delete your home Wi-Fi network and begin the registration process again. |
| Mobile data for your smartphone is turned on. • Turn off the Mobile data on your smartphone before registering the appliance. | |
| The wireless network name (SSID) is set incorrectly. • The wireless network name (SSID) should be a combination of English letters and numbers. (Do not use special characters.) | |
| The router frequency is not 2.4 GHz. • Only a 2.4 GHz router frequency is supported. Set the wireless router to 2.4 GHz and connect the appliance to the wireless router. To check the router frequency, check with your Internet service provider or the router manufacturer. | |
| The distance between the appliance and the router are too far. • If the appliance is too far from the router, the signal may be weak and the connection may not be router closer to the appliance or purchase and install a Wi-Fi repeater. |
Error Code
| Code | Contents | Corrective Action | Operating status |
| 1 | Ambient Temp sensor is not working. | Call our Technical Support Center. | Use Elements Only |
| 4 | Condensate drain is blocked. | Clean Condensate drain. See “Condensate Drain Maintenance” section. | Use Elements Only |
| 5 | PCB Communication error. | Call our Technical Support Center. | Use Elements Only |
| 6 | Lower tank Temp sensor is not working. | Call our Technical Support Center. | OFF |
| 9 | EEPROM error. | Call our Technical Support Center. | Use Elements Only |
| 12 | Mid pipe Temp sensor is not working. | ||
| 19 | Upper element is not working. | Call our Technical Support Center. | Use Heat Pump Only |
| 20 | Lower element is not working. | ||
| 21 | DC Peak (IPM Fault). | Call our Technical Support Center. | Use Elements Only |
| 22 | CT 2 (Max, Current). | ||
| 23 | DC Link Low/High Volt. | ||
| 26 | DC Comp Position Error, LOCKIG. | ||
| 27 | PSC Fault. | ||
| 29 | Comp Phase is Over-Current. | Call our Technical Support Center. | Use Elements Only |
| 32 | Discharge pipe is overheated.(105 °C) | ||
| 41 | Discharge pipe Temp sensor is not working. | ||
| 46 | Suction Pipe Temp sensor is not working. | ||
| 61 | Cond. Pipe Temp is High.(65 °C) | ||
| 65 | Heat sink Temp senor is not working. | ||
| 67 | BLDC motor fan is locked. | ||
| DF | No or not enough water in tank. | Fill water heater with water. Open all hot water faucets until water flows with a full stream. | OFF |
| EC | ECO is tripped. | Disconnect all power to water heater. See “Safety Controls” section. Call our Technical Support Center. | OFF |
| H1 | Water Temp is too High. | Call our Technical Support Center. | OFF |
| H2 | |||
| L1 | Water Temp is too Low. | Call our Technical Support Center. | OFF |
| L2 | Water Temp is too low or upper tank Temp sensor is not working. | ||
| IC | ICCP is not functioning | Call our Technical Support Center. | OFF |
Replacement Parts List

| Item No. | Description |
| 1 | Panel Assembly,Front |
| 2 | PCB Assembly,Display |
| 3 | Front decor (Cover,Terminal) |
| 4 | Cover Assembly,Top |
| 5 | Filter Assembly,Air Cleaner |
| 6 | Cover Assembly,Control |
| 7 | PCB Assembly,Power |
| 8 | PCB Assembly,Main |
| 9 | PCB Assembly,Module |
| 10 | Transformer,Reactor |
| 11 | Case Assembly,Control |
| 12 | Panel,Rear |
| 13 | Bracket,Motor |
| 14 | Motor Assembly,DC,Outdoor |
| 15 | Fan,Propeller |
| 16 | Nut,Common |
| 17 | Shroud Assembly |
| 18 | Evaporator Assembly,First |
| Item No. | Description |
| 19 | Switch Assembly |
| 20 | Pan Assembly,Drain |
| 21 | Compressor Set,China |
| 22 | Damper,Compressor |
| 23 | Tube Assembly,Reverse |
| 24 | Coil,Expansion |
| 25 | Tube Assembly,Expansion |
| 26 | Tube Assembly,Evaporator(Out) |
| 27 | Tube Assembly,Connector |
| 28 | Tube Assembly,Evaporator(In) |
| 29 | Harness,Multi |
| 30 | Harness,Multi |
| 31 | Thermistor Assembly,NTC |
| 32 | Thermistor Assembly,NTC |
| 33 | Thermistor Assembly,NTC |
| 34 | Bracket |
| * | Refrigerant |
CAUTION: For your safety, Do not attempt to repair electronic controls, electrical wiring, heat pump, heating elements or other safety devices by yourself. Refer repair to authorized service center.
NOTE
- Check the water heater’s rating plate on the unit for the acceptable voltage and wattage.
Replacement parts can be ordered through the distributor or store where the heater was purchased. All parts order should include following information:
- Model and serial number of the products.
- Voltage and wattage as marked on rating plate.
- Part description.
Technical specification
| Description | Unit | WH20S F5 | WH27S F5 |
| Tank Capacity | L | 200 | 270 |
| Dimension (Width x Height x Depth) | mm | 580 x 1625 x 582 | 580 x 2008 x 582 |
| Weight empty | kg | 100 | 119 |
| Diameter of water connections | – | G 3/4” | |
| Diameter of condensate drainage connections | – | 3/4” 1/2” | |
| Type of corrosion protection | – | Impressed Current Cathodic protection | |
| Type of internal tank protection | – | Ceramic coated | |
| Max Working pressure | MPa | 1 | |
| Setting range of the water temperature | °C | 35 to 60 | |
| Operating temperature range of the heat pump | °C | -5 to 50 | |
| Refrigerant R134a | kg | 0.65 | 0.75 |
| Refrigerant volume in equivalent tonnes | T.eq.CO2 | 0.930 | 1.072 |
| Refrigerant design pressure (high side / low side) | MPa | 2.0 / 0.9 | |
| Power supply | |||
| Voltage | V | 230 | |
| Frequency | Hz | 50 | |
| Total Max power consumption | W | 2600 | |
| Max power consumption by heat pump | W | 550 | |
| Max power consumption by heating element | W | 2050 | |
| Protection rating | IPX1 | ||
| Air side | |||
| Air flow rate (H/M) | m3/min | 6.7/4.4 | 6.7/4.4 |
| Available static pressure | Pa | 90 | 90 |




































