TERACOM TSM400-4-CP Modbus CO2 and Pressure Sensor User Manual
Short description
TSM400-4-CP is a multi-parameter sensor that supports MODBUS RTU protocol over the RS-485 interface. The sensor measures barometric pressure and CO2 concentration. MODBUS device integrates an advanced non-dispersive infrared sensing element (NDIR) for CO2 measurements. The measurement principle is based on the absorption of infra-red (IR) light with specific wavelengths by CO2 molecules. The CO2sensing element is realized with built-in humidity and temperature for better accuracy. Self-calibration is available for carbon dioxide measurements. It is done if the sensor is left in fresh (around 400 ppm CO2 concentration) air.
The basic sensing element for barometric pressure is factory calibrated and it does not require any lifetime recalibration.
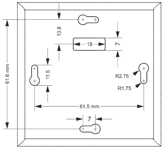
MODBUS CO2 and pressure sensor TSH400-4-CP is housed in a slim plastic enclosure. The bottom part of the enclosure is suitable for installation on standard flush mounted/cavity wall boxes ø68mm, with installation openings on 61 mm.
Features
- LED indicator for status of communication;
- Long-term stability based on digital signal processing;
- Self-calibration on fresh air for CO2 measurements;
- RS-485 interface carrying up to 32 nodes;
- Changeable bitrate and other communication parameters;
- Firmware update via the interface.
Applications
- Indoor air quality (IAQ);
- CO2 storage facilities leakage control;
- Smart ventilation systems;
- Restaurants and breweries CO2 level monitoring.
Specifications
- Physical characteristics
Dimensions: 81 x 81 x 30 mm
Weight: 66 g - Environmental limits
Operating temperature range: -20 to 60°C
Operating relative humidity range: 5 to 95% (non-condensing)
Storage temperature range: -20 to 60°C
Storage relative humidity range: 5 to 95% (non-condensing)
Ingress protection: IP20 - Power requirements
Operating voltage range (including -15/+20% according to IEC 62368-1): 4.5 to 26 VDC
Current consumption: 25 mA@5VDC (Peak: 150 mA@5VDC) - CO2 measurements
Range: 400 to 5000 ppm
Accuracy: ± (40 ppm + 5 %)
Resolution: 1 ppm - Pressure measurements
Range: 10 to 1200 hPa
Accuracy (min): ±1.5 (25°C, 750 hPa)
Accuracy (max): ±2.5 (-20°C to + 85°C, 300 to 1100 hPa)
Resolution: 1 hPa - Warranty
Warranty period: 3 years
Pinout
![]() | Pin | Description | UTP wires color |
| 1-W | Not used | ||
| +5÷30V | Positive power supply | Brown/White Tracer | |
| GND | Ground (negative) supply | Brown | |
| A+ | Line A+ of RS-485 | Blue/White Tracer | |
| B- | Line B- of RS-485 | Blue | |
| TERM | For termination, connect to B- |
Installation
Two-Wire MODBUS definition according to modbus.org:
“A MODBUS solution over a serial line should implement a “Two-Wire” electrical interface in accordance with EIA/TIA-485 standard. On such a “Two-Wire” topology, at any time one driver only has the right to transmit. In fact, a third conductor must also interconnect all the devices of the bus – the common.”
Attention:
For proper operation of the interface, terminators (120 ohms resistors) must be installed at both ends of the bus. The device has a built-in 120-ohm resistor and to terminate the line, “B-“ and “TERM” must be shortened.
A daisy-chained (linear) topology for multiple sensors should be used. UTP/FTP cables are mandatory for interconnection.
Installation tips
The location and the mounting position of sensors have a direct effect on the accuracy of monitoring humidity and temperature. The tips below will ensure good measuring results:
- Sensor shall be installed about 1.2-1.4 m above the floor;
- To avoid solar radiation, the sensor should not be installed next to windows or directly in the sunlight;
- Sensors shall be installed in a place with sufficient air circulation.
TSM400-4-CP sensor is intended for installation on a cavity wall box with 68mm diameter and 61 mm screw spacing.
Status indicator
The status of the device is shown by a single LED, located inside the box:
- If the LED blinks for a period of 1 second, the sensor works properly;
- If the LED blinks for a period of 3 seconds, there isn‘t communication with the controller;
- If the LED doesn‘t blink, there isn‘t a power supply.
Factory default settings
Disconnect the sensor from the bus (switch off the power supply).
Press and hold the “config” button. Don’t release the button, connecting the sensor to the bus (switch on the power supply).
The “status” LED will be ON for 3 seconds and after this will flash for 7 seconds. After the 10-th second the LED will be ON.
Release the button. The sensor will restart with factory default settings.
Firmware update
The firmware of the sensor can be updated with a Teracom controller which supports MODBUS RTU or MBRTU-Config software. For more details, ask your dealer.
Modbus address table
| Register name | R/W | FC | PDU Address (Decimal) | Logical Address (Decimal) | Offset (Decimal) | Data size | Default | Valid values |
| RS-485 address | R/W | 03/06 | 10 | 40011 | 40001 | 16-bit uns. integer | 1 | 1-247 |
| Baud rate* | R/W | 03/06 | 11 | 40012 | 40001 | 16-bit uns. integer | 19200 | 2400, 4800, 9600, 19200, 38400, 57600 |
| Parity, data, stop bits * | R/W | 03/06 | 12 | 40013 | 40001 | 16-bit uns. integer | 1 | 1=E81, 2=O81, 3=N81 |
| Data order | R/W | 03/06 | 13 | 40014 | 40001 | 16-bit uns. integer | 1 | 1=MSWF (MSW, LSW) 2=LSWF (LSW, MSW) |
| Sub-family number | R | 3 | 14 | 40015 | 40001 | 16-bit uns. integer | 1 | 0xC9 |
| FW version | R | 3 | 15 | 40016 | 40001 | 16-bit uns. integer | ||
| Vendor URL | R | 3 | 16 | 40017 | 40001 | 64 bytes UTF-8 | teracomsystems.com | |
| Float test value (MSWF) | R | 3 | 82 | 40083 | 40001 | 32-bit float | -9.9(0xC11E6666) | |
| Float test value (LSWF) | R | 3 | 84 | 40085 | 40001 | 32-bit float | -9.9(0xC11E6666) | |
| Signed integer test value | R | 3 | 86 | 40087 | 40001 | 16-bit sig. integer | -999(0xFC19) | |
| Signed integer test value (MSWF) | R | 3 | 87 | 40088 | 40001 | 32-bit sig. integer | -99999(0xFFFE7961) | |
| Signed integer test value (LSWF) | R | 3 | 89 | 40090 | 40001 | 32-bit sig. integer | -99999(0xFFFE7961) | |
| Unsigned integer test value | R | 3 | 91 | 40092 | 40001 | 16-bit uns. integer | 999(0x03E7) | |
| Unsigned integer test value (MSWF) | R | 3 | 92 | 40093 | 40001 | 32-bit uns. integer | 99999(0x0001869F) | |
| Unsigned integer test value (LSWF) | R | 3 | 94 | 40095 | 40001 | 32-bit uns. integer | 99999(0x0001869F) | |
| CO2, ppm | R | 3 | 106 | 40107 | 40001 | 32-bit float | ||
| Pressure, hPa | R | 3 | 108 | 40109 | 40001 | 32-bit float | ||
| CO2, ppm | R | 3 | 206 | 40207 | 40001 | 32-bit float | ||
| Pressure, mmHg | R | 3 | 208 | 40209 | 40001 | 32-bit float | ||
| CO2, ppm | R | 3 | 603 | 40604 | 40001 | 16-bit uns. integer | ||
| Pressure, hPa | R | 3 | 604 | 40605 | 40001 | 16-bit uns. integer | ||
| CO2, ppm | R | 3 | 703 | 40704 | 40001 | 16-bit uns. integer | ||
| Pressure High, mmHg x 100 | R | 3 | 704 | 40705 | 40001 | 16-bit uns. integer | ||
| Pressure Low, mmHg x 100 | R | 3 | 705 | 40706 | 40001 | 16-bit uns. integer |
MSWF – Most significant word first – (bits 31 … 16), (bits 15 … 0); LSWF – Least significant word first – (bits 15 … 0), (bits 31 … 16);
PDU address – Actual address bytes used in a Modbus Protocol Data unit
A “NaN” value is returned for unavailable floating-point values (e.g., in case of measurement error)
- The settings will take effect after restarting the device by power-off, power on.
Recycling
Recycle all applicable material.
Do not dispose of with regular household refuse.



















