JUMO 00546119 Pressure Transducer

Product Information
The JUMO MIDAS C08 is a pressure transmitter manufactured by JUMO GmbH & Co. KG. The device has a measuring range for pressure and requires a power supply voltage of DC 8 to 30 V. The output signal of the device is DC 0.5 to 4.5 V ratiometric (output 412). The device is available with an attached cable or with a QUICKON connection terminal box. The device can be connected to a two-wire or three-wire system and requires a functional bonding conductor for proper operation. The device measures 23 QUICKON in size with a 61 Leitungsdose terminal box.
Product Usage Instructions
Before using the JUMO MIDAS C08, ensure that the device is connected to the potential equalization system of the plant through the electrical connection or process connection. Follow the instructions below to properly install the device:
- Observe the order details for the device.
- Connect the device to a power supply voltage of DC 8 to 30 V.
- Connect the output signal of the device to the appropriate system.
- Connect the device to a functional bonding conductor for proper operation.
- Connect the device to a two-wire or three-wire system based on your requirements.
- Attach the device with a QUICKON connection terminal box or with an attached cable.
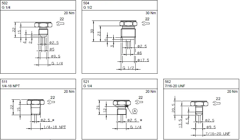
Note that when attaching the device with a QUICKON connection terminal box, use a torque of 0.8 Nm for connections 1, 2, and 3, and use a torque of 0.4 Nm for connections 4, 6, and 7. When attaching the device with an attached cable, use a torque of 1.5 Nm for connection 2 and a torque of 0.4 Nm for connection 9.
Safety notes
CAUTION!
- The pressure transmitter is used for measuring pressure in gases and liquids. If used incorrectly, the device can be dangerous.
- The device must only be installed, connected, and operated by authorized and professionally qualified personnel, in accordance with these instructions, relevant standards, and statutory requirements (as applicable to the application).
- It does not meet the requirements for “equipment with a safety function”, as defined by Pressure Equipment Directive 2014/68/EU.
- For technical data, see data sheet 401002.
- Should any problems arise during startup, please contact us:
- Phone: +49 661 6003-715
- Fax: +49 661 6003-606
Nameplate
- Type
- only in connection with extra code 061; observe order details
- Measuring
- Power supply
- Output signal
- Part no
- Serial number
- Date of manufacture 0201 = 2002/01 (year/week)

Permissible temperature

CAUTION!
The sample medium must not be allowed to freeze in the pressure transmitter!
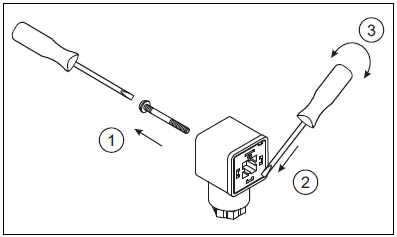
Connection terminal box


Connection QUICKON 23


CAUTION!
Don’t forget the gasket (8)!
Electrical connection
Two-wire system

Three-wire system

Connection diagram
| Connection | Pin assignment | |||||||||||
| |
![]() |
|
![]() |
![]() |
![]()
|
|||||||
| 11 | 23 | 36 | 53 | 61 | ||||||||
| QUICKON | ||||||||||||
| Attached cable/ | Round plug | Bayonet plug | Terminal box | |||||||||
| M12 × 1 | ||||||||||||
| 4 to 20 mA, two-wire (output 405) | ||||||||||||
| Voltage supply | DC 8 … 30 V | UB/S+ 0 V/S- | WH BN | 1
3 |
1
3 |
1
2 |
1
2 |
|||||
| Alimentation | ||||||||||||
| DC 0.5 to 4.5 V ratiometric (output 412) | ||||||||||||
| DC 3 … 5,25 Vb | UB
0 V/S- |
WH BN | 1
2 |
1
2 |
1
2 |
1
2 |
||||||
| 10 … 90 % | S+ | GN | 3 | 3 | 3 | 3 | ||||||
| Voltage supply, | ||||||||||||
| ratiometric output | ||||||||||||
| of voltage supply | ||||||||||||
| DC 0 to 10 V, three-wire (output 415) | ||||||||||||
| DC 11,5 … 30 V | UB | WH | 1 | 1 | 1 | 1 | ||||||
| Voltage supply | 0 V/S- | BN | 2 | 2 | 2 | 2 | ||||||
| S+ | GN | 3 | 3 | 3 | 3 | |||||||
| DC 1 to 5(6) V, two-wire [output 418 (420)] | ||||||||||||
| DC 8 … 30 V | UB | WH | 1 | 1 | 1 | 1 | ||||||
| Voltage supply | 0 V/S- | BN | 2 | 2 | 2 | 2 | ||||||
| S+ | GN | 3 | 3 | 3 | 3 | |||||||
| FB Functional bonding conductor | – | – | 4 | – | – | |||||||
Dimensions

Process connection

- Profile seal for enlarged pressure channel (extra code 630) (option 630): Ø 8 mm
Color assignment:
Connecting cable round plug M12 × 1
- 1 BN Brown
- 2 WH White
- 3 BU Blue
- 4 BK Black
The color assignment only applies to A-coded standard cables!
Contact Information
JUMO GmbH & Co. KG
Moritz-Juchheim-Straße 1 36039 Fulda, Germany
Telefon: +49 661 6003-715
Telefax: +49 661 6003-606
E-Mail: [email protected]
Internet: www.jumo.net
Lieferadresse:
Mackenrodtstraße 14 36039 Fulda, Germany
Postadresse:
36035 Fulda, Germany
JUMO Instrument Co. Ltd.
JUMO House Temple Bank, Riverway
Harlow, Essex CM 20 2DY, UK
Phone: +44 1279 63 55 33
Fax: +44 1279 62 50 29
Email: [email protected]
Internet: www.jumo.co.uk.
JUMO-RÉGULATION SAS
7 Rue des Drapiers B.P. 45200 57075 Metz Cedex 3, France
Téléphone: +33 3 87 37 53 00
Télécopieur: +33 3 87 37 89 00
E-Mail: [email protected].
Internet: www.jumo.fr.























