
INSTRUCTIONS
5″/6″ Recessed Retrofit FA
RAB Lighting is committed to creating high-quality, affordable, well-designed and energy-efficient LED lighting and controls that make it easy for electricians to install and end users to save energy. We’d love to hear your comments. Please call the Marketing Department at 888-RAB-1000 or email: [email protected]
![]() | ![]() |
| R6R89FA120WS, R6R119FA120WS, R6R149FA120WS | R6R89FA120WB, R6R119FA120WB, R6R149FA120WB |
IMPORTANT
READ CAREFULLY BEFORE INSTALLING FIXTURE. RETAIN THESE INSTRUCTIONS FOR FUTURE REFERENCE.
RAB fixtures must be wired in accordance with the National Electrical Code and all applicable local codes. Proper grounding is required for safety. THIS PRODUCT MUST BE INSTALLED IN ACCORDANCE WITH THE APPLICABLE INSTALLATION CODE BY A PERSON FAMILIAR WITH THE CONSTRUCTION AND OPERATION OF THE PRODUCT AND THE HAZARDS INVOLVED.
WARNINGS:
- Risk of electrical shock. Disconnect power at fuse or circuit breaker before installing or servicing.
- To prevent early lamp failure, lamp should only be installed in operating environments ranging between-30 C and +40 °C (-22°F and+104°F).
- No user-serviceable parts inside. To avoid electrical shock do not disassemble product.
- Risk of fire or electric shock, LED Retrofit Kit installation requires knowledge of luminaires electrical systems. If not qualified, do not attempt installation. Contact a qualified electrician.
- Risk of fire or electric shock, Install this kit only in luminaires that have the construction features and min dimensions shown in the Figure 1 and where the input rating of the retrofit kit does not exceed the input rating of the luminaire.
- Do not make or alter any open holes in an enclosure of wiring or electrical components during kit installation
- To prevent wiring damage or abrasion, do not expose wiring to edges of sheet metal or other sharp objects.
- Installers should not disconnect existing wires from lamp holder terminals to make new connections at lamp holder terminals, Instead, installers should cut existing lamp holder leads away from the lamp holder and make new electrical connections to lamp holder lead wires by employing applicable connectors.
- This retrofit kit is accepted as a component of a luminaire where the suitability of the combination shall be determined by authorities having jurisdiction.
- This device is not intended for use with emergency exits.
- This retrofit kits suitable for wet locations luminaires specified as below: Type Non IC; Type IC; Covered ceiling; Uncovered ceiling. Installers should examine all parts that are not intended to be replaced by the retrofit kit for damage and replace any damaged parts prior to installation of the retrofit kit.
NOTE 1: This equipment has been tested and found to comply with the limits for a Class B digital device, pursuant to part 15 of the FCC Rules. These limits are designed to provide reasonable protection against harmful interference in a residential installation. This equipment generates, uses, and can radiate radio frequency energy and, if not installed and used in accordance with the instructions, may cause harmful interference to radio communications. However, there is no guarantee that interference will not occur in a particular installation. If this equipment does cause harmful interference to radio or television reception, which can be determined by turning the equipment off and on, the user is encouraged to try to correct the interference by one or more of the following measures:
- Reorient or relocate the receiving antenna.
- Increase the separation between the equipment and receiver.
- Connect the equipment into an outlet on a circuit different from that to which the receiver is connected.
- Consult the dealer or an experienced radio/TV technician for help.
NOTE 2: Any changes or modifications to this unit not expressly approved by the party responsible for compliance could void the user’s authority to operate the equipment
Note: These instructions do not cover all details or variations in equipment nor do they provide for every possible situation during installation, operation or maintenance.
WHAT’S IN THE BOX

TOOLS NEEDED
The Recessed LED Downlight is designed to fit into a 6″ housing. No tools are necessary for installation.
MIN.LUMINAIRE DIMENSION

OPTIONAL ACCESSORIES

6″ Band with Friction clips
RFLED-RETROBAND
For use with 6″ housings without torsion spring receivers with internal diameter 165.1-171.45mm

Goof ring
RFLED-GOOF-6R-8R-W
For use with 5″/6″ housing applications
INSTALLATION INSTRUCTIONS
- Make sure the power is turned off at the source to the recessed housing(s) that you are installing the fixture(s) in. Remove existing trim and CFL, or Incandescent bulbs. in. Remove existing trim and CFL, or Incandescent bulbs.
- Unscrew the screws on socket bracket, push bracket upward to the top location. (Fig. 2)

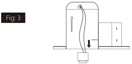
- Remove existing socket mounting plate from the recessed housing and then remove lamp socket from the plate. Fig: 3

- Screw the E26 adapter into the socket inside the housing. (Fig. 4)

- Select desired CCT level using switch on driver box. (Fig. 5)

- Plug E26 base cable connection into the recessed housing. (Fig. 6)

- Squeeze torsion springs as shown and install into the metal brackets inside the recessed housing. For proper installation, the torsion springs should be seated within the brackets and on both sides of the housing. (Fig. 7)

- Carefully place wires into fixture and push the LED trim into the housing until flush with ceiling. (Fig. 8)

DIMENSIONAL DRAWINGS
R6R89FA120WS, R6R119FA120WS, R6R149FA120WS

R6R89FA120WB, R6R119FA120WB, R6R149FA120WB

©2025 RAB LIGHTING Inc.
Cranbury, New Jersey 08512 USA
R6RXX9FA-IN-0721
Easy Answers
rablighting.com
Visit our website for product info
Tech Help Line
Call our experts: 888 722-1000
e-mail
Answered promptly – [email protected]
Free Lighting Layouts
Answered online or by request
RAB WARRANTY: RAB’s warranty is subject to all terms and conditions found at rablighting.com/warranty.



























