Welcome
Retrofit Downlight
LCBR6R119TW120WB-SS-NS
WE’RE HERE TO HELP:
1(844) LIGHTCLOUD
1(844) 544-4825
LCBR6R119TW120WB-SS-NS Retrofit Downlight
Hello
Lightcloud Blue is a Bluetooth mesh wireless lighting control system that allows you to control RAB’s various compatible devices. With RAB’s patent-pending Rapid Provisioning technology, devices can be quickly and easily commissioned for residential and large commercial applications using the Lightcloud Blue mobile app. Each device in a system can communicate with any other device, eliminating the need for a Gateway or Hub and maximizing the control system’s reach.
Product Features
Direct Connect LED, No Gateway or Hub required
Wireless control from your mobile device
On/off and dimming
Color tuning
Group devices together
Create custom scenes
Sensor compatible
Schedules and automations
SmartShift™ automated circadian schedule
Catalog Number: LCBR6R119TW120WB-SS-NS
Model Number: LCBR6R119TW120WB-SS-NS
Electrical: 11W, 880lm 120V 50/60Hz
Construction:
Base: E26 Size: 6″
Trim Finish: White
Trim Style: Baffle
Safety Information
- Not suitable for use with dimmers and sensors unless specifically designed for RAB Lightcloud Blue downlights.
- Risk of electrical shock. Disconnect power at fuse or circuit breaker before installing or servicing.
- No user serviceable parts inside. To avoid electrical shock do not disassemble product.
- Risk of fire or electric shock
– LED Retrofit Kit installation requires knowledge of luminaires electrical systems. If not qualified, do not attempt installation. Contact a qualified electrician.
– Install this kit only in luminaires that have the construction features and minimum dimensions shown in the Figure 1 and where the input rating of the retrofit kit does not exceed the input rating of the luminaire. - Do not make or alter any open holes in an enclosure of wiring or electrical components during kit installation.
- To prevent wiring damage or abrasion, do not expose wiring to edges of sheet metal or other sharp objects.
- This device is not intended for use with emergency exits.
- This retrofit kit is suitable for wet locations luminaires specified below:
Type Non IC; Type IC. - The retrofit kit is accepted as a component of a luminaire where the suitability of the combination shall be determined by authorities having jurisdiction. Product must be installed by a qualified electrician in accordance with the applicable and appropriate electrical codes. The installation guide does not supercede local or national regulations for electrical installations.
- Installers should examine all parts that are not intended to be replaced by the retrofit kit for damage, and replace any damaged parts prior to installation of the retrofit kit.
- Only dimmed by wireless control.
What’s in the box

Tools needed
This Lightcloud Blue Retrofit Downlight is designed to fit into a 6” housing. No tools are necessary for installation.
Compatible Housing Dimensions

Installing your Lightcloud Blue Device
Turn off power
- Place the wall switch in the off position.
- Turn off the main power at the breaker panel or remove the fuse from the fuse box.
1a
Find a suitable location - Lightcloud Blue devices should be positioned within 60 ft. of each other.
- Building materials such as brick, concrete and steel construction may require additional Lightcloud Blue devices to extend around an obstruction.

Install the Lightcloud Blue Retrofit Downlight
2a Installation with housing
- Remove existing trim and CFL or incandescent lamps. If the existing lamp is CFL, please bypass ballast before following action.
- Unscrew the screws on socket bracket, push bracket upward to the top location. (Fig.2)
- Remove existing socket mounting plate from the recessed housing and then remove lamp socket from the plate. (Fig.3)

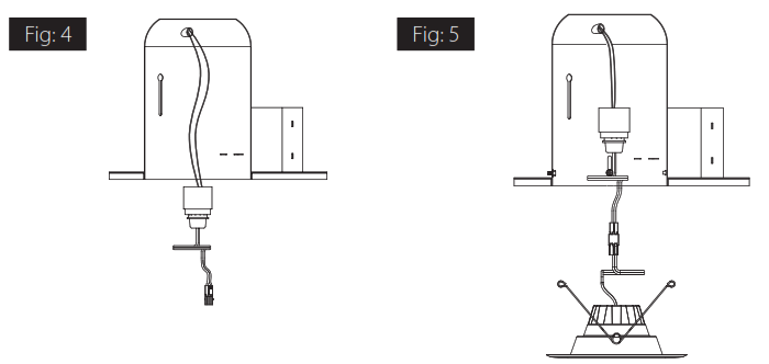
- Screw the E26 adapter into the socket inside the housing. (Fig.4)
- Plug E26 base cable connection into the recessed housing. (Fig.5)

- Squeeze torsion springs as shown and install into the metal brackets inside the recessed housing. For proper installation, the torsion springs should be seated within the brackets and on both sides of the housing. (Fig.6)

- Carefully place wires into fixture and push the LED trim into the housing until flush with ceiling. (Fig.7)

Download the Lightcloud Blue app from the Apple® App Store or Google® Play store.
- Controlling your Lightcloud Blue Device
- Confirm your device is connected and powered on.

- Launch the App and create an account.

- Tap the “add device” icon in the app to start connecting devices.

- Follow the remaining steps in the app. Create areas, groups, and scenes to organize and control your devices.
- You’re all set!
Setting Device to Pairing Mode
If your Lightcloud Blue Retrofit Downlight is already paired, you can reset it by using the below methods.
Method 1: Delete from App
Open the app and access the device settings for the paired device.
Be sure that the downlight is online and select “Delete”.
Method 2: Manual
Power the downlight off and on 5 times consecutively. Do not allow more than 2 second to elapse between switching. The downlight will flash 3 times, then reset to 100% brightness at default CCT.![]()
Method 3: Rapid Reset Tool
The rapid reset process must be done by professional electricians qualified by RAB. Reach out to your RAB sales manager to request a Rapid Reset Tool. The tool simply needs to be placed directly on the small Lightcloud logo on downlight for 2 seconds. The downlight will flash 3 times, then reset to 100% brightness at default CCT. ![]()
Functionality
Configuration
All configuration of Lightcloud Blue products may be performed using the Lightcloud Blue app.
Emergency default
If communication is lost, the Lightcloud Blue Retrofit Downlight may fall back to a specific state, such as turning the Lightcloud
Blue Retrofit Downlight on.
WE’RE HERE TO HELP:
1 (844) LIGHTCLOUD
1 (844) 544-4825
[email protected]
[ Warning: Any wires not in use must be capped off or otherwise insulated. ]
FCC Information:
This device complies with Part 15 of the FCC Rules. Operation is subject to the following two conditions: 1. This device may not cause harmful interference, and 2. This device must accept any interference received, including interference that may cause undesired operation.
Note: This device has been tested and found to comply with the limits for Class B digital devices pursuant to Part 15 Subpart B, of the FCC rules. These limits are designed to provide reasonable protection against harmful interference in a residential environ ment. This equipment generates, uses, and can radiate radio frequency energy, and if not installed and used in accordance with the instruction manual, may cause harmful interference to radio communications. However, there is no guarantee that inter ference will not occur in a particular installation. If this equipment does cause harmful interference to radio or television reception, which can be determined by turning the equipment off and on, the user is encouraged to try and correct the interference by one or more of the following measures:
- Reorient or relocate the receiving antenna.
- Increase the separation between the equipment and receiver.
- Connect the equipment into an outlet on a circuit different from that to which the receiver is connected.
- Consult the dealer or an experienced radio/TV technician for help.
To comply with the FCC’s RF exposure limits for general population / uncontrolled exposure, this transmitter must be installed to provide a separation distance of at least 20 cm from all persons and must not be co-located or operating in conjunction with any other antenna or transmitter.
CAUTION: Changes or modifications to this equipment not expressly approved by RAB Lighting may void the user’s authority to operate this equipment.

Lightcloud Blue is a Bluetooth mesh wireless lighting control system that allows you to control RAB’s various compatible devices. With RAB’s patent-pending Rapid Provisioning technology, devices can be quickly and easily commissioned for residential and large commercial applications using the Lightcloud Blue mobile app. Each device in a system can communicate with any other device, eliminating the need for a Gateway or Hub and maximizing the control system’s reach. Learn more at www.rablighting.com
1(844) LIGHTCLOUD
1(844) 544-4825

©2022 RAB LIGHTING Inc.
Made in China
Pat. rablighting.com/ip














