Genie S40 Boom Lift Rental

Product Information
The Panel Cradle kit (Part No. 82443GT) is an optional accessory that can be attached to specific Genie boom models for lifting solid panels. It is only approved for use on models equipped with a 6 ft or 8 ft / 1,8m or 2,4m platform. The maximum capacity of the panel cradles is 250 lbs / 113 kg, and the maximum vertical height of panels is 4 ft / 1.2 m. The kit comes with all necessary hardware and components for installation, including U-bolts, nuts, screws, rubber bumpers, clamps, padding, and hook pieces.
Product Usage Instructions
- Read and understand all safety rules and instructions before using the panel cradle assembly.
- Ensure that the machine is on a firm and level surface in the stowed position before installing the panel cradle.
- Install the hook piece (Genie part number 228849GT) through the slots in the panel cradle base (Genie part number 228848GT).
- Hook the panel cradle to the bottom platform tube in the desired location.
- Make sure that the combined weight of cradles, panels, occupants, tools, and any other equipment does not exceed the rated capacity of the machine.
- Do not exceed the maximum vertical height of panels, which is 4 ft / 1.2 m.
- Do not cause a horizontal force or side load to the machine by raising or lowering a fixed or overhanging load.
- Do not operate the machine unless you are adequately instructed and aware of all hazards associated with lifting panels.
- Observe the maximum wind speed of 15 mph / 6.7 m/sec and the maximum panel area of 32 sq. ft / 3 m2.
- The weight of panel cradles and load in panel cradles may limit the maximum number of occupants in the platform to one person.
Remember to always refer to the panel cradle assembly kit manual (included with the kit) and contact Genie Product Support if you have any questions or concerns.
Instructions
Modification Approval
- These instructions constitute authorization to modify a Genie model listed below by attaching hardware to the platform rails for the purpose of lifting solid panels, provided the criteria herein is strictly adhered to.
- This option is only approved for use on models equipped with a 6 ft or 8 ft / 1,8m or 2,4m platform.
Approved models
- S-40 S-85
- S-40 HF S-85 XC
- S-40 XC S-100
- S-45 S-105
- S-45 HF SX-105 XC
- S-45 XC S-120
- S-60 S-125
- S-60HC SX-125 XC
- S-60 J SX-135 XC
- S-60 TRAX Z-45/25 RT
- S-60X Z-45FE
- S-60XC Z-45 XC
- S-60 XC Z-60/34
- S-65 Z-60/37DC
- S-65 TRAX Z-60/37FE
- S-65 XC Z-62/40
- S-80 Z-80/60
- S-80X Z-135/70
- S-80 XC ZX-135/70
- Z-45/22 from SN Z45-00001 Not approved on Z-45/22 models before SN 4593-3613
WARNING
- Do not install a panel cradle assembly on any Genie boom product other than the designated models.
Important
- Read, understand and obey the safety rules and all instructions before using a panel cradle assembly.
- This manual is a part of your panel cradle assembly kit and should remain with the panel cradle assembly at all times. If you have any questions, call Genie Product Support.
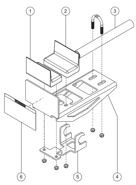
Components of Kit 77683GT:
Part Number Description Qty
- 1251600GT U-bolt, 3/8 -16 x 1.5 x 2.5 x 1.25 2
- 1274322GT Nut – Flange, 3/8 -16, ZAG 8
- 1277924GT Nut – Flange, 1/4 -20, ZAG 1
- 1256855GT Screw – HHF, 1/4 -20 x 0.625, ZAG 1
- 824038GT Nut, Jam, ZAG 4
- 56934GT Rubber bumper 4
- 56424GT Clamp 1
- 88377-1400GT Padding, 3.5 OD x 1.25 ID x 14 in 2
- 228848GT Panel cradle base 2
- 228849GT Hook piece 2
- 73463-1175GT Tube – Aluminum, 1.25 x 0.083 2
- 77664GT Strap assembly 1
- 82410GT Decal – Symbol, Read the Manual 2
- 82443GT Installation Instructions 1
Observe and Obey:
- Do not exceed the rated platform capacity.
- Combined weight of cradles, panels, occupants, tools and any other equipment must not exceed rated capacity.
- The panel cradle assembly weighs 30 lbs / 13.6 kg.
- Maximum capacity of the panel cradles is 250 lbs / 113 kg.
- The weight of panel cradles and load in panelcradles may limit maximum number of occupants in platform to one person.
- Do not operate unless you are adequately instructed and are aware of all hazards associated with lifting panels.
- Do not cause a horizontal force or side load to machine by raising or lowering a fixed or overhanging load.
- Maximum vertical height of panels: 4 ft / 1.2 m.
- Maximum wind speed: 15 mph / 6.7 m/sec.
- Maximum panel area: 32 sq. ft / 3 m2.
- Note: Perform this procedure on a firm, level surface with the machine in the stowed position.
Panel Cradle Installation
- Install hook piece (Genie part number 228849GT) through the slots in the panel cradle base (Genie part number 228848GT).

- rubber bumper 1
- rubber bumper 2
- aluminum tube
- panel cradle base
- hook piece
- warning decal
- Hook the panel cradle to the bottom platform tube in the desired location.
- Install rubber bumper (Genie part
number 56934GT) through the panel cradle base and the hook piece in the location noted as “rubber bumper 1”. Refer to illustration 1. - Secure the rubber bumper with a jam nut (Genie part number 824038GT). Do not over tighten.
- install rubber bumper (Genie part number 56934GT) in the panel cradle base. Install the rubber bumper in the location noted as “rubber bumper 2”. Refer to illustration 1. 6 Secure the rubber bumper with a flange nut (Genie part number 1274322GT). Do not over-tighten.
- Determine if the panel cradle is installed at a platform floor support tube.
Result: The panel cradle is installed at a platform support tube. Proceed to step 8. Result: The panel cradle is not installed at a platform support tube. Place the aluminum tube (Genie part number 73463-1175GT) between the panel cradle and the platform floor. Proceed to step 8. - Insert U-bolt (Genie part number 1251600GT) through the floor, around the tube, and into the panel cradle base.
- Secure the U-bolt with a flange nut (Genie part number 1274322GT).
- Apply the warning decal (Genie part number 82410GT) to the front of each panel cradle base. Refer to illustration 1.
- Repeat steps 1 through 10 for the other panel cradle assembly.
- Install the Platform Padding:
- Install the 2 pieces of padding (Genie part number 88377-1400GT) on the platform rails. Position the padding to protect the panels from contact with the platform rails.

- clamp
- padding
- hook
- Install the Strap:
- Install clamp (Genie part number 56424GT) around the vertical platform rail tube. Refer to Illustration 2.
- Secure the strap assembly (Genie part number 77664GT) to the clamp with retaining fasteners (Genie part numbers 1256855GT and 1277924GT). Do not over-tighten.
Note: The strap assembly must be secured between the clamp.
Note: The strap assembly should be able to slide freely up and down the platform rail.
Operating Instructions
- Secure both panel cradles to the platform.
- Place the load so that it rests in both panel cradles.
- Center the load on the platform.
- Secure the load to the platform using the strap.
- Tighten the strap.
If you have any further questions regarding these instructions or need assistance, please contact Genie Product Support at one of the following telephone numbers
- United States: + 800 536 1800
- Canada: + 425 881 1800
- Europe: UK + 44 1476 584 333
- France + 33 237 260 986
- Germany + 49 421 3770 9890
- Iberica + 34 935 725 090
- Italy + 39 075 941 8132
- Scandinavia + 46 3157 5154
- Other locations + 31 165 51 93 22
- Middle East: + 97 143 391 800 or+ 97 150 459 7937
- Australia: + 61 7 3456 4444
- Brazil + 0 800 031 0100 South America – other locations+ 56 9 6431 2110
- All other locations + 1 425-881 1800





















