Genie S-45 XC Telescopic Boom Lifter

Original Instructions
First Edition
Fourth Printing
Part No. 1286694GT
Introduction
Manufacturer:
- Terex Global GmbH Bleicheplatz 2
- Schaffhausen, 8200 Switzerland
EU Authorized representative:
- Genie Industries B.V. Boekerman 5
- 4751 XK OUD GASTEL
- The Netherlands
UK Authorized representative:
- Genie UK Limited
- The Maltings
- Wharf Road
- Grantham
- NG31 6BH
- UK
Contact Us:
- Internet: www.genielift.com
- E-mail: [email protected]
Important
Read, understand and obey these safety rules and operating instructions before operating this machine. Only trained and authorized personnel shall be permitted to operate this machine. This manual should be considered a permanent part of your machine and should remain with the machine at all times. If you have any questions, contact us.
Approved Model
- Models From Serial Number
- S®-45 XC™, S®-45 Trax™ S40XCH-101
- S®-65 XC™, S®-65 Trax™ S60XCM-101
- S®-85 XC™ S85XCD-101
WARNING
Do not install the Off-Center Transport Lock on any Genie product other than the approved models.
Copyright © 2018 by Terex Corporation
First Edition: Fourth Printing, September 2022
Genie and “S” are registered trademarks of Terex South Dakota, Inc.
in the U.S.A. and many other countries.
“XC” and “TraX” are trademarks of Terex South Dakota, Inc.
These machines comply with
- Complies with EC Directive 2006/42/EC
- See EC Declaration of Conformity
- Supply of Machinery (Safety) Regulations 2008
Danger
Failure to obey the instructions and safety rules in this manual and in the operator’s manual for this machine will result in death or serious injury.
Note
The Off-Center Transport Lock is also known as OCTL.
The purpose of the device is to lock the turntable out of the normal center line position for transport.
- OCTL 1309977 is for use on S45XC with a 13 ft / 4 m wide platform.
- OCTL 1295702 is for use on S65XC with a 13 ft / 4 m wide platform.
- OCTL 1312240 is for use on S85XC with a 13 ft / 4 m wide platform.
Off-Center Transport Lock
Read, understand and obey all warnings and instructions provided with the OCTL.
- OCTL assembly 1309977GT weighs 12.15 lbs./5.5 kg.
- OCTL assembly 1295702GT weighs 26.8 lbs./12.2 kg.
- OCTL assembly 1312240GT weighs 16.3 lbs./7.4 kg.
Make sure that the OCTL is installed securely as instructed in the Installation Instructions section.
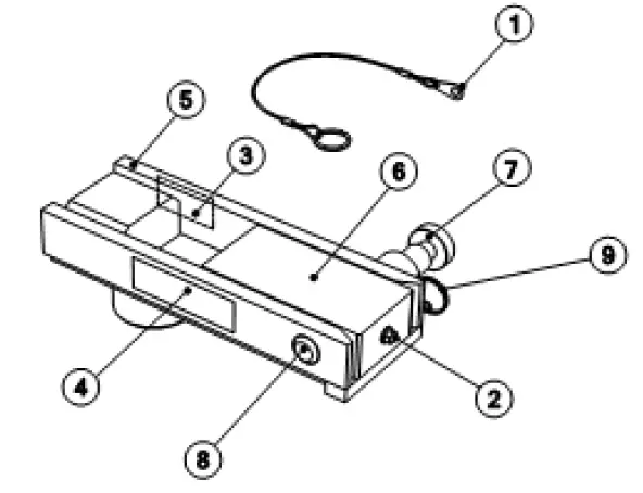
Contents of Kit 1309977
For S-45 approved models:
Item Part No. Decal Description Qty
- 123839 Lanyard Assembly 2
- 218457 Screw, HHF, M5-0.8X12, DIN6921, 10.9 2
- 1290025 Label – Warning, Crushing Hazard, 50X25 1
- 1290026 Decal, Lock Transport, S60/65 1
- 1295642 Block Pin, Transport Lock 1
- 1298405 Pin, Ball Lock, 5/8″X4″ 1
- 1299693 Screw,SHC,M4-0.7X30 DIN912,12.9,ZAB 2
- 1309971 Lock Washer M4, ZAB 2
- 1309975 Spacer plate, Transport Lock 1
- 1309976 Weldment, Transport Lock 1

Contents of Kit 1295702
For S-65 approved models:
Item Part No. Decal Description Qty
- 1295642 Block Pin, Transport Lock 1
- 1298405 Pin, Ball Lock, 5/8″X4″ 1
- 1295641 Weldment, OCTL 1
- 123839 Lanyard Assembly 2
- 218457 Screw, HHF, M5-0.8X12, DIN6921, 10.9 2
- 1290026 Decal, Lock Transport 1
- 1290025 Label – Warning, Crushing Hazard, 50X25 1

Contents of Kit 1312240
For S-85XC approved models:
Item Part No. Decal Description Qty
- 123839 Lanyard Assembly 1
- 218457 Screw, HHF, M5-0.8X12, DIN6921, 10.9 2
- 1290025 Label – Warning, Crushing Hazard, 50X25 1
- 1312380 Decal, Lock Transport 1
- 1312153 Weldment, Transport Lock 1
- 1312154 Pin Block, Transport Lock 1
- 1312155 Knob, Tethered Threaded-Stud, Pin 1
- 1312156 Pin, Removable Block, Transport Lock 1
- 1312157 Quick-Release Pin, Stainless Steel Ring-Grip 1

Symbol and Hazard Pictorials Definitions
Read the supplement, part number 1286694GT.
Crushing hazard
Pre-operation Inspection
- Verify the operator’s manual and any necessary supplements are complete, legible and in the storage container located in the platform.
- Verify all decals are legible and in place.
- Inspect for missing components and unauthorized modifications.
- Inspect all welds for cracks.
- Inspect for missing or loose components.
- Inspect the internal surface for excessive wear.
For S-45 XC and S-65 XC Models only

For S-85 XC Models only

- Inspect the retainer pin and the holes in the OCTL for damage, excessive wear and corrosion.

- Test the operation of the retainer pin by securing the removable block in the OCTL. The pin should slide easily and the locking pins should secure it in place when the blue knob is released.
- Inspect the side plates for excessive wear and deformation.
Note: If at least one of the above points is not met for a particular OCTL, remove that OCTL from service and replace with a new-one.
Decal Inspection – S-45 XC, S-45 XC Trax
Use the inspection to verify that all decals are legible and in place. Decals may vary depending on machine configuration. These decals are also applicable to S-45 XC Trax, even if the picture does not show the tracks.
| Part No. Decal Description | Qty | ||
| 1290025 Label – Warning, Crushing Hazard, 50X25 | 1 | ||
| 1309687 Decal, Lock Transport, S40/45 | 1 | ||
| 1309688 Decal – Swing Lock, 4m Platform, S-45 XC/S-45 XC Trax | 1 |




Decal Inspection – S-65 XC, S-65 XC Trax
Use the inspection to verify that all decals are legible and in place. Decals may vary depending on machine configuration. These decals are also applicable to S-65 XC Trax, even if the picture does not show the tracks.
| Part No. Decal Description | Qty |
| 1290025 Label – Warning, Crushing Hazard, 50X25 | 1 |
| 1290026 Decal, Lock Transport, S60/65 | 1 |
| 1299668 Decal – Swing Lock, 4m Platform, S-65 XC/S-65 XC Trax | 1 |





Decal Inspection – S-85 XC
Use the inspection to verify that all decals are legible and in place. Decals may vary depending on machine configuration.
| Part No. Decal Description | Qty |
| 1290025 Label – Warning, Crushing Hazard, 50X25 | 1 |
| 1312380 Decal, Lock Transport, S85 XC | 1 |
| 1312368 Decal – Swing Lock, 4m Platform, S85XC | 1 |





Installation Instructions
For S-45XC Approved Models (from S45XCH-1198 and S45XCD-440), for S-65XC Approved Models and for S-85XC Approved Models (from S-85XCD-101):
Perform this procedure with the platform located at the non-steer end of the machine.
- Move the control handle to the right and the turntable will rotate to the right. Move the control handle to the left and the turntable will rotate to the left until there is enough clearance to install the OCTL.
- Remove the retainer pin and removable block from the OCTL. Install the OCTL into the transport lock hole of the drive chassis.
- Move the control handle to the right and the turntable will rotate to the right until the transport pin tube makes contact with the OCTL.
- Install the removable block into the OCTL and secure it with the retainer pin.
- For S-45 XC and S-65 XC approved models, Release the blue knob and verify the retainer pin is secured in the OCTL by pulling on it.
For S-85 XC approved models, install the quick release pin and verify the retainer pin is secured in the OCTL. - Move the control handle to the left and the turntable will rotate to the left until the transport pin tube makes contact with the block pin of the OCTL.
For S-45 XC and S-65 XC approved models

For S-85 XC approved models

“For S-45XC approved models (to S45XCH- 1197 and S45XCD-439):
- Remove the part numbers shown below that will be used for the new forming installation.
Item number Part Number 1 1263070GT 2 88356-11B65GT 3 1256698GT 4 824090GT 5 824078GT 6 45470GT 7 1256679GT 
- Replace forming 1283578GT with new 1310431GT and install parts previously removed.
- Check limit switch 88356-11B65GT routing.
- Perform this procedure with the platform located at the steer end of the machine.
- Move the control handle to the right and the turntable will rotate to the right. Move the control handle to the left and the turntable will rotate to the left until there is enough clearance to install the OCTL.
- Remove the retainer pin and removable block from the OCTL. Install the OCTL into the transport lock hole of the drive chassis.
- Move the control handle to the right and the turntable will rotate to the right. Move the control handle to the left and the turntable will rotate to the left until the transport pin tube make contact with the OCTL.
- Install the removable block into the OCTL and secure it with the retainer pin.
- Release the blue knob and verify the retainer pin is secured in the OCTL by pulling on it.


Read the supplement, part number 1286694GT.
Crushing hazard
Note: If at least one of the above points is not met for a particular OCTL, remove that OCTL from service and replace with a new-one.



















