Genie 1298841GT Panel Cradle

Modification Approval
These instructions constitute authorization to modify a Genie Boom listed below by attaching hardware to the platform rails for the purpose of lifting solid panels, provided the criteria herein is strictly adhered to.
This option is only approved for use on models equipped with a 6 ft or 8 ft / 1,8m or 2,4m platform.
Approved models
Foam-filled tires required

Warning
Do not install a panel cradle assembly on any Genie boom product other than the designated models.
Components of Kit 94493
Part Number Description Qty
| 1251600GT | U-bolt, 3/8 -16 x 1.5 x 2.5 x 1.25, UNC, ZAG | 2 | |
| 1274322GT | Nut – Nylock, Flange, 3/8 -16, F, ZAG | 8 | |
| 1277924GT | Nut – Nylock, Flange, 1/4 -20, F, ZAG | 1 | |
| 1256855GT | Screw – HHF, 1/4 -20 x 0.625, 8, ZAG | 1 | |
| 1283028GT | Nut, LP Nylock, 3/8 -16, 2, ZAG | 4 | |
| 56934GT | Rubber bumper | 4 | |
| 56424GT | Clamp | 1 | |
| 88377-1400GT | Padding, 3.5 OD x 1.25 ID x 14 in | 2 | |
| 228848GT | Panel cradle base | 2 | |
| 228849GT | Hook piece | 2 | |
| 73463-1175GT | Tube – Aluminum, 1.25 x 0.083 | 2 | |
| 77664GT | Strap assembly | 1 | |
| 82487GT | Decal – Symbol, Read the Manual | 2 | |
| 82518GT | Installation Instructions | 1 |
Observe and Obey
- Do not exceed the rated platform capacity. The combined weight of cradles, panels, occupants, tools and any other equipment must not exceed rated capacity.
- The panel cradle assembly weighs 30 lbs / 13.6 kg.
- The maximum capacity of the panel cradles is 250 lbs / 113 kg.
- The weight of panel cradles and load in panel cradles may limit the maximum number of occupants in the platform to one person.
- Do not operate unless you are adequately instructed and are aware of all hazards associated with lifting panels.
- Do not cause a horizontal force or side load to the machine by raising or lowering a fixed or overhanging load.
- The maximum vertical height of panels: 4 ft / 1.2 m.
- Maximum wind speed: 15 mph / 6.7 m/sec.
- Maximum panel area: 32 sq. ft / 3 m2.
Note: Perform this procedure on a firm, level surface with the machine in the stowed position.
Panel Cradle Installation
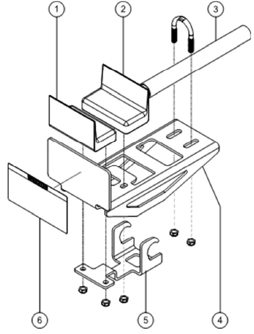
- Install the hook piece (Genie part number 228849GT) through the slots in the panel cradle base (Genie part number 228848GT).

- rubber bumper 1
- rubber bumper 2
- aluminum tube
- panel cradle base
- hook piece
- warning decal
- Hook the panel cradle to the bottom platform tube in the desired location.
- Install rubber bumper (Genie part number 56934GT) through the panel cradle base and the hook piece in the location noted as “rubber bumper 1”. Refer to illustration 1.
- Secure the rubber bumper with jam nut (Genie part number 824038GT). Do not over-tighten.
- Install rubber bumper (Genie part number 56934GT) in the panel cradle base. Install the rubber bumper in the location noted as “rubber bumper 2”. Refer to illustration 1.
- Secure the rubber bumper with flange nut (Genie part number 1274322GT). Do not over-tighten.
- Determine if the panel cradle is installed at a platform floor support tube.
- Result: The panel cradle is installed at a platform support tube. Proceed to step 8.
- Result: The panel cradle is not installed at a platform support tube. Place the aluminum tube (Genie part number 73463-1175GT) between the panel cradle and the platform floor. Proceed to step 8.
- Insert U-bolt (Genie part number 1251600GT) through the floor, around the tube and into the panel cradle base.
- Secure the U-bolt with flange nut (Genie part number 1274322GT).
- Apply a warning decal (Genie part number 82487GT) to the front of each panel cradle base. Refer to illustration 1.
- Repeat steps 1 through 10 for the other panel cradle assembly.
Install the Platform Padding: - Install the 2 pieces of padding (Genie part number 88377-1400GT) on the platform rails. Position the padding to protect the panels from contact with the platform rails.

- clamp
- padding
- hook
Install the Strap:
- Install clamp (Genie part number 56424GT) around the vertical platform rail tube. Refer to Illustration 2.
- Secure the strap assembly (Genie part number 77664GT) to the clamp with retaining fasteners (Genie part numbers 1256855GT and 1277924GT). Do not over tighten.
Note:
- The strap assembly should be secured between the clamp.
- The strap assembly should be able to slide freely up and down the platform rail.
Operating Instructions
- Secure both panel cradles to the platform.
- Place the load so that it rests in both panel cradles.
- Center the load on the platform.
- Secure the load to the platform using the strap.
- Tighten the strap.
Manufacturer:
Terex Global GmbH Bleicheplatz 2 Schaffhausen, 8200 Switzerland
EU Authorized representative:
Genie Industries B.V. Boekerman 5 4751 XK OUD GASTEL The Netherlands
UK Authorized representative:
Genie UK Limited The Maltings Wharf Road Grantham NG31 6BH UK
Important
Read, understand and obey these safety rules and operating instructions before operating this machine. Only trained and authorized personnel shall be permitted to operate this machine. This manual should be considered a permanent part of your machine and should remain with the machine at all times. If you have any questions, contact us.
Contact Us
Internet: www.genielift.com.
E-mail: [email protected].
Copyright © 2009 by Terex Corporation First Edition: Third Printing, August 2021. Genie, “S” and “Z” are registered trademarks of Terex South Dakota, Inc. in the U.S.A. and many other countries.
These machines comply with AS 1418.10. Complies with EC Directive 2006/42/EC. See EC Declaration of Conformity Supply of Machinery (Safety) Regulations 2008.






















