GR-12 Lift Guard Contact Alarm

Product Information – Lift Guard Contact Alarm System
The Lift Guard Contact Alarm system is a safety feature designed to alert the operator, occupants, and ground personnel to a potential hazard when an obstruction makes contact with the secondary guarding system. The system interrupts the machine’s movement, sounds an audible alarm, and flashes beacon lights to indicate the potential danger. After the contact alarm is activated, the operator can acknowledge the hazard and continue operating the machine. The operator must release the function enable switch and return the joystick to the center position. Functions will resume operation at reduced speeds, allowing the operator to continue to raise or drive the machine. The audible alarm and beacons will deactivate when the red Emergency Stop button is pushed into the off position.
Product Usage Instructions
- Pre-operation Inspection: Before using the Lift Guard Contact Alarm system, ensure that the operator’s, safety manual, responsibilities manual, and any necessary supplements are complete, legible, and in the storage container located in the platform. Also, ensure that all decals are legible and in place. Check for any damage to the Contact Alarm, improperly installed or missing parts, and unauthorized modifications such as nuts, bolts, other fasteners, wiring, cables, and Contact Alarm components. Look for cracks in structural components and dents or damage to the Contact Alarm.
- Contact Alarm Safety: Read, understand, and obey all warnings and instructions provided with the contact alarm. Do not exceed the rated platform capacity. The weight of the contact alarm assembly will reduce the rated platform capacity and must be subtracted from the total platform load. The standard contact alarm configuration weighs 3 lbs/1,4 kg. Be sure the contact alarm is securely installed. When the contact alarm assembly is attached, this manual should be considered a permanent part of your machine and should remain with the machine at all times.
- Function Test: Perform this procedure from the platform controls in an area free of obstructions.
- Activate the platform up and move the joystick to any direction.
- The contact alarm will be activated, beacon lights flash, and an audible alarm sounds. Lift and drive functions will not operate from the platform controls.
- To continue operating the machine, acknowledge the potential hazard by releasing the function enable switch and returning the joystick to the center position. Machine functions will resume operation at reduced speeds.
Introduction
Lift Guard Contact Alarm System
The Lift Guard Contact Alarm system is designed to alert the operator, occupants and ground personnel to a potential hazard when an obstruction makes contact with the secondary guarding system. Machine movement will be interrupted, an audible alarm sounds and the beacon lights flash.
After the contact alarm is activated, the operator can acknowledge the hazard and continue operating the machine. The operator must release the function enable switch and return the joystick to the center position. Functions will resume operation at reduced speeds allowing the operator to continue to raise or drive the machine. The audible alarm and beacons will deactivate when the red Emergency Stop button is pushed in to the off position.
Danger
Failure to obey the instructions and safety rules in this manual will result in death or serious injury.
Note: These installation instructions only apply to the Genie models listed on the front cover.
Note: The Lift Guard Contact Alarm is not approved for use on models equipped with the narrow platform option.
Contact Alarm Safety
- Read, understand and obey all warnings and instructions provided with the contact alarm.
- Do not exceed the rated platform capacity. The weight of the contact alarm assembly will reduce the rated platform capacity and must be subtracted from the total platform load.
- The standard contact alarm configuration weighs 3 lbs/1,4 kg.
- Note: The standard configuration consist of one contact alarm assembly attached to the platform.
- Be sure the contact alarm is securely installed.
- When the contact alarm assembly is attached, this manual should be considered a permanent part of your machine and should remain with the machine at all times.
Symbol and Hazard Pictorials Definitions
Standard contact Alarm weight. 3 lbs/1,4 kg.
Read the supplement manual, part number 1293402GT.
Pre-operation Inspection
- Be sure that the operator’s, safety manual, responsibilities manual and any necessary supplements are complete, legible and in the storage container located in the platform.
- Be sure that all decals are legible and in place.
Check the Contact Alarm for damage, improperly installed or missing parts and unauthorized modifications.
- Nuts, bolts and other fasteners
- Wiring, cables and Contact Alarm components
- Cracks in structural components
- Dents or damage to the Contact Alarm
Function Test
Note: Perform this procedure from the platform controls in an area free of obstructions.
- Activate platform up. Move and hold the contact alarm in any direction.
- The platform up function stops, the beacons flash and the alarm sounds.
- While holding the contact alarm, release the joystick. Activate platform up.
- Platform up function resumes at a reduced speed. The beacons flash and the alarm sounds.
- Release the joystick and the contact alarm. Activate platform up.
- Normal platform function speed resumes, the beacons and alarm turn off.
- Activate the drive function. Move and hold the contact alarm in any direction.
- Drive function stops, the beacons flash and the alarm sounds.
- While holding the contact alarm, release the joystick. Activate drive.
- Drive function resumes at a reduced speed. The beacons flash and the alarm sounds.
- Release the joystick and contact alarm. Activate drive.
- Normal drive function resumes, the beacons and alarm turn off.
Operating Instructions
Contact alarm activated, beacon lights flash and an audible alarm sounds. Lift and drive functions will not operate from the platform controls.
Note: The potential hazard must be acknowledged by the operator to continue operating the machine. After the potential hazard has been acknowledged, machine functions will resume operation at reduced speeds.
Platform Controls Operation
- Return the joystick to the center position and release the function to enable switch to acknowledge the potential hazard.
- Continue machine functions to reach the working location or to move the machine away from the potential hazard.
Note: To restore machine functions after the Contact Alarm has been activated, the machine must be driven or lowered until the actuator arm is deactivated. Pushing in the red Emergency Stop button to the off position will not restore machine functions, this action will only turn off the Contact Alarm lights and alarm.
Introduction
Observe and Obey:
- This procedure shall be completed by a person authorized to install the Contact Alarm.
- Immediately tag and remove from service a damaged or malfunctioning machine.
- Repair any machine damage or malfunction before operating the machine.
Before Starting Installation:
- Read, understand and obey the safety rules and operating instructions in the appropriate operator’s manual.
- Be sure that all necessary tools and parts are available and ready for use.
- Read this procedure completely and adhere to the instructions. Attempting shortcuts may produce hazardous conditions.
Attention:
The Lift Guard™ Contact Alarm can only be installed on machines with the “Proportional Lift” control system.
It is not compatible with “2 Speed Lift” control systems.
Refer to the illustrations to determine which control system is on the machine.

Tools Required
- 9/16 inch wrench
- 7/16 inch socket
- 9/16 inch socket
- Ratchet
- Cable tie gun or wire cutters
- Center punch
- Deburring tool
- 5/16 inch / 8 mm Drill bit
- Drill motor
- Phillips screwdriver
- Cat5 Ethernet Cable
- PC or Laptop with an Ethernet Port and Internet Browser
Contents of Kit 1293888GT
Contents of Kit 1293889GT
Contents of Kit 1294048GT
Contents of Kit 1294049GT
Contents of Kit 1294050GT
Contents of Kit 1294052GT
Installation Instructions
GR-12, GR-15, GR-20:
- Turn the key switch to the off position and push in the red Emergency Stop button to the off position at both the ground and platform controls.
- Open the ground control compartment.
- Cut and discard any cable ties securing the harnesses from the ground controls.
- Disconnect the gray J1 connector from the back of the ground controls.

- Disconnect the opposite end of the harness from the 6 pin C4 connector.
Note: The C4 connector is located at the bottom of the ground control compartment. - Remove the receptacle locks from both connectors and set aside.
- Remove the white plugs from connector J1 pin 11 and C4 pin 6 and discard.
- Install the jumper wire assembly into J1 pin 11 and C4 pin 6. Genie part number 1294071GT.
- Install the receptacle locks set aside.
- Secure the wire assembly inside the wire loom.
- Connect the J1 connector to the ground controls. Do not connect the C4 connector at this time.
- Secure the harnesses in the ground controls compartment using cable ties. Genie part number 28443GT.
- Remove the cover from the junction box located in the platform and set aside.
- Remove the AC power outlet and set it aside. (if equipped)
- Disconnect the mast harness and remove it from the junction box.
- Remove the squeeze connector from the junction box and discard.
- Install the provided squeeze connector into the junction box. Genie part number 1293399GT.
Note: ANSI / CSA and GR-12 and GR-15 CE / AS models continue to step 19. - GR-20 CE / AS models: Mark, drill, and deburr a 5/16 inch / 8 mm hole 5 cm below the lower retaining fastener securing the junction box in the platform.

- Remove the retaining fasteners securing the junction box mounting plate to the machine and set it aside.
- Remove the plug from the junction box and discard it.

- Install the contact alarm harness with the squeeze connector into the junction box. Set the coil cord and jumper harness aside. Genie part number 1293397GT.
- ANSI / CSA models: Mount the junction box assembly to the machine using the retaining fasteners set aside.
CE / AS models: Mount the junction box 5 cm lower than it’s original position on the machine using the retaining fasteners set aside.
- Disconnect and remove the platform controller from the platform. Connect the platform controller to the C4 connector at the ground controls.
- Replace the mast harness assembly from the ground controls compartment to the platform junction box.
Note: From the ground controls, raise and lower the platform as needed to route and secure the harness. Model Genie part number GR-12 CE / AS 1293390GT GR-12 ANSI / CSA 1293394GT GR-15 CE / AS 1293391GT GR-15 ANSI / CSA 1293395GT GR-20 CE / AS 1293392GT GR-20 ANSI / CSA 1293396GT 
- Connect the wiring in the junction box. Refer to the Wiring Diagram appropriate for your machine.
- Install the AC power outlet. (if equipped)
- Install the junction box cover set aside.
- Route the contact alarm harness installed in the junction box along the platform with the platform controls harness. Secure with cable ties. Refer to the Platform Mounting Location and Harness Routing. Genie part number 28443GT.
- Mount the contact alarm assembly to the platform.
- Connect the coil cord and jumper harness to the contact alarm and the harness from the junction box. Secure the harnesses to the platform using the provided cable ties.
Note: Models with an extension deck. Secure the bottom of the coil cord to the middle guard rail of the platform. Secure the top of the coil cord to the hole at the top of the door rail. - Disconnect the platform controller from the C4 connector at the ground controls and return it to the platform. Connect it to the platform harness.
- Connect the C4 connector to the mast harness.
- Update the control system software (if required). Refer to the Software Update section.

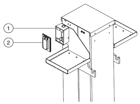
- junction box
- coil cord
- jumper harness
- contact alarm
Wiring Diagram
Wiring Diagram – GR-12, GR-15, GR-20 – ANSI / CSA

- Platform controls Harness
- Contact alarm harness
- Mast harness
- AC power outlet
Wiring Diagram – GR-12, GR-15, GR-20 – CE / AS

- Contact alarm harness
- Platform controls harness
- Platform overload switch
- Mast harness
Illustration
GR Platform Mounting Location and Harness Routing

- contact alarm
- insert
- mounting plate
- retaining fasteners
Installation Instructions
GRC-12:
- Turn the key switch to the off position and push in the red Emergency Stop button to the off position at both the ground and platform controls.
- Open the ground control compartment.
- Cut and discard any cable ties securing the harnesses from the ground controls.
- Disconnect the gray J1 connector from the back of the ground controls.

- Disconnect the opposite end of the harness from the 6 pin C4 connector.
Note: The C4 connector is located at the bottom of the ground control compartment. - Remove the receptacle locks from both connectors and set aside.
- Remove the white plugs from connector J1 pin 11 and C4 pin 6 and discard.
- Install the jumper wire assembly into J1 pin 11 and C4 pin 6. Genie part number 1294071GT.
- Install the receptacle locks set aside.
- Secure the wire assembly inside the wire loom.
- Connect both connector to the machine..
- Secure the harnesses in the ground controls compartment using cable ties. Genie part number 28443GT.
- Remove the cover from the junction box and set aside.

- junction box
- cover
- Remove the AC power outlet and set it aside. (if equipped)
- Disconnect the platform controls harness from the mast harness inside the junction box.
- Remove the platform controls harness from the junction box and set it aside.
Note: Do not remove the harness from the platform at this time. - Cut and discard the terminal from the white wire inside the junction box.
- Strip the end of the wire and connect the provided white wire using a female terminal. Genie part numbers 1541GT, 13826GT.

- Crimp on a provided female terminal to the loose end of the white wire.
- Locate the black wire in the junction box and crimp on a provided female terminal.
Note: Models with a no AC power outlet option, do not use the black wire with the wire cap installed. - Install the platform controls wire assembly into the junction box. Genie part number 137736GT.
- Connect the wiring in the junction box. Refer to the Wiring Diagram.
- Install the AC power outlet. (if equipped)
- Install the junction box cover set aside.
- Using the platform controls harness mounted to the platform as a guide, secure the wire assembly installed in the junction box to the platform using cable ties. Genie part number 28443GT.
- Disconnect the platform controller and remove the old platform controls harness from the platform and discard.
- Mount the contact alarm assembly to the platform. Refer to the Platform Mounting Location and Harness Routing.
- Connect the platform controls wire assembly to the contact alarm using the contact alarm harness. Genie part number 1293398GT.
- Secure the harnesses to the platform using the provided cable ties.
- Connect the platform controller the platform harness.
- Update the control system software (if required). Refer to the Software Update section.
Wiring Diagram – GRC-12
- Mast harness
- Platform controls harness
- AC power outlet (if equipped)
GRC Platform Mounting Location and Harness Routing

- Contact alarm
- mounting plate
- retaining fasteners
Software Update
Software Update
Machines with a control system software revision of “P” or higher do not require a software upgrade.
Machines with revision of “N” or lower, and is equipped with proportional lift control, will require a software upgrade.
Software Version
Note: Before proceeding verify the version of software installed on your machine. The software revision is displayed at the GCON LCD.
- Turn the key switch to ground controls or platform controls and pull out the red Emergency Stop button to the on position at both ground and platform controls.
Result: The PCON LCD will show “CH”.
Result: The GCON LCD will show the machine model and hour meter information. After 3 seconds, the machine model will not show on the display.
- Press the ground control scroll-down button.
Result: The GCON LCD will show the software revision and hour meter information. After 5 seconds, the ground controls LCD will return to machine model and hour meter information.
- GCON LCD
- scroll down button
- Push in the red Emergency Stop button to the off position at both the ground and platform controls and turn the key switch to the off position.
Result: Revision “P” or higher, test the contact alarm. Refer to Function Test.
Result: Revision “N” or lower, update the machine software. Refer to Firmware Site Download.
Firmware Site Download
Note: Access to the internet is required to perform this procedure.
- Click on the Hyperlink below or open an internet browser and copy and paste the link into the address bar and press enter.
http://firmware.genielift.com - Select Machine Model. Select Search.

- Under Application Firmware, select the Firmware File for PROP LIFT and save it to your desktop.
- Locate and open the file saved on your desktop.
- Right-click on the .zip file and select extract all. Note: Verify the Show extracted files when the complete box is checked.
- Select and open instructions 216767 under Application Firmware.
- Refer to the Machine Application Mode procedure to complete the software upgrade.
- Download the Instructions and follow the procedures to update the machine software.
Note: After the control system software has been updated, the contact alarm option must be activated at the ground controls to function properly. Refer to Activating or Deactivating the Contact Alarm.
Activating or Deactivating the Contact Alarm
Note: The contact alarm must be activated in the options menu for the machine to function properly when it has been installed on the machine.
Note: The contact alarm must be deactivated in the options menu for the machine to function properly when it has been removed from the machine.
- Turn the key switch to the ground controls position and pull out the red Emergency Stop button to the on position at the platform controls.
- Press and hold the ground control scroll up and scroll down buttons.

- scroll down button
- enter button
- scroll up button
- escape button
- LCD display
- Pull out the red Emergency Stop button to the on position at the ground controls.
Result: The ground controls LCD display will show the following:
- Use the ground control menu buttons to select machine Options. Follow the menu structure indicated on the ground control LCD display to activate the contact alarm.
- If the contact alarm has been activated, this Operator’s Manual Supplement must be inserted into the manual box located on the machine.
WARNING
Operating, servicing, and maintaining this equipment can expose you to chemicals including engine exhaust, carbon monoxide, phthalates, and lead, which are known to the
State of California to cause cancer and birth defects or other reproductive harm. These chemicals can be emitted from or contained in other various parts and systems, fluids, and some component wear by-products. To minimize exposure, avoid breathing exhaust, do not idle the engine except as necessary, service your equipment and vehicle in a well-ventilated area, and wear gloves or wash your hands frequently when servicing your equipment or vehicle and after the operation. For more information go to
www.P65Warnings.ca.gov/passenger-vehicle.
GR-12 Lift Guard Contact Alarm































