GARDENA 5L Comfort Pressure Sprayer

Translation of the original instructions. Please read the operating instructions carefully and observe the notes given. Use the instructions to familiarise yourself with the Pressure Sprayer, its proper use and the notes on safety. For safety reasons, children under 16 as well as persons not familiar with these operating instructions must not use the Pressure Sprayer. Never operate the product when you are tired, ill or under the influence of alcohol, drugs or medicine.
Read the operator’s manual carefully before use and keep for future reference.
Intended use
The GARDENA Pressure Sprayer is intended for distributing solvent-free liquid pesticides 1), herbicides 1), fertilisers 1), window cleaners 1), and car wax 1) in domestic gardens and allotments. It must not be used in public places, parks, sport arenas, or in agriculture or forestry. Compliance with the specifications in this operating manual is a requirement for the proper use of the Pressure Sprayer. 1) According to the Plant Protection Law as well as the Detergents and Cleaning Agents Law, only approved agents may be used (authorised specialist dealers).
Please note:
Due of the risk of physical injury, the GARDENA Pressure Sprayer must not be used for spraying substances other than those specified by GARDENA. Also, no acids, disinfectants or impregnators, aggressive and solvent-con-taining cleaning agents, petrol or spray oil may be sprayed.
SAFETY
Danger of physical injuries:
Never open the Pressure Sprayer or unscrew the nozzle when the Pressure Sprayer is still pressurised. To prevent injury, never connect the Pressure Sprayer to an air-compressor. Always hold the Pressure Sprayer upright before the safety relief valve 9 (Fig. O1) is pulled. When spraying insecticides, herbicides and fungicides or other liquid plant protection products, you must comply with all special precautionary meas-ures specified by the manufacturer of the product you are using. Before each opening of the Pressure Sprayer, thoroughly release pressure by pulling the safety relief valve 9.

DANGER! Small parts can be easily swallowed. There is also a risk that the polybag can suffocate toddlers. Keep toddlers away when you assemble the product.
Operation
CAUTION: The tank may only be filled with a maximum of 5 litres liquid. Inspect the Pressure Sprayer visually before each use. Never leave your Pressure Sprayer unattended or for long periods when full and pres-surised. Keep the unit out of the reach of children. You are responsible for the safety of others. Keep your Pressure Sprayer away from heat sources and hot environments. Screw on the pump handle 0 tightly by hand (do not use tools) and ensure that the O-ring t (Fig. O1) is positioned correctly.
Cleaning:
Release the pressure after each use, empty the container, clean it carefully and rinse with clear water. Then leave the pressure sprayer open and allow it to dry. Do not dispose of residual fluids in the sewerage system (local
disposal systems). Always clean the Pressure Sprayer before using a dif-ferent product to avoid chemical reactions. When using several Pressure Sprayers, the tanks and spray nozzle may not be exchanged between them. We recommend that you have your Pressure Sprayer thoroughly inspected (preferably at a GARDENA Service Centre) after using it for 5 years.
Storage:
Before storing, loosen the tank cap and always empty your Pressure Sprayer completely (also after cleaning with water). Store away from frost. If you use the permanent lock e (Fig. O3) pay attention that you work very carefully. Carry the pressure sprayer only by the locked pump handle 0. Make sure that the product is protected from direct sunlight. The product may heat up.

ASSEMBLY




- Fig. A1: Slide the spray lance 1 into the hand valve 2 and screw on the union nut 3.
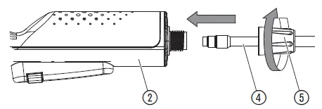
- Fig. A2: Slide the spray hose 4 into the hand valve and screw on the union nut 5.
- Fig. A3: Slide the spray hose 4 into the container and screw on the union nut 7.
- Fig. A4: Attach the carrying strap 8 to the container 6.
OPERATION
Please observe the safety and proportioning instructions provided by the manufacturer of the product you are going to spray.
To spray the liquid
- Pull the safety relief valve 9.
- Unscrew the pump handle 0 counterclockwise and fill the container.
- Screw the pump handle 0 clockwise again firmly into the container.
- Release the locking device u until it is between the two stops of the thread t.
- Pump with the pump handle 0.
- Adjust the spray jet via the nozzle q (clockwise rotation v spray mist; counterclockwise rotation v spray jet).
- Push the button w to spray the liquid. If necessary, you can lock the button w with the permanent lock e.
MAINTENANCE
To clean the pressure sprayer:
Always clean your Pressure Sprayer after spraying. Use the Pressure Sprayer only with clear water (possibly with addition of dish detergent) and spray empty. The valves, the spray lance 1, the nozzle q and the filter r are cleaned. In the case of outer dirtying of cover and tank, thoroughly clean the area thread and thread-O-ring t. Check the safety relief valve 9 for smooth running.
STORAGE
To put into storage:
- Clean the pressure sprayer (see 4. MAINTENANCE).
- Store the pressure sprayer in a frost-free place.
TROUBLESHOOTING
To clean the filter
v Unscrew the spray lanze 1, remove the filter and clean it.

| Problem | Possible Cause | Remedy |
| Pump does not build up pressure | Pump handle (10) too lightly screwed on. | v Screw on pump handle (10) tighter. |
| Hose connection at the container and hand valve is not tight. | v Tighten the hose connec- tions at the container and hand valve. | |
| Permanent lock (13) on the handle is locked. | v Release the permanent lock (13) on the handle. | |
| Sealing cap (16) is dirty / defective. | v Clean / exchange sealing cap (16). | |
| Pressure Sprayer does not spray although there is sufficient pressure or only sprays with a weak spray jet | Nozzle (11) is blocked. | v Unscrew nozzle (11) and clean. |
| Filter (14) is clogged. | v Remove filter (14) from the spray lance and clean it. | |
| It is difficult to open and close the container | Container pressure too high. | v Release the container pressure completely by means of the safety relief valve (9). |
NOTE: For any other malfunctions please contact the GARDENA service department.
TECHNICAL DATA
| Max. capacity | 5 l |
| Spray tube length | 36 cm |
| Permissible working pressure | 3 bar |
| Max. permissible operating temperature | 40 °C |
SERVICE / WARRANTY
In the event of a warranty claim, no charge is levied to you for the services provided. GARDENA Manufacturing GmbH offers a two-year warranty ( effective as of the date of purchase) for this product. This warranty includes all significant defects of the product that can be proved to be material or manufacturing faults. This warranty is fulfilled by supplying a fully functional replacement product or by repairing the faulty product sent to us free of charge; we reserve the right to choose between these options. This service is subject to the following provisions: The product was used for its intended purpose as per the recommendations in the operating instructions. Neither the purchaser nor a third party has attempted to repair the product. This manufacturer’s warranty does not affect warranty entitlements against the dealer / retailer. If problems arise with this product, please contact our Service department or send the defective product along with a brief description of the fault to GARDENA Manufacturing GmbH, making sure to have sufficiently covered any shipping costs and to have followed the relevant postage and packaging guidelines. A warranty claim must be accompanied by a copy of the proof of purchase
Deutschland / Germany
GARDENA Manufacturing GmbH Central Service Hans-Lorenser-Straße 40 D-89079 Ulm
- (+49) 731 490-123
- (+49) 731 490-290
- [email protected]
- http://www.gardena.com
Denmark
GARDENA DANMARK Lejrvej 19, st. 3500 Værløse
- Tlf.: (+45) 70264770
- [email protected]
- www.gardena.com/dk
France
Husqvarna France 9/11 Allée des pierres mayettes 92635 Gennevilliers Cedex http://www.gardena.com/fr
Great Britain
Husqvarna UK Ltd Preston Road Aycliffe Industrial Park Newton Aycliffe County Durham DL5 6UP
Italy
Husqvarna Italia S.p.A. Via Santa Vecchia 15 23868 VALMADRERA (LC)
- Phone: (+39) 0341.203.111
- assistenza.italia@
- it.husqvarna.com
Mexico
AFOSA Av. Lopez Mateos Sur # 5019 Col. La Calma 45070 Zapopan, Jalisco Mexico
- Phone: (+52) 33 3818-3434
- [email protected]
Spain
Husqvarna España S.A. Calle de Rivas nº 10 28052 Madrid
- Phone: (+34) 91 708 05 00
- [email protected]
11130-20.960.02/0720 © GARDENA Manufacturing GmbH D-89079 Ulm http://www.gardena.com
References
Husqvarna UK | Chainsaws, Lawn Mowers & Garden Tools
Husqvarna Forest & Garden
Husqvarna Australia | Tools & Equipment for Lawn, Garden and Forestry
Husqvarna Brasil
Husqvarna Colombia
Husqvarna Ecuador
Husqvarna Magyarország
Husqvarna Group
DETO HANDELMAATSCHAPPIJ N.V.. DETO SHOWROOM
GARDENA - Realize Your Gardening Dreams – Gardena
GARDENA - puutarhatyökalut - GARDENA
Садовый Инвентарь | Садовые Инструменты | GARDENA



















