dmf DRDHNJC Concrete Ceiling Deep Junction Box Frame-in Kit

Package Contents
- Concrete Ceiling
- Deep Junction
- Box Frame-in Kit, #8
- Phillips Pan Head Screw (x 2),
- Retaining Washer (x 2),
- Ground Screw
Safety Information
For your safety, read and understand these instructions completely before starting installation.
The electrical product contained herein is designed to meet the requirements of UL 1598 and the current NFP regulations as published in the NEC. Specific modifications and revisions in your area may differ from this standard. Compliance with local building and electrical codes must be confirmed before installation.
- WARNING – To prevent wiring damage or abrasion, do not pinch or damage exposed wiring during installation. Keep away from the edges of sheet metal or other sharp objects.
- WARNING – Risk of fire or electric shock. Installation of this retrofit assembly requires a person familiar with the construction and operation of the luminaire’s electrical system and the hazard involved. If not qualified, do not attempt installation. Contact a qualified electrician.
- WARNING – Risk of fire or electric shock. Install this kit only in the luminaires that have the construction features shown in the photographs and/or drawings. Do not make or alter any open holes in an enclosure of wiring or electrical components during kit installation.
- WARNING – Risk of fire or electric shock. Do not alter, relocate or remove the wiring, lamp holders, power supply, or any other electrical component.
Pre-Installation
DRDHNJC is for use in poured concrete ceiling applications only.
Power to luminaire power must be turned off prior to installation. Failure to do so may cause electric shock, which may result in injury or death. Ensure that electrical connection is in accordance with local and NEC standards and that wiring is either 120VAC or 277VAC.
Installation in Poured Concrete Ceiling
- Locate fixture position.
- Screw junction box to temporary wooden ceiling board with two screws (not included) up to a #8 size.

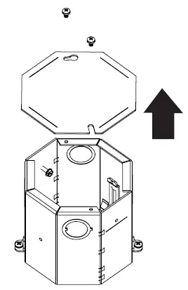
- Remove screws from the junction box lid and remove the lid.

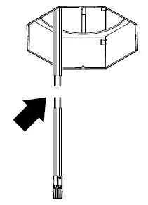
- Route electrical wires through junction box side knockouts.
- Connect hardwire adapter (included with DMF modules) to junction box electrical leads.

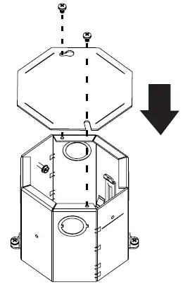
- Re-install the junction box lid.

- Pour concrete. After the concrete dries, remove the temporary board.
NOTE: If necessary, contact the structural engineer for details. - Cut excess screws below ceiling level.
- Finish concrete ceiling.
- Install two screws (included) and retaining washers (included) into screw holes in the module Lange.

- Make ground wire connection and attach ground wire terminal (factory installed on module) to junction box per national and local electrical code.
NOTE: Ground wire must be securely attached to the junction box.
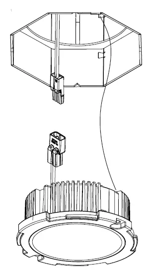
- Carefully route wires into the junction box and connect the module female connector to hardwire adapter male connector.

- Place the module into the junction box, aligning screws with washers to screw holes in the junction box bracket. Screw to the junction box.
NOTE: Do not push the module into the ceiling.
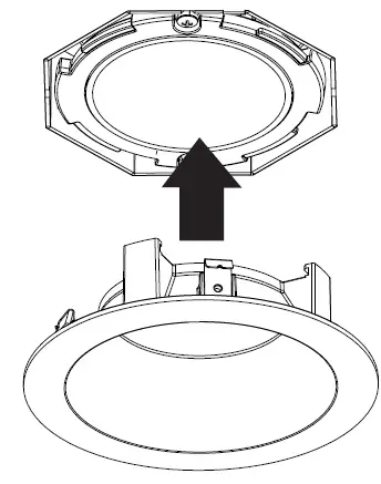
- Align trim onto the module and turn the trim clockwise until secure.
NOTE: Trim must be securely attached to the module.
- Push trim up until flush with the ceiling.
NOTE: To remove trim, turn trim counterclockwise then pull down.
1.800.441.4422
www.dmflighting.com.




























