ZUMTOBEL IYON S Round LED Track Light
Mounting instructions

IMPORTANT INSTRUCTION
- The installation and commissioning of the luminaire as well as any modification to the luminaire may only be performed by authorized personnel (qualified electrician).
- The manufacturer is not liable for damages resulting from improper or faulty installation or operation or from unauthorized modifications to the luminaire.
- The luminaire is used exclusively for lighting and is to be installed in accordance with the national installation regulations.
- Caution, risk of electric shock! Disconnect mains cables and any existing DALI control lines from mains and check that the power is off before conducting any maintenance and assembly work.
- Hot plug-in is not permitted. Hot plug-in may result in damage to the luminaire and entail loss of warranty claims!
- Neutral conductor breaks during operation will result in power surge damage to the lighting system. Therefore neutral disconnect terminals in three-phase AC circuits may only be opened voltage-free and must be closed before power supply is switched back on.
- Commissioning after the construction phase, if the mains voltage is continuously present!
- Dispose of packaging and luminaire in accordance with applicable regional regulations.
- Keep the instructions safe!
- Specifications are subject to change without notice! If you have questions, please contact the manufacturer.
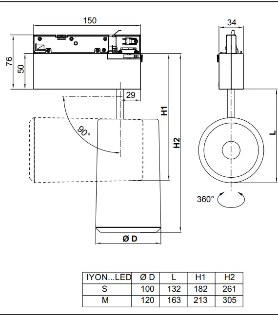
DIMENSIONS
WARNING
- The adapter or track box of this luminaire/spotlight may only be used in combination with the ZUMTOBEL L3 and DALI track and in DALI installations corresponding with the diagram shown.

- Using these devices in tracks with standard 3-phase installations may damage the luminaire and is prohibited.
- The DALI control inputs have been fitted with an irreversible fuse. In cases of overvoltage at

- the DA/DA inputs, e.g. by mains voltage, repair may only be effected at the factory.
- Rotation in counter-clockwise direction will destroy the adapter and its built-in electronic components.


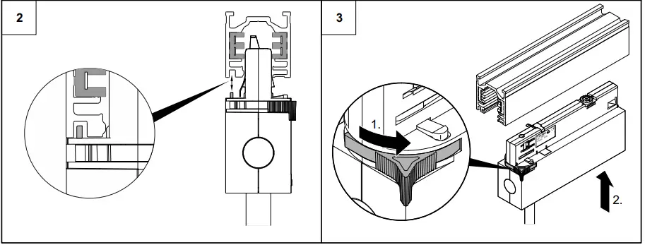
Dismantling


Accessory
The control gear of this luminaire is a non-replaceable component; when the control gear reaches its end of life the whole luminaire shall be replaced.



























