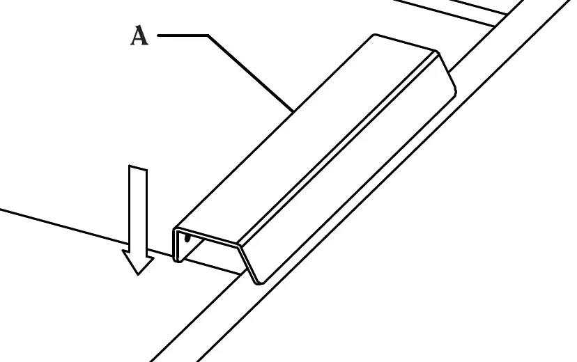
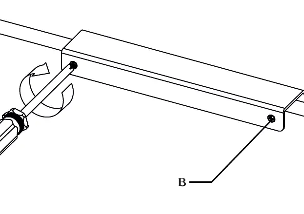
plank HARDWARE 7326 Lip Pull Handle
INSTALLATION GUIDE
(DUAL FIXING POINT)


(DUAL FIXING POINT)






Download manual
Here you can download full pdf version of manual, it may contain additional safety instructions, warranty information, FCC rules, etc.