CrosbyIP 2 IPNM10 Lifting Clamp
2 IPNM10 Vertical lifting without damage

General
You have chosen a CrosbyIP lifting clamp.
CrosbyIP lifting clamps are the most reliable lifting clamps available. But using reliable tools does not automatically mean that practices are reliable. The people who work with clamps play an equally important role in reliable lifting. Ensure that everyone who works with CrosbyIP lifting clamps has been instructed in the proper application of the clamps.
CrosbyIP provides a 10 year warranty for its clamps. To keep CrosbyIP lifting clamps in optimum condition and keep warranty, regular maintenance is important. Preventive maintenance and repair shall be carried by a repairer authorized by CrosbyIP. In order to benefit from this warranty programme and for more details on maintenance procedures, please consult www.thecrosbygroup.com/resources/crosbyip-10-year-guarantee for more information.
Please read and understand these instructions before using the lifting clamp.
It is not permitted to stay in the danger zone of the load.
Ensure that the load remains on the ground when turning.
No changes may be made to CrosbyIP clamps. Never straighten, attempt to bend or heat treat parts.
Safety precautions
- Proper instruction for the personnel is of vital importance. This will contribute to maximum reliability in the working environment.
- 2 IPNM10 clamps may be applied per piece, per set or several at the same time for the lifting of plates.
- Ensure that each clamp receives its proportionate share of the load. When using two clamps or more, a spreader beam is recommended.
- Contact your CrosbyIP Customer Service Centre before using this clamp for plates and constructions that have a radius.
- Temperature: the operating temperature is between –20 ºC (–4 ºF) and 70 ºC (158 ºF). For other temperatures contact your CrosbyIP Customer Service Centre.
- There are restrictions for operation in special atmospheres (e.g. high humidity, explosive, saline, acid, alkaline).
- Loads: For proper application of the clamp consult the load diagrams 1.
- Ensure that all attachments between lifting eye and crane are properly fitted, secured and coupled.
- For each lift only one plate may be transported or lifted.
- The clamping yaws may not be placed on sloping or conical surfaces. Contact your CrosbyIP Customer Service Centre for assistance in selecting a clamp suitable for bevelled plates.
- When the crane hook or attachment is too large and/or too heavy, use properly sized CrosbyIP 5000 stinger assembly or a chain sling with D-shackle of 75 cm (30 inch), with a strength that corresponds to the W.L.L. of the clamp. This will, when setting the load down, prevent the hook from descending to far allowing the clamp to open under the weight of the hook, or, in the case of an unprotected crane hook, its descending from the lifting eye. When suspending the clamp directly on the secured crane hook attention must be given to ensuring that the crane hook can move freely in the lifting eye. Ensure that the crane hook and other material is protected.
- Remark: when handling the load, one should ensure that the load and or clamp does not encounter obstacles which could release the load on the clamps prematurely.
- 10A clamp is a device that must be clean when used. Dirt has an adverse effect on the operation and also on the reliability of the clamp. When cleaning the clamp care should be taken to ensuring that gripping surfaces are at all times clean, dry and free of oil and grease.
Regular cleaning will enhance the life and reliability of the lifting clamps. To clean the gripping surfaces, 3M Scotch-brite and LocTite SF 7063 are recommended.
Inspections protocols
Prior to every application of the clamp it is important the clamp operator inspects the clamp for proper functioning. Attention must be paid to the following (see illustration(s) 2 for part reference):
- Ensure that the plate surface with which the clamp is to come into contact is free of scale, grease, oil, paint, water, ice, moisture, dirt and coatings that might impede the contact of the gripping surface with the plate.
- Inspect pressure pads (W) for wear and defects. The pressure pads should be undamaged and free of moisture, dirt, grease and oil. If needed, clean them. 3M Scotch-brite and LocTite SF 7063 are recommended.
- Check the body (N) en the jaw for damage, cracks or deformation (this may indicate overloading).
- Check the lifting eye (D) and camsegment shaft (G) for readily detectable wear and/or damage.
- Check the spring (M). The spring must have a reasonable spring force when pressing on the hoisting eye (D) in closed position of the latches (A and B, fig. 2).
- Make sure that no iniquities such as steel splinters, steel shavings etc. can get into the interior of the clamp during storage and/or use of the clamp.
- Check whether the W.L.L. and the jaw opening stamped on the body corresponds with the load to be lifted. When this is no longer readable, remove the clamp from operation.
- There is no minimum working load required.
The pressure pads are the most critical parts in the clamp and require extra attention during inspection. Ensure that there are no pieces of the friction material missing as this could diminish the grip.
If more than 5% of the friction surface is damaged, the pressure pad should be replaced. On the inside of the front cover illustrations have been included of damaged and worn (rejected) pressure pads. In doubtful cases an authorised repairer should assess the clamp.
Instructions for use

How to operate the clamp
IPNM10 lifting clamps are suitable for the positioning, lifting, turning and vertical transport of (stainless) steel, aluminium, Glare, carbon and plastic panels and structures without damaging the panel surfaces.
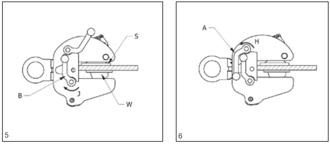
See illustrations 3 – 6 for part reference.


The clamp is fitted with two latches (A and B, A = blue, B = yellow) which ensures a safe process of lifting, turning and vertical transfer of the plate.
Fig. 2 shows the position of the latches (A and B) in closed position, being the proper position for the lifting process to be carried out. In this position a preload is enacted by the safety latches (A and B) onto the material to be lifted.
Fig. 3 shows the position of the latches (A and B) in opened position. The latches (A and B) have to be brought into this position before removal of the lifting clamp from the plate.
- When lifting from vertical position: Place the clamp in open position (3) correctly and straight over the plate so that the jaw of the clamp is resting on the plate completely (E).
- When lifting from horizontal position: The wedge or pressure pad (W) (4) must be positioned at the lower side of the plate. The clamp must be clear of the ground and be able to move freely.
- Before locking the clamp one should make sure that the clamp can move freely in order to enable the wedge or pressure pad (W) (5) to fill up all open space in the jaw completely.
- Now move the yellow latch (B) towards the hoisting eye (D) (see arrow J) (5). Make sure once again that the wedge or pressure pad (W) can freely shut itself. The clamp is locked now and is positioned on the plate unengaged. Now pull the blue latch (A) over towards the hoisting eye (D) (see arrow H) (6).
- The clamp is now in a preload position, after which one may commence the lifting process.
During the lifting process make sure that the plate remains steady und upright. An equalizing beam with two clamps is possibly the right solution in this case. - After completing the lift, lower the crane hook far enough for the lifting chain to slacken and the lifting eye (D) of the clamp can be moved freely. First pull the large blue latch (A) towards the jaw completely (arrow H) (3), the hoisting eye (D) now sinks into the clamp. If necessary apply some pressure. Now pull over the small yellow latch (B) towards the jaw (arrow J) (3). This is done easily by holding the clamp with one hand while applying counter pressure and moving the clamp somewhat, while pulling back the small yellow latch (B) with the other hand.
- The clamp may now be used again immediately or put away in opened or closed position.
A reliable clamp, a secure basis for lifting
10 Year warranty preventive maintenance procedure:
During every maintenance service the most critical parts, being pressure pads and spring are
replaced and, when necessary, any rejected parts will be replaced.
10 Year warranty repair procedure:
During every repair service the most critical parts, being pressure pads, spring, shafts and latch will be replaced and, when necessary, any rejected parts will be replaced.
Please consult www.thecrosbygroup.com/resources/crosbyip-10-year-guarantee for more information on maintenance procedures.
Maintenance without 10 year warranty: Annually clamps are subjected to inspection* and parts will
be replaced only when they no longer meet our standards.
* CrosbyIP authorised repairer
Explanation test certificate
EU Declaration of Conformity: We hereby declare that the equipment described at the front page conforms to the relevant fundamental safety and health requirements of the appropriate EU Directives, both in its basic design and construction as well as in the version marketed by us. This declaration will cease to be valid if any modifications are made to the machine without our express approval.
Relevant EU Directives: EU Machinery Directive (2006/42/CE) Applied standards: EN 13155 and
ASME B30.20
UK Declaration of Conformity: We hereby declare that the equipment described at the front page meets the essential safety requirements of the Supply of Machinery (Safety) Regulations 2008 and section 6 of the Health and Safety At work Etc. Act. 1974. This declaration will cease to be valid if any modifications are made to the machine without our express approval.
Applied standards: EN 13155 and ASME B30.20
Manufacturer
CrosbyIP Lifting Clamps – Inter Product BV
Celsiusstraat 51
6716 BZ Ede
The Netherlands
Ede, 25-1-2021
W. Fabricius
WARNING
- Loads may disengage from clamp if proper procedures are not followed.
- A falling load may cause serious injury or death.
- The clamp shall not be loaded in excess of its rated load or handle any load for which it is not designed. Read instructions in user manual to determine minimum load permitted and proper load thickness.
- Never operate a damaged or malfunctioning clamp, or a clamp with missing parts.
- Clamp not to be used for personnel hoisting.
- Prohibition of handling above persons.
- Do not leave suspended loads unattended.
- Operator and other personnel shall stay clear of the load.
- Do not lift loads higher than necessary.
Do not make alterations or modifications to clamp. - Do not remove or obscure warning labels.
- See ANSI/ASME B30.20 BELOW-THE-HOOK LIFTING DEVICES for additional information.
- Read, understand, and follow these instructions and the product safety information in user manual before using clamp.
Customer Service
Manufacturer:
CrosbyIP Lifting Clamps – Inter Product BV
Celsiusstraat 51
6716 BZ Ede
The Netherlands
Customer Service Centres
BELGIUM
Industriepark Zone B n°26
2220 Heist-op-den-Berg
P: (+32) (0)15 75 71 25
F: (+32) (0)15 75 37 64
[email protected]
UNITED KINGDOM
Station Street
Cradley Heath
West Midlands B64 6AJP
P: (+44) (0)1226 290 516
F: (+44) (0)1226 240 118
[email protected]
U.S.A
P.O. Box 3128
Tulsa, OK 74101
P: (+1) (918) 834 46 11
F: (+1) (918) 832 09 40
[email protected]
CANADA
1195 Courtney Park Drive East
Mississauga, Ontario
Canada L5T 1R1
P: (+1) 877 462 7672
F: (+1) 877 260 5106
[email protected]


















