Crosby Group IPSC10 Clamps for Positioning and Turning

For clamp types: IPSC10
Positioning & seizing
© The Crosby Group LLC. Nothing from this original user instructions publication may, in any way whatever, be replicated or published without prior written permission from The Crosby Group LLC.
IPSC10 Positioning & seizing

INSTALLATION





General
You have chosen a CrosbyIP lifting clamp.
CrosbyIP clamps are the most reliable clamps available. But using reliable tools does not automatically mean that practices are reliable. The people who work with clamps play an equally important role in reliable operation. Ensure that everyone who works with CrosbyIP clamps has been instructed in the proper application of the clamps.
CrosbyIP provides a 10 year warranty for its clamps. To keep CrosbyIP clamps in optimum condition and keep warranty, regular maintenance is important. Preventive maintenance and repair shall be carried by a repairer authorized by CrosbyIP. In order to benefit from this warranty programme and for more details on maintenance procedures, please consult www.thecrosbygroup.com/resources/crosbyip-10year-guarantee for more information.
Please read and understand these instructions before using the clamp
It is not permitted to stay in the danger zone of the load. No changes may be made to
CrosbyIP clamps. Never straighten, attempt to bend or heat treat parts.
Clamps suited for stainless steel, must be used only for handling stainless steel, to avoid contact corrosion.
Safety precautions
- Proper instruction for the personnel is of vital importance. This will contribute to maximum reliability in the working environment.
- IPSC10 clamps may be applied per piece, per set or with several clamps simultaneously for the positioning and seizing of steel plates, beams and constructions. Ensure that each clamp receives its proportionate share of the load.
- Hardness: With the IPSC10 clamps it is possible to handle steel with a hardness of up to 302 HV10. For harder steel types contact your CrosbyIP Customer Service Centre.
- Contact your CrosbyIP Customer Service Centre before using this clamp for plates and constructions that have a radius.
- Temperature: the operating temperature is between –40 ºC (–40 ºF) and 100 ºC (212 ºF). For other temperatures contact your CrosbyIP Customer Service Centre.
- There are restrictions for operation in special atmospheres (e.g. high humidity, explosive, saline, acid, alkaline).
- Loads: For proper application of the clamp consult the load diagrams 1.
- Ensure that all attachments are properly fitted, secured and coupled.
- For each operation only one plate or beam may be positioned or seized with the IPSC10.
- The clamp with the moving pivot and screw spindle must be placed with face up when the clamps are used for horizontal plate surfaces. Attention: ensure that the clamp will not be unscrewed too far, as the moving pivot (K) could fall off. If the moving pivot hits the body the clamp may not be opened further.
- Remark: when handling the load, one should ensure that the load and or clamp does not encounter obstacles which could release the load on the clamps prematurely.
- A clamp is a device that must be clean when used. Dirt has an adverse effect on the operation and also on the reliability of the clamp. When cleaning the clamp care should be taken to ensuring that moving parts are lubricated and the gripping surfaces are clean. Regular cleaning will enhance the life and reliability of the clamps.
Inspection protocols
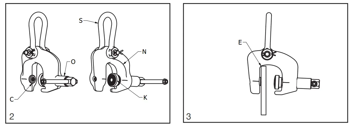
Prior to every application of the clamp it is important the clamp operator inspects the clamp for proper functioning. Attention must be paid to the following (see illustration(s) 2 for part reference):
- Ensure that the plate surface with which the clamp is to come into contact is free of scale, grease, oil, paint, water, ice, moisture, dirt and coatings that might impede the contact of the gripping surface with the plate.
- Inspect moving pivot (K) and the fixed pivot (C) for wear and defects. The pivots must be sharp and free of dirt. (check also the movement of moving pivot (K) over the screw spindle (O).
- Check the body (N) and shackle (S) for damage, cracks or deformation (this may indicate overloading).
- Check the screw spindle (O) for its function by opening and closing the clamp. The spindle should be easily rotatable over its full length (when the operation of the clamp is stiff or heavy, it should be removed from operation). Ensure that the clamp will not be unscrewed too far, as the moving pivot (K) could fall off.
- Check whether the W.L.L. and the jaw opening stamped on the body corresponds with the load.
- Minimum load permitted: 20% of the W.L.L.
The pivot(s) are the most critical parts in the clamp and require extra attention during inspection.
Ensure in any event for good light during inspection. Observe the following rules during every inspection:
Pivot(s): Reject when the sharpness of one ring is damaged or worn for 50% or more.
Also the screw thread of the screw spindle may get damaged. Because of these damages it is possible that the clamp will not open and close properly. This produces hazardous situations when the clamp is placed on the plate and does not close properly. It is therefore very important to check the spindle every time before use. It is also equally important to avoid this damage. The spindle can in fact only become damaged when the clamp is used carelessly
On the inside of the front cover illustrations have been included of damaged and worn (rejected) pivots and camsegments:
- One complete tooth not sharp and one damaged
- Two teeth damaged for 50%
- One tooth damaged for 100% and one tooth damaged for 50%
- Two rings damaged for 100%
- Interior ring damaged for 100%

These areas of damage, precisely as wear, are not covered by the warranty. In most cases however the areas of damage are much less extensive. In doubtful cases an authorised repairer should assess the clamp.
A reliable clamp, a secure basis for lifting
10 Year warranty preventive maintenance procedure:
Parts should be replaced only when they no longer meet our standards.
10 Year warranty repair procedure:
During every repair service the most critical parts, being pivot(s) will be replaced and, when necessary, any rejected parts will be replaced.
Please consult www.thecrosbygroup.com/resources/crosbyip-10-year-guarantee for more information on maintenance procedures.
Maintenance without 10 year warranty: Annually clamps are subjected to inspection* and parts will be replaced only when they no longer meet our standards. *CrosbyIP authorised repairer
Explanation test certificate
EU Declaration of Conformity: We hereby declare that the equipment described at the front page conforms to the relevant fundamental safety and health requirements of the appropriate EU Directives, both in its basic design and construction as well as in the version marketed by us. This declaration will cease to be valid if any modifications are made to the machine without our express approval. Relevant EU Directives: EU Machinery Directive (2006/42/CE) Applied standards: EN 13155 and ASME B30.20
UK Declaration of Conformity: We hereby declare that the equipment described at the front page meets the essential safety requirements of the Supply of Machinery (Safety) Regulations 2008 and section 6 of the Health and Safety At work Etc. Act. 1974. This declaration will cease to be valid if any modifications are made to the machine without our express approval. Applied standards: EN 13155 and ASME B30.20
Manufacturer
CrosbyIP Lifting Clamps – Inter Product BV
Celsiusstraat 51
6716 BZ Ede
The Netherlands
Ede, 25-1-2021 W. Fabricius
WARNING
- Loads may disengage from clamp if proper procedures are not followed.
- A falling load may cause serious injury or death.
- The clamp shall not be loaded in excess of its rated load or handle any load for which it is not designed. Read instructions in user manual to determine minimum load permitted and proper load thickness.
- Never operate a damaged or malfunctioning clamp, or a clamp with missing parts.
- Clamp not to be used for personnel hoisting.
- Prohibition of handling above persons.
- Do not leave suspended loads unattended.
- Operator and other personnel shall stay clear of the load.
- Do not lift loads higher than necessary.
- Do not make alterations or modifications to clamp.
- Do not remove or obscure warning labels.
- See ANSI/ASME B30.20 BELOW-THE-HOOK LIFTING DEVICES for additional information.
- Read, understand, and follow these instructions and the product safety information in user manual before using clamp.
Manufacturer:
CrosbyIP Lifting Clamps – Inter Product BV
Celsiusstraat 51
6716 BZ Ede
The Netherlands
Customer Service Centres
BELGIUM
Industriepark Zone B n°26
2220 Heist-op-den-Berg
P: (+32) (0)15 75 71 25
F: (+32) (0)15 75 37 64
[email protected]
UNITED KINGDOM
Station Street
Cradley Heath
West Midlands B64 6AJP
P: (+44) (0)1226 290 516
F: (+44) (0)1226 240 118
[email protected]
U.S.A
P.O. Box 3128
Tulsa, OK 74101
P: (+1) (918) 834 46 11
F: (+1) (918) 832 09 40
[email protected]
CANADA
1195 Courtney Park Drive East
Mississauga, Ontario
Canada L5T 1R1
P: (+1) 877 462 7672
F: (+1) 877 260 5106
[email protected]



















