The Crosby Group IPDV (3) CrosbyIP lifting clamp

For clamp types: IPDV Lifting & transport of steel tight head drums (ISO 15750-2) – with locking
© The Crosby Group LLC. Nothing from this original user instructions publication may, in any way whatever, be replicated or published without prior written permission from The Crosby Group LLC.
OVERVIEW





PDV
Lifting & transport of steel tight head drums (ISO 15750-2) – with locking
INSTALLATION





General
You have chosen a CrosbyIP lifting clamp.
CrosbyIP lifting clamps are the most reliable lifting clamps available. But using reliable tools does not automatically mean that practices are reliable. The people who work with clamps play an equally important role in reliable lifting. Ensure that everyone who works with CrosbyIP lifting clamps has been instructed in the proper application of the clamps.
CrosbyIP provides a 10 year warranty for its clamps. To keep CrosbyIP lifting clamps in optimum condition and keep warranty, regular maintenance is important. Preventive maintenance and repair shall be carried by a repairer authorized by CrosbyIP. In order to benefit from this warranty programme and for more details on maintenance procedures, please consult www.thecrosbygroup.com/resources/crosbyip-10-year-guarantee for more information.
Please read and understand these instructions before using the lifting clamp.
It is not permitted to stay in the danger zone of the load. No changes may be made to CrosbyIP clamps. Never straighten, attempt to bend or heat treat parts.
Clamps suited for stainless steel, must be used only for handling stainless steel, to avoid contact corrosion.
Safety precautions
- Proper instruction for the personnel is of vital importance. This will contribute to maximum reliability in the working environment.
- IPDV clamps may be used per piece for the lifting of steel tight head drums. With each clamp one drum can be lifted.
- Temperature: the operating temperature is between –40 ºC (–40 ºF) and 100 ºC (212 ºF). For other temperatures contact your CrosbyIP Customer Service Centre.
- There are restrictions for operation in special atmospheres (e.g. high humidity, explosive, saline, acid, alkaline).
- Loads: For proper application of the clamp consult the load diagrams 1.
- Ensure that all attachments between lifting eye and crane are properly fitted, secured and coupled.
- Remark: when handling the load, one should ensure that the load and or clamp does not encounter obstacles which could release the load on the clamps prematurely.
- A clamp is a device that must be clean when used. Dirt has an adverse effect on the operation and also on the reliability of the clamp. When cleaning the clamp care should be taken to ensuring that moving parts are lubricated and the gripping surfaces are clean. Regular cleaning will enhance the life and reliability of the clamps.
Inspections protocols
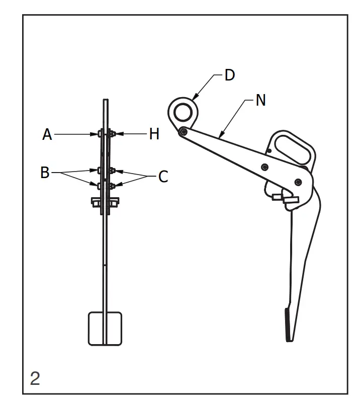
Prior to every application of the clamp it is important the clamp operator inspects the clamp for proper functioning. Attention must be paid to the following (see illustration(s) 2 for part reference):
- Ensure that the surface of the drum with which the clamp is to come into contact is free of scale, grease, oil, water, ice, moisture, dirt and coatings that might impede the contact with the drum.
- Check the body (N) en the jaw for damage, cracks or deformation (this may indicate overloading).
- Check the lifting eye (D) and the lifting eye shaft (H) for deformation.
- Check whether the W.L.L. and the jaw opening stamped on the body corresponds with the load to be lifted. When this is no longer readable, remove the clamp from operation.
How to operate the clamp
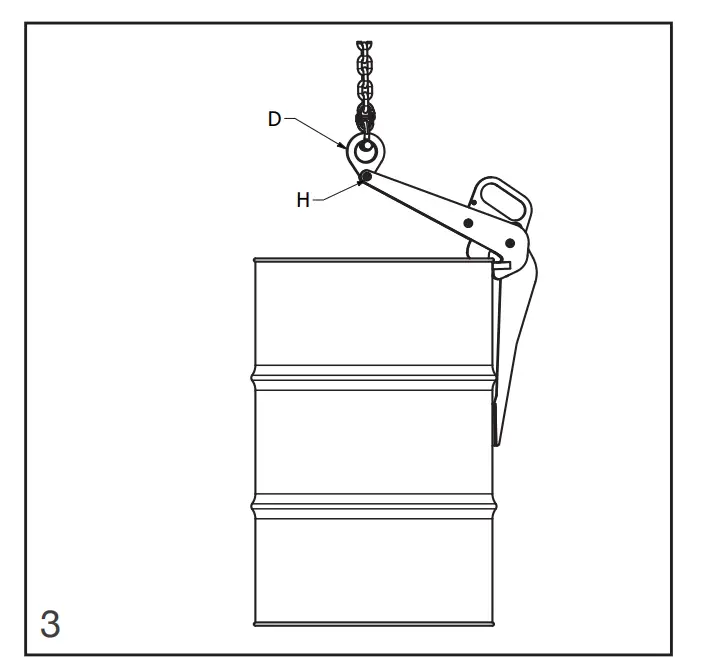
IPDV clamps are solely suitable for the lifting and vertical transport of steel tight head drums (ISO 15750-2). See illustrations 3 – 5 for part reference.
- Place the clamp in open position over the edge over the drum (3).
- Close the clamp by pulling the lifting eye (D) upwards (see arrow P). The clamp remains in locked position on the drum and is ready for use (4).
- As soon as the load is at its destination let the crane hook descend until the clamp is fully free of load, meaning that the lifting chain is no longer taut and the lifting eye (D) of the clamp can move freely (5).
- Open the clamp by pulling up the grip (X). The clamp can now be removed (5).
A reliable clamp, a secure basis for lifting
10 Year warranty preventive maintenance procedure:
Parts should be replaced only when they no longer meet our standards.
10 Year warranty repair procedure:
Parts should be replaced only when they no longer meet our standards.
Please consult www.thecrosbygroup.com/resources/crosbyip-10-year-guarantee for more information on maintenance procedures.
Maintenance without 10 year warranty: Annually clamps are subjected to inspection* and parts will be replaced only when they no longer meet our standards. *CrosbyIP authorised repairer
Explanation test certificate
EU Declaration of Conformity: We hereby declare that the equipment described at the front page conforms to the relevant fundamental safety and health requirements of the appropriate EU Directives, both in its basic design and construction as well as in the version marketed by us. This declaration will cease to be valid if any modifications are made to the machine without our express approval. Relevant EU Directives: EU Machinery Directive (2006/42/CE) Applied standards: EN 13155 and ASME B30.20
UK Declaration of Conformity: We hereby declare that the equipment described at the front page meets the essential safety requirements of the Supply of Machinery (Safety) Regulations 2008 and section 6 of the Health and Safety At work Etc. Act. 1974. This declaration will cease to be valid if any modifications are made to the machine without our express approval. Applied standards: EN 13155 and ASME B30.20

Copyright © 2021 The Crosby Group LLC. All Rights Reserved.
WARNING
- Loads may disengage from clamp if proper procedures are not followed.
- A falling load may cause serious injury or death.
- The clamp shall not be loaded in excess of its rated load or handle any load for which it is not designed. Read instructions in user manual to determine minimum load permitted and proper load thickness.
- Never operate a damaged or malfunctioning clamp, or a clamp with missing parts.
- Clamp not to be used for personnel hoisting.
- Prohibition of handling above persons.
- Do not leave suspended loads unattended.
- Operator and other personnel shall stay clear of the load.
- Do not lift loads higher than necessary.
- Do not make alterations or modifications to clamp.
- Do not remove or obscure warning labels.
- See ANSI/ASME B30.20 BELOW-THE-HOOK LIFTING DEVICES for additional information.
- Read, understand, and follow these instructions and the product safety information in user manual before using clamp.
Manufacturer:
CrosbyIP Lifting Clamps – Inter Product BV
Celsiusstraat 51
6716 BZ Ede
The Netherlands
Customer Service Centres
BELGIUM
Industriepark Zone B n°26 2220 Heist-op-den-Berg
P: (+32) (0)15 75 71 25
F: (+32) (0)15 75 37 64
[email protected]
UNITED KINGDOM
Station Street
Cradley Heath
West Midlands B64 6AJP
P: (+44) (0)1226 290 516
F: (+44) (0)1226 240 118
[email protected]
U.S.A
P.O. Box 3128
Tulsa, OK 74101
P: (+1) (918) 834 46 11
F: (+1) (918) 832 09 40
[email protected]
CANADA
1195 Courtney Park Drive East
Mississauga, Ontario
Canada L5T 1R1
P: (+1) 877 462 7672
F: (+1) 877 260 5106
[email protected]



















