BAILEIGH BSV-12VS-V2 Variable Speed Vertical Band Saw
THANK YOU & WARRANTY
Thank you for your purchase of a machine from Baileigh Industrial Holdings LLC. We hope that you find it productive and useful to you for a long time to come.
Inspection & Acceptance: Buyer shall inspect all Goods within ten (10) days after receipt thereof. Buyer’s payment shall constitute final acceptance of the Goods and shall act as a waiver of the Buyer’s rights to inspect or reject the goods unless otherwise agreed. If Buyer rejects any merchandise, Buyer must first obtain a Returned Goods Authorization (“RGA”) number before returning any goods to Seller. Goods returned without an RGA will be refused. Seller will not be responsible for any freight costs, damages to goods, or any other costs or liabilities pertaining to goods returned without a RGA. Seller shall have the right to substitute a conforming tender. Buyer will be responsible for all freight costs to and from Buyer and repackaging costs, if any, if Buyer refuses to accept shipment. If Goods are returned in unsalable condition, Buyer shall be responsible for full value of the Goods. Buyer may not return any special-order Goods. Any Goods returned hereunder shall be subject to a restocking fee equal to 30% of the invoice price.
Specifications: Seller may, at its option, make changes in the designs, specifications or components of the Goods to improve the safety of such Goods, or if in Seller’s judgment, such changes will be beneficial to their operation or use. Buyer may not make any changes in the specifications for the Goods unless Seller approves of such changes in writing, in which event Seller may impose additional charges to implement such changes.
Limited Warranty: Seller warrants to the original end-user that the Goods manufactured or provided by Seller under this Agreement shall be free of defects in material or workmanship for a period of twelve (12) months from the date of purchase, provided that the Goods are installed, used, and maintained in accordance with any instruction manual or technical guidelines provided by the Seller or supplied with the Goods, if applicable. The original end-user must give written notice to Seller of any suspected defect in the Goods prior to the expiration of the warranty period. The original end-user must also obtain a RGA from Seller prior to returning any Goods to Seller for warranty service under this paragraph. Seller will not accept any responsibility for Goods returned without a RGA. The original end-user shall be responsible for all costs and expenses associated with returning the Goods to Seller for warranty service. In the event of a defect, Seller, at its sole option, shall repair or replace the defective Goods or refund to the original end-user the purchase price for such defective Goods. Goods are not eligible for replacement or return after a period of 10 days from date of receipt. The foregoing warranty is Seller’s sole obligation, and the original end-user’s exclusive remedy, with regard to any defective Goods. This limited warranty does not apply to: (a) die sets, tooling, and saw blades; (b) periodic or routine maintenance and setup, (c) repair or replacement of the Goods due to normal wear and tear, (d) defects or damage to the Goods resulting from misuse, abuse, neglect, or accidents, (f) defects or damage to the Goods resulting from improper or unauthorized alterations, modifications, or changes; and (f) any Goods that has not been installed and/or maintained in accordance with the instruction manual or technical guidelines provided by Seller.
EXCLUSION OF OTHER WARRANTIES: THE FOREGOING LIMITED WARRANTY IS IN LIEU OF ALL OTHER WARRANTIES, EXPRESS OR IMPLIED. ANY AND ALL OTHER EXPRESS, STATUTORY OR IMPLIED WARRANTIES, INCLUDING BUT NOT LIMITED TO, ANY WARRANTY OF MERCHANTABILITY OR FITNESS FOR ANY PARTICULAR PURPOSE ARE EXPRESSLY DISCLAIMED. NO WARRANTY IS MADE WHICH EXTENDS BEYOND THAT WHICH IS EXPRESSLY CONTAINED HEREIN.
Limitation of Liability: IN NO EVENT SHALL SELLER BE LIABLE TO BUYER OR ANY OTHER PARTY FOR ANY INCIDENTIAL, CONSEQUENTIAL OR SPECIAL DAMAGES (INCLUDING, WITHOUT LIMITATION, LOST PROFITS OR DOWN TIME) ARISING FROM OR IN MANNER CONNECTED WITH THE GOODS, ANY BREACH BY SELLER OR ITS AGENTS OF THIS AGREEMENT, OR ANY OTHER CAUSE WHATSOEVER, WHETHER BASED ON CONTRACT, TORT OR ANY OTHER THEORY OF LIABILITY. BUYER’S REMEDY WITH RESPECT TO ANY CLAIM ARISING UNDER THIS AGREEMENT IS STRICTLY LIMITED TO NO MORE THAN THE AMOUNT PAID BY THE BUYER FOR THE GOODS.
Force Majeure: Seller shall not be responsible for any delay in the delivery of, or failure to deliver, Goods due to causes beyond Seller’s reasonable control including, without limitation, acts of God, acts of war or terrorism, enemy actions, hostilities, strikes, labor difficulties, embargoes, non-delivery or late delivery of materials, parts and equipment or transportation delays not caused by the fault of Seller, delays caused by civil authorities, governmental regulations or orders, fire, lightening, natural disasters or any other cause beyond Seller’s reasonable control. In the event of any such delay, performance will be postponed by such length of time as may be reasonably necessary to compensate for the delay.
Installation: If Buyer purchases any Goods that require installation, Buyer shall, at its expense, make all arrangements and connections necessary to install and operate the Goods. Buyer shall install the Goods in accordance with any Seller instructions and shall indemnify Seller against any and all damages, demands, suits, causes of action, claims and expenses (including actual attorneys’ fees and costs) arising directly or indirectly out of Buyer’s failure to properly install the Goods.
Work By Others; Safety Devices: Unless agreed to in writing by Seller, Seller has no responsibility for labor or work performed by Buyer or others, of any nature, relating to design, manufacture, fabrication, use, installation or provision of Goods. Buyer is solely responsible for furnishing and requiring its employees and customers to use all safety devices, guards and safe operating procedures required by law and/or as set forth in manuals and instruction sheets furnished by Seller. Buyer is responsible for consulting all operator manuals, ANSI or comparable safety standards, OSHA regulations and other sources of safety standards and regulations applicable to the use and operation of the Goods.
Remedies: Each of the rights and remedies of Seller under this Agreement is cumulative and in addition to any other or further remedies provided under this Agreement or at law or equity.
Attorney’s Fees: In the event legal action is necessary to recover monies due from Buyer or to enforce any provision of this Agreement, Buyer shall be liable to Seller for all costs and expenses associated therewith, including Seller’s actual attorney fees and costs.
Governing Law/Venue: This Agreement shall be construed and governed under the laws of the State of Wisconsin, without application of conflict of law principles. Each party agrees that all actions or proceedings arising out of or in connection with this Agreement shall be commenced, tried, and litigated only in the state courts sitting in Manitowoc County, Wisconsin or the U.S. Federal Court for the Eastern District of Wisconsin. Each party waives any right it may have to assert the doctrine of “forum non conveniens” or to object to venue to the extent that any proceeding is brought in accordance with this section. Each party consents to and waives any objection to the exercise of personal jurisdiction over it by courts described in this section. Each party waives to the fullest extent permitted by applicable law the right to a trial by jury.
Summary of Return Policy
- 10 Day acceptance period from date of delivery. Damage claims and order discrepancies will not be accepted after this time.
- You must obtain a Baileigh issued RGA number PRIOR to returning any materials.
- Returned materials must be received at Baileigh in new condition and in original packaging.
- Altered items are not eligible for return.
- Buyer is responsible for all shipping charges.
- A 30% re-stocking fee applies to all returns.
Baileigh Industrial Holdings LLC makes every effort to ensure that our posted specifications, images, pricing and product availability are as correct and timely as possible. We apologize for any discrepancies that may occur. Baileigh Industrial Holdings LLC reserves the right to make any and all changes deemed necessary in the course of business including but not limited to pricing, product specifications, quantities, and product availability.
For Customer Service & Technical Support
Please contact one of our knowledgeable Sales and Service team members at: (920) 684-4990 or e-mail us at [email protected]
INTRODUCTION
The quality and reliability of the components assembled on a Baileigh Industrial Holdings LLC machine guarantee near perfect functioning, free from problems, even under the most demanding working conditions. However, if a situation arises, refer to the manual first. If a solution cannot be found, contact the distributor where you purchased our product. Make sure you have the serial number and production year of the machine (stamped on the nameplate). For replacement parts refer to the assembly numbers on the parts list drawings. Our technical staff will do their best to help you get your machine back in working order.
In this manual you will find: (when applicable)
- Safety procedures
- Correct installation guidelines
- Description of the functional parts of the machine
- Capacity charts
- Setup and start-up instructions
- Machine operation
- Scheduled maintenance
- Parts lists
GENERAL NOTES
After receiving your equipment remove the protective container. Do a complete visual inspection, and if damage is noted, photograph it for insurance claims and contact your carrier at once, requesting inspection. Also contact Baileigh Industrial Holdings LLC and inform them of the unexpected occurrence. Temporarily suspend installation.
Take necessary precautions while loading / unloading or moving the machine to avoid any injuries. Your machine is designed and manufactured to work smoothly and efficiently. Following proper maintenance instructions will help ensure this. Try and use original spare parts, whenever possible, and most importantly; DO NOT overload the machine or make any modifications.
Note: This symbol refers to useful information throughout the manual.
IMPORTANT: PLEASE READ THIS OPERATORS MANUAL CAREFULLY
It contains important safety information, instructions, and necessary operating procedures. The continual observance of these procedures will help increase your production and extend the life of the equipment.
SAFETY INSTRUCTIONS
LEARN TO RECOGNIZE SAFETY INFORMATION
This is the safety alert symbol. When you see this symbol on your machine or in this manual, BE ALERT TO THE POTENTIAL FOR PERSONAL INJURY! Follow recommended precautions and safe operating practices.
UNDERSTAND SIGNAL WORDS
A signal word – DANGER, WARNING, or CAUTION – is used with the safety alert symbol. NOTICE, which is not related to personal injury, is used without a symbol.
DANGER: Indicates a hazardous situation which, if not avoided, will result in death or serious injury.
WARNING: Indicates a hazardous situation which, if not avoided, could result in death or serious injury.
CAUTION: Indicates a hazardous situation which, if not avoided, could result in minor or moderate injury.
NOTICE: Indicates a situation which, if not avoided, could result in property damage.
SAVE THESE INSTRUCTIONS. Refer to them often and use them to instruct others.
PROTECT EYES

Wear safety glasses or suitable eye protection when working on or around machinery.
PROTECT AGAINST NOISE

Prolonged exposure to loud noise can cause impairment or loss of hearing. Wear suitable hearing protection devices such as earmuffs or earplugs to protect against objectionable or uncomfortable loud noises.
DUST HAZARD

Wear an appropriate dust mask. Dust created while using machinery can cause cancer, birth defects, and long-term respiratory damage. Be aware of the dust hazards associated with all types of materials.
CALIFORNIA PROPOSITION 65
WARNING: Cancer and Reproductive Harm. www.P65Warnings.ca.gov
BEWARE OF CUT AND PINCH POINTS

Moving saw blades may result in loss of fingers or limb. DO NOT operate with guard removed. Follow lockout/tagout procedures before servicing.
EMERGENCY STOP BUTTON

In the event of incorrect operation or the machine can be stopped immediately by button. Twist the emergency stop button machine.
Note: Resetting the E-Stop will not start the dangerous conditions, pressing the E-STOP clockwise (cw) to reset.
SAFETY PRECAUTIONS
Metal working can be dangerous if safe and proper operating procedures are not followed. As with all machinery, there are certain hazards involved with the operation of the product. Using the machine with respect and caution will considerably lessen the possibility of personal injury. However, if normal safety precautions are overlooked or ignored, personal injury to the operator may result. Safety equipment such as guards, hold-downs, safety glasses, dust masks and hearing protection can reduce your potential for injury. But even the best guard will not make up for poor judgment, carelessness or inattention. Always use common sense and exercise caution in the workshop. If a procedure feels dangerous, don’t try it. REMEMBER: Your personal safety is your responsibility.
WARNING: FAILURE TO FOLLOW THESE RULES MAY RESULT IN SERIOUS PERSONAL INJURY.
Dear Valued Customer
- All Baileigh machines should be used only for their intended use.
- Baileigh does not recommend or endorse making any modifications or alterations to a Baileigh machine. Modifications or alterations to a machine may pose a substantial risk of injury to the operator or others and may do substantial damage to the machine.
- Any modifications or alterations to a Baileigh machine will invalidate the machine’s warranty.
PLEASE ENJOY YOUR BAILEIGH MACHINE! ….PLEASE ENJOY IT SAFELY!
- FOR YOUR OWN SAFETY, READ INSTRUCTION MANUAL BEFORE OPERATING THE MACHINE. Learn the machine’s application and limitations as well as the specific hazards.
- Only trained and qualified personnel can operate this machine.
- Make sure guards are in place and in proper working order before operating machinery.
- Remove any adjusting tools. Before operating the machine, make sure any adjusting tools have been removed.
- Keep work area clean. Cluttered areas invite injuries.
- Overloading machine. By overloading the machine, you may cause injury from flying parts. DO NOT exceed the specified machine capacities.
- DO NOT bypass or defeat any safety interlock systems.
- Dressing material edges. Always chamfer and deburr all sharp edges.
- Do not force tool. Your machine will do a better and safer job if used as intended. DO NOT use inappropriate attachments in an attempt to exceed the machine’s rated capacity.
- Use the right tool for the job. DO NOT attempt to force a small tool or attachment to do the work of a large industrial tool. DO NOT use a tool for a purpose for which it was not intended.
- Dress appropriately. DO NOT wear loose fitting clothing or jewelry as they can be caught in moving machine parts. Protective clothing and steel toe shoes are recommended when using machinery. Wear a restrictive hair covering to contain long hair.
- Use eye protection. Always wear ISO approved protective eye wear when operating machinery. Wear a full-face shield if you are producing metal filings. Eye wear shall be impact resistant, protective safety glasses with side shields which comply with ANSI Z87.1 specification. Use of eye wear which does not comply with ANSI Z87.1 specification could result in severe injury from breakage of eye protection.
- Do not overreach. Maintain proper footing and balance at all times. DO NOT reach over or across a running machine.
- Stay alert. Watch what you are doing and use common sense. DO NOT operate any tool or machine when you are tired.
- Check for damaged parts. Before using any tool or machine, carefully check any part that appears damaged. Check for alignment and binding of moving parts that may affect proper machine operation.
- Observe work area conditions. DO NOT use machines or power tools in damp or wet locations. Do not expose to rain. Keep work area well lighted. DO NOT use electrically powered tools in the presence of flammable gases or liquids.
- Blade adjustments and maintenance. Always keep blades sharp and properly adjusted for optimum performance.
- Keep children away. Children must never be allowed in the work area. DO NOT let them handle machines, tools, or extension cords.
- Keep visitors a safe distance from the work area.
- Store idle equipment. When not in use, tools must be stored in a dry location to inhibit rust. Always lock up tools and keep them out of reach of children.
- DO NOT operate machine if under the influence of alcohol or drugs. Read warning labels on prescriptions. If there is any doubt, DO NOT operate the machine.
- Turn off power before checking, cleaning, or replacing any parts.
- Be sure all equipment is properly installed and grounded according to national, state, and local codes.
- Keep all cords dry, free from grease and oil, and protected from sparks and hot metal.
- Inspect power and control cables periodically. Replace if damaged or bare wires are exposed. Bare wiring can kill! DO NOT touch live electrical components or parts.
TECHNICAL SPECIFICATIONS
| Model No. | BSV-12VS-V2 |
| Electrical | |
| Power Supply | 110V, 1ph |
| Main Drive Motor | 1HP /230V / 3.3A/ 6P 3Ph 60Hz |
| Grinder Motor | 1/8HP/ 110V, 1ph |
| Emergency Stop Switch | Twcht ZB2-BE102 |
| Main Motor On/ Off Switch | KJD18 |
| Welding Type / Transformer | Butt Welder / 1.2KVA |
| Weld Capacity (Width) | .118” – .625” (3 – 16mm) |
| Welder Switch | KBS-BE101 |
| Speed Meter | DM94C |
| Work Lamp | LED Lamp/110-220V 9W |
| Grinding Motor Switch | UL/ HY29H |
| Inverter | 1HP/ 110V /1ph RM6 RHYMEBUS |
| VR Switch (Speed Control) | RV24YN20S, B102 |
| Power Cord | 14WAG X3C 2.08MM X3C 105℃/ 300VAC UL |
| Drive Belt | A54 (two pieces) |
| Capacity | |
| Blade Speed | Variable Speed |
| Cutting Capacity (Height) | 6.69″ (170mm) |
| Throat Depth | 12.2″ (310mm) |
| Blade Width (Min-Max.) | 0.118″ – 0.51″ (3 – 13mm) |
| Blade Thickness | .025″ (0.64mm) |
| Blade Length (Min-Max.) | 98.81″ – 102.75″ (2510–2610mm) |
| Standard Machine Blade (included) | 0.23″ (6mm) 14T |
| Blade Speed | 100 – 1000 FPM |
| Table Tilt | 15° L & 45° R |
| Table Height | 34.84″ (885mm) |
| Table Area | 15.94″ x 19.68″ (405 x 500mm) |
| Blade Wheel Dimension | 12″ (310mm) |
| Packing | |
| Net Weight | 720lbs (327kgs) |
| Gross Weight | 807lbs (366kgs) |
| Machine Overall Dimension | 33.07” x 22.83″ x 61.42″ (840 x 580 x 1560mm) |
| Packaging Overall Dimension | 36.4″ x 24.2″ x 68.1″ (925 x 615 x 1730mm) |
| Model No. | BSV-14VS-V2 |
| Electrical | |
| Power Supply | 110V, 1ph |
| Main Drive Motor | 1HP /230V / 3.3A/ 6P 3Ph 60Hz 1150rpm |
| Grinder Motor | 1/8HP/ 110V, 1ph |
| Emergency Stop Switch | Twcht ZB2-BE102 |
| Main Motor On/ Off Switch | KJD18 |
| Welding Type / Transformer | Butt Welder / 2.4KVA |
| Weld Capacity (Width) | .118” – .625” (3 – 16mm) |
| Welder Switch | KBS-BE101 |
| Speed Meter | DM94C |
| Work Lamp | LED Lamp/110-220V 9W |
| Grinding Motor Switch | UL/ HY29H |
| Inverter | 1HP/ 110V /1ph RM6 RHYMEBUS |
| VR Switch (Speed Control) | RV24YN20S, B102 |
| Power Cord | 14WAG X3C 2.08MM X3C 105℃/ 300VAC UL |
| Drive Belt | A55 (two pieces) |
| Capacity | |
| Blade Speed | Variable Speed |
| Cutting Capacity (Height) | 7.0” (180mm) |
| Throat Depth | 14.17″ (360mm) |
| Blade Width (Min-Max.) | 0.118″ – 0.51″ (3 – 13mm) |
| Blade Thickness | .025″ (0.64mm) |
| Blade Length (Min-Max.) | 105.11″-115.03″ (2670–2922mm) |
| Standard Machine Blade (included) | 0.23″ (6mm) 14T |
| Blade Speed | 110 – 1200 FPM |
| Table Tilt | 15° L & 45° R |
| Table Height | 35″ (890mm) |
| Table Area | 15.94″ x 19.68″ (405 x 500mm) |
| Blade Wheel Dimension | 14″ (360mm), (rim design) |
| Packing | |
| Net Weight | 720lbs (327kgs) |
| Gross Weight | 807lbs (366kgs) |
| Machine Overall Dimension | 36.6″ x 24.4″ x 76.77″ (930 x 620 x 1950mm) |
| Packaging Overall Dimension | 39.7″ x 27″ x 84.46″ (1008 x 686 x 2145mm) |
TECHNICAL SUPPORT
Our technical support department can be reached at 920.684.4990 and asking for the support desk for purchased machines. Tech Support handles questions on machine setup, schematics, warranty issues, and individual parts needs: (other than die sets and blades).
For specific application needs or future machine purchases contact the Sales Department at: [email protected], Phone: 920.684.4990, or Fax: 920.684.3944.
Note
- The photos and illustrations used in this manual are representative only and may not depict the actual color, labeling or accessories and may be intended to illustrate technique only.
- The specifications and dimensions presented here are subject to change without prior notice due to improvements of our products.
UNPACKING AND CHECKING CONTENTS
Your Baileigh machine is shipped complete. Separate all parts from the packing material and check each item carefully. Make certain all items are accounted for before discarding any packing material.
WARNING: SUFFOCATION HAZARD! Immediately discard any plastic bags and packing materials to eliminate choking and suffocation hazards to children and animals. If any parts are missing, DO NOT place the machine into service until the missing parts are obtained and installed correctly.
Cleaning
WARNING: DO NOT USE gasoline or other petroleum products to clean the machine. They have low flash points and can explode or cause fire.
CAUTION: When using cleaning solvents work in a well-ventilated area. Many cleaning solvents are toxic if inhaled.
Your machine may be shipped with a rustproof waxy coating and/or grease on the exposed unpainted metal surfaces. Fully and completely remove this protective coating using a degreaser or solvent cleaner. Moving items will need to be moved along their travel path to allow for cleaning the entire surface. For a more thorough cleaning, some parts will occasionally have to be removed. DO NOT USE acetone or brake cleaner as they may damage painted surfaces. Follow manufacturer’s label instructions when using any type of cleaning product. After cleaning, wipe unpainted metal surfaces with a light coating of quality oil or grease for protection.

Important: This waxy coating is NOT a lubricant and will cause the machine to stick and lose performance as the coating continues to dry.
TRANSPORTING AND LIFTING
NOTICE: Lifting and carrying operations should be carried out by skilled workers, such as a truck operator, crane operator, etc. If a crane is used to lift the machine, attach the lifting chain carefully, making sure the machine is well-balanced.
Follow these guidelines when lifting with truck or trolley

- The lift truck must be able to lift at least 1.5 – 2 times the machines gross weight.
- Make sure the machine is balanced. While transporting, avoid rough or jerky motion, and maintain a safe clearance zone around the transport area.
- Use a forklift with sufficient lifting capacity and forks that are long enough to reach the complete width of the machine.
- Remove the securing bolts that attach the machine to the pallet.
- Approaching the machine from the side, lift the machine on the frame taking care that there are no cables or pipes in the area of the forks.
- Move the machine to the required position and lower gently to the floor.
- Level the machine so that all the supporting feet are taking the weight of the machine and no rocking is taking place.
INSTALLATION
IMPORTANT
Consider the following when looking for a suitable location to place the machine:
- Overall weight of the machine.
- Weight of material being processed.
- Sizes of material to be processed through the machine.
- Space needed for auxiliary stands, worktables, or other machinery.
- Clearance from walls and other obstacles.
- Maintain an adequate working area around the machine for safety.
- Have the work area well illuminated with proper lighting.
- Keep the floor free of oil and make sure it is not slippery.
- Remove scrap and waste materials regularly, and make sure the work area is free from obstructing objects.
- If long lengths of material are to be fed into the machine, make sure that they will not extend into any aisles.
- LEVELING: The machine should be sited on a level, concrete floor. Provisions for securing it should be in position prior to placing the machine. The accuracy of any machine depends on the precise placement of it to the mounting surface.
- FLOOR: This machine distributes a large amount of weight over a small area. Make certain that the floor is capable of supporting the weight of the machine, work stock, and the operator. The floor should also be a level surface. If the unit wobbles or rocks once in place, be sure to eliminate by using shims.
- WORKING CLEARANCES: Take into consideration the size of the material to be processed. Make sure that you allow enough space for you to operate the machine freely.
- POWER SUPPLY PLACEMENT: The power supply should be located close enough to the machine so that the power cord is not in an area where it would cause a tripping hazard. Be sure to observe all electrical codes if installing new circuits and/or outlets.
Anchoring the Machine

- Once positioned, anchor the machine to the floor, as shown in the diagram. Use bolts and expansion plugs or sunken tie rods that connect through and are sized for the holes in the base of the stand.
- This machine requires a solid floor such as concrete at a minimum of 4” (102mm) thick. 6” (153mm) minimum is preferred.
GETTING TO KNOW YOUR MACHINE

| Item | Description | Function |
| A | Power Cord | Verify machine power requirements before making connections. Verify 110V or 220V |
| B | Grinder | Grinds welded area of blade back to original material thickness. |
| C | Blade Welding Station | Welds blade together. |
| D | Blade Shear | Trims end of blade square prior to welding |
| E | Emergency Stop Switch | Removes power to the operating controls and stops operation. |
| F | Start / Stop Control | Push buttons to start and run the saw blade and stop the saw blade when the cut is complete. |
| G | Variable Speed Hand Wheel | Changes the speed of the saw blade. Used while the machine is running. |
| H | Speed Display | Displays the speed of the blade in MPM (Meters Per Miniute). |
| J | Blade Tension Adjustment | Turn to incease or decrease blade tension. |
| K | Upper Access Door | Houses the upper pulley, and tensioner. |
| L | Guide Post Tension Knob (not visible in this view) | Located on the back side of the upper whell housing, use this to loosen the guide post fo adjustment. |
| M | Guide Post Adjustment Knob | Use to raise or lower the guide post to provide minimum clearence to the work piece. |
| N | Work Lamp | Provide additional light to the cut area. |
| O | Air Tube | Provide air to the work site to blow chip away from cut area. |
| P | Upper Blade Guide | Holds the blade in position and minimizes blade twist. |
| Q | Work Table | Supports material and provide several ways to control angle cuts. |
| R | Table Tilt | Trunions used to allow the table to tilt up to 15° left or right. |
| S | Lower Blade Access Door | Houses the drive pulley. |
Control Panel

- A. DRO Indicator: Displays the speed of the blade in FPM (Feet Per Minute).
- B. Speed Control: This potentiometer will vary the input signal to the VFD which in turn will vary the frequency output to the motor thus controlling the speed of the motor and then the blade.
- C. On Push Button: Press this button to start and run the blade when operating conditions are safe for the blade to move. Make sure the blade is rotating downward towards the work table.
- D Stop Push Button: Press this button to stop the blade any time that the operator is not directly and actively engaged in a cutting operation.
- E. Emergency Stop Button (E-Stop): In the event of incorrect operation or dangerous conditions, the machine can be stopped immediately by pressing the E-STOP button. Twist the emergency stop button clockwise (cw) to reset. Note: Resetting the E-Stop will not start the machine.
F. Blade Shear
- The blade shear is attached to the saw frame, just left of the saw band weld station.
- It will cut saw bands ranging in width from 0.062” to 1” (1.6mm to 25.4mm) and thickness of 0.025” to 0.035” (0.63mm to 0.89mm).
Weld Station
- G. Welder Controls: The Dial is used to set the pressure or force used to press the ends of the blade together.
- Press and hold the Green push button to complete the weld. Press and hold the Red push button to Anneal the weld.
- H. Weld Jaws / Electrodes: The weld jaws clamp and hold the blade in position during the weld. The left jaw moves toward the right using the Pressure Dial. Both jaws are the electrodes which transfer the electrical current to the blade material being welded to create the weld puddle (melted metal) which will flow together to melt the end together as one piece.
- J. Grinder Switch: Toggle the switch to the ON position to start and run the grinding wheel. Grind the blade to remove rough spots and create a smooth surface without making the area thinner than the rest of the blade.
Lower Wheel Housing
The lower wheel housing has the lower wheel (drive wheel), the debris brush, and the debris tray.

- The lower wheel is the drive wheel which is connected via a shaft to the drive sheave and thus the motor through the drive belt.
- The brush is used to help control / remove chips and metal fillings from getting between the blade and wheel. Keep it clean and adjust as it wears. The bristles should have a slight pressure against the pulley at all times.
- The debris tray will collect larger chips and metal fillings. The tray will slide out and back in for regular cleaning.
Tilting Work Table

The work table may be tilted from 15° to 45°. The outboard side of the table will lift to create a 15° angle or lowered to a 45° angle. Tilting the table is done on the back side of the saw. Just under and forward of the degree scale is the clamping nut. Loosen the nut, tilt the table to the desired angle and tighten the nut to hold the angle.
Upper and Lower Blade Guides

The blade guides provide side-to-side and back support for keeping the blade straight while cutting material. The blade guides are tungsten steel where they come in contact with the blade to reduce wear on the guides. The guides must be kept properly adjusted for accurate cuts.
ELECTRICAL
CAUTION: HAVE ELECTRICAL UTILITIES CONNECTED TO MACHINE BY A CERTIFIED ELECTRICIAN! Check if the available power supply is the same as listed on the machine nameplate.
WARNING: Make sure the grounding wire (green) is properly connected to avoid electric shock. DO NOT switch the position of the green grounding wire if any electrical plug wires are switched during hookup.
Power Specifications
Your machine is wired for 110 volts, 60hz alternating current. Before connecting the machine to the power source, make sure the power source is OFF. Before switching on the power, you must check the voltage and frequency of the power to see if they meet with the requirement, the allowed range for the voltage is ±5%, and for the frequency is ±1%.
Considerations
- Observe local electrical codes when connecting the machine.
- The circuit should be protected with a time delay fuse or circuit breaker with an amperage rating slightly higher than the full load current of machine.
- A separate electrical circuit should be used for your machines. Before connecting the motor to the power line, make sure the switch is in the “OFF” position and be sure that the electric current is of the same characteristics as indicated on the machine.
- All line connections should make good contact. Running on low voltage will damage the motor.
- In the event of a malfunction or breakdown, grounding provides a path of least resistance for electric current to reduce the risk of electric shock. This machine is equipped with an electric cord having an equipment-grounding conductor and a grounding plug. The plug must be plugged into a matching outlet that is properly installed and grounded in accordance with all local codes and ordinances.
WARNING: In all cases, make certain the receptacle in question is properly grounded. If you are not sure, have a qualified electrician check the receptacle.
- Improper connection of the equipment-grounding conductor can result in risk of electric shock. The conductor with insulation having an outer surface that is green with or without yellow stripes is the equipment-grounding conductor. If repair or replacement of the electric cord or plug is necessary, do not connect the equipment-grounding conductor to a live terminal.
- Check with qualified electrician or service personnel if the grounding instructions are not completely understood, or if in doubt as to whether the machine is properly grounded.
- Repair or replace damaged or worn cord immediately.
Extension Cord Safety
Extension cord should be in good condition and meet the minimum wire gauge requirements listed below:
| LENGTH | |||
| AMP RATING | 25ft | 50ft | 100ft |
| 1-12 | 16 | 16 | 14 |
| 13-16 | 14 | 12 | 12 |
| 17-20 | 12 | 12 | 10 |
| 21-30 | 10 | 10 | No |
| WIRE GAUGE | |||
An undersized cord decreases line voltage, causing loss of power and overheating. All cords should use a ground wire and plug pin. Replace any damaged cords immediately.
Power cord connection
- Turn the main disconnect switch on the control panel to the OFF position.
- Unwrap the power cord and route the cord away from the machine toward the power supply.
- Route the power cord so that it will NOT become entangled in the machine in any way.
- Route the cord to the power supply in a way that does NOT create a trip hazard.
- Connect the power cord to the power supply and check that the power cord has not been damaged during installation.
- When the machine is clear of any obstruction. The main power switch may be turn ON to test the operation. Turn the switch OFF when the machine is not in operation.
BEFORE EACH USE
- For dusty operations, wear a face shield along with safety goggles.
- It is important to choose the right blade for the material and the type of cutting you plan to do. This saw is equipped with a bi-metallic blade which can be used to cut stainless steel, steel, iron, brass, aluminum, wood, plastic.
- Make sure the direction of rotation arrow on the blade matches the direction arrow on the saw. The blade teeth should always point downward at the front of the saw.
- Make sure the blade is sharp, undamaged and properly aligned. With the saw unplugged, push the power-head all the way down. Rotate the blade by hand checking for clearance. If the blade hits anything, make the adjustments shown in the Maintaining Maximum Cutting Capacity section.
- Never cut freehand.
- Make sure the cut-off piece can move sideways after it is cut off. Otherwise, it could get wedged against the blade and thrown violently.
- Never turn the saw “ON” before clearing everything except the work piece beneath the blade.
- Never put lubricants on the blade while it is spinning.
Whenever Saw is Running
- Never confine the piece being cut out.
- Never hold it, clamp it, touch it, or use length stops against it. It must be free to move sideways. If confined, it could get wedged against the blade and thrown violently.
- Avoid awkward hand positions where a sudden slip could cause a hand to move into the blade.
- Let the blade reach full speed before cutting.
- Feed the saw into the work piece only fast enough to let the blade cut without bogging down or binding.
- Before freeing jammed material, turn the switch off and unplug the saw. Wait for all moving parts to stop.
- After finishing a cut, keep holding the saw bow down, release the switch, and wait for all moving parts to stop before moving your hands.
Blade Terminology

| A | BLADE WIDTH | The widest part of the blade measured from the back edge of the blade to the tip of the tooth. |
| B | GULLET DEPTH | The distance from the tooth tip to the bottom of the curved area. |
| C | TOOTH RAKE | The angle of the tooth face from a line perpendicular to the length of the blade. |
| D | BLADE BACK | The distance between the back edge of the blade and the bottom of the gullet. |
| E | TOOTH PITCH | The distance between tooth tips. |
| F | TPI | The number of teeth per inch when measured from gullet to gullet. |
| G | GAUGE | The thickness of the blade. |
| H | TOOTH SET | The distance a tooth is bent from the blade. |
| I | KERF | The width of material that is removed by the blade when cutting. |
Breaking in a Band Saw Blade
Sharp cutting edges with extremely small edge radii are required for high cutting capacity. To achieve the optimal tool life we recommend breaking-in the blade accordingly. The correct cutting speed is determined by the material being cut and its dimensions. It is very important that the new blade is first used with only 50% of the determined feed rate. This will avoid micro-breakages of the blade because of too large chip thicknesses. New band saw blades may tend toward vibrations and vibration sounds. In this case a slight reduction of the cutting speed is helpful. With small workpiece dimensions approximately 300cm² of the material should be cut for breaking-in. If large work piece dimensions are to be cut, we recommend a breaking-in period of about 15 minutes. After breaking-in you may slowly increase the feed rate up to the determined value.
Metal Chip Indicators
Chips are the best indicator of correct material feed force. Monitor chip information and adjust feed accordingly.
- Thin or Powdered Chips – increase feed rate or reduce saw speed
- Burned Chips – reduce feed rate and / or saw speed
- Curly Silvery and Warm Chips – optimum feed rate and saw speed
Baileigh Industrial offers a wide selection of tooth styles for various cutting applications. Please phone Baileigh Industrial at (920.684.4990) or fax to (920.684.3944) to have one of our technicians assist you in selecting the proper band saw blade for your cutting applications.
BLADE CARE
- The bandsaw blade is subjected to a tremendous amount of strain. Make sure to always use the appropriate feed rate for the type material you are cutting.
- Be sure to select a blade of the proper width, style, and pitch that will produce the best cut in your material. Choosing the wrong blade can produce excess heat that can adversely affect the life of the blade.
- A clean blade performs much better than one that is dirty. Blades that are gummed up and dirty offer more resistance when cutting through the material. This in turn creates unnecessary heat in the blade.
Choosing A Saw Blade
A general-purpose blade is furnished with this band saw. To achieve a quality, economical, and efficient saw cut, the following points must be taken into consideration:
- Type of material being cut (ferrous or non ferrous)
- Material hardness and physical dimensions
- Blade descent rate
- Longitudinal speed of blade
- Blade tooth profile
Choose a tooth pitch that is suitable for the workpiece. Thin walled profiles, including tubes and pipes require close toothing. At least 3-6 teeth should be in contact with the material while cutting. Large solid or transverse sections require widely spaced toothing to allow for greater volume of chips and better tooth penetration. Soft materials such as plastics, light alloys, mild bronze, Teflon, etc. require widely spaced toothing to avoid clogging.
Width of Blade
The blade width determines the largest and the smallest curve that can be cut. Usually the wider a blade is, the more accurate and straighter it will cut.
Length of Blade
The length of the band saw blade can be measured with a tape measure at its circumference or by the formula below:
Blade Length = (2 x A) + (3.14 x B)
- A = the distance in inches between the band saw pulley centers (when the upper pulley is midway in its adjustment range).
- B = the band saw pulley diameter.
BLADE BREAKAGE
In some cases, blade breakage is unavoidable due to the stresses that are imparted on the blade. Avoidable breakage is often the result of poor care, or poor operator judgment when it comes to adjusting or mounting the blade or blade guides. Listed below are some of the more common reasons for blade breakage.
- Top blade guide assembly is set too high above the piece part.
- The blade is tensioned incorrectly.
- Piece part is fed into the blade too quickly.
- Blade teeth are dull or broken.
- Blade is not properly aligned with the guides.
- Forcing a large width blade to cut a small radius.
- Using a blade with an improperly finished weld joint.
- Allowing the blade to run when not in use. (NEVER leave an unattended blade running.)
SAW OPERATION
CAUTION: Always wear proper eye protection operating the saw. The bandsaw blade is sharp and will cut fingers and hands. Keep hands and fingers clear of the blade. Use a block of wood as a pusher for the material being cut. It is recommended to always wear leather gloves when working near the blade.

- Verify the work area including the table is clear of obstructions.
- Set the guide post (A) to approximately .25″ (6.35mm) above the piece part and tighten the guide post knob.
- Set the table and if being used, the fence as needed to complete the cut. Have a push block within reach without crossing the blade path or vision of the cut area. Simulating the cut without power may be helpful.
- Set the work lamp position to provide additional light at the cut site without interfering with the material or the ability to maintain control of the material for the entire cut.
- Have proper support for the material to be cut. This should include both the finished piece and the excess material.
- Press the start button to energize the motor stating the blade. The saw blade should now be moving. If any abnormal sounds or vibrations are noticed, press the red stop button immediately.
- Adjust the variable speed (B) until the desired speed is indicated on the speed display.
- Carefully place the material on the table.
- When positioned, feed the material into the blade using a steady smooth motion.
- When the cut is complete, press the red stop button on the control panel and wait until the blade stops before removing any material near the blade.
OPERATION OF BLADE WELDER
Overall Description
CAUTION: The bandsaw blade is sharp and can cut your hand or fingers. Always disconnect power to the saw and wear leather gloves when working near the blade.
The weld station on the Baileigh band saw can butt weld and anneal blades from 0.118″ (3mm) to 0.625” (16mm) wide by 0.032″ (0.8mm) thick. It is a resistance type welder with two jaws that secure the blade ends during the welding process. A selector knob is turned counterclockwise (ccw) to pre-load the left jaw, forcing the blade ends against one another. When the operator presses the weld button, electric current passes through the butted blade ends. The left jaw blade end is pushed into the molten puddle and welded to the right blade end. Remove the blade from the jaws if any weld flash is present and carefully grind it off. The blade joint must now be placed back into the jaws where annealing of the weld joint takes place. This procedure will reheat the weld area so it is not so brittle and should return it to its original condition. It may become necessary to weld blades when:
- They break unexpectedly and the teeth are still sharp enough to cut.
- You need to make blades from a bulk saw blade coil.
- When you need to weld a blade that was cut to make an internal contour cut on a piece part.
Preparing the Saw Band Prior to Welding
CAUTION: Shear Hazard – Keep Hands from Under Blade.

Blade Cutter: To cut the band apart or to cut the band to a specified length, use the blade shear. The shear is capable of cutting saw bands from 0.118″ to .625″ (3mm to 16mm) in width and 0.025″ to 0.035″ (0.63mm to 0.89mm) in thickness. To use the blade cutter, raise the handle, lay between the blades perpendicular to the cutting knife, and make the cut.

If the saw band is not square after shearing, use the grinding wheel to square it up. Take small cuts so as not to overheat the blade band. To get both ends of the band to match perfectly, twist it and hold the ends so that the teeth are on opposite sides and pointing in opposite directions. Now grind as shown below.
Tooth Spacing on Blade Band: Occasionally one or more teeth may have to be ground off on either side of the cut to ensure blade tooth uniformity.

Preparing the Blade Welder
WARNING: The electrical current that flows through the blade welder when operating could cause Serious Personal Injury or Death. To avoid the risk of electrocution, never touch any metal part of the weld station during welding or annealing of the blade.

- Make sure the jaws of the welder are clean to make good electrical contact.
- Check that the jaws will adequately hold the thickness of blade you are using.
- The left jaw should slide easily when turning the weld force selector knob.
- Check over the grinding wheel and make sure it is in good condition.
Making the Weld
- Before making a weld, turn off the band saw motor by pressing the red “stop” button.
- Turn the weld pressure selector knob clockwise (cw) to the “0” position.
- After squaring the ends of the blade, insert the spine edge of the blade into each jaw butting the cut ends together and centered between the jaws.
- Secure the blade by raising the handles. Check that the blade ends fit together with no gap. If a gap is noticed, remove and re-square the blade.
- Turn the weld force selector knob from “0” to the third marker. This would be for a 0.25″ (6.3mm wide blade. (Every 2mm of blade width = 1 marker approx.), this applies pressure to hold the ends of the blade together.
- WARNING: Sparks from the blade welding operation can be thrown in all directions and can cause serious personal injury or fire. When using the blade welder, always protect yourself and others from flying sparks. Keep fire extinguisher equipment close by and DO NOT weld near flammables.
- Press and hold the green weld button until the left jaw blade end is pushed into the molten puddle and welded to the right blade end. As soon as the left jaw moves into the right jaw, release the green weld button. Electric current passes through the butted blade ends. The left jaw blade end is pushed into the molten puddle and welded to the right blade end. Inspect the weld carefully after removing from the welder.
- If you see what appears to be an excessive amount of flashing you can try backing off on the weld force setting.

Annealing the Weld
CAUTION: The bandsaw blade is sharp and can cut your hand or fingers. Heat from the welding and annealing process can cause severe burns. Always wear leather gloves when working near the blade.
- When a saw band is butt welded, the site of the weld “air hardens” and will become brittle. To return the metal to its approximate original state it must be gradually heated and cooled several times called annealing.
- Turn the weld force selector knob to “0”.
- Clamp the saw band in the jaws making sure to carefully center the weld. It is still brittle.
- Press the red annealing button quickly with a few short bursts to make the weld area a dull orangish-red. (The wider the blade, the more bursts and time it will take.) After reaching a dull orangish-red, allow the area to cool 15-30 seconds and then repeat the heat twice more. Too much heat can damage the temper or burn through and destroy the weld.
- After welding and tempering the blade, test the strength and flexibility of the saw band by bending it in an arc similar to the pulley on the saw.

Grinding the Weld
CAUTION: The bandsaw blade is sharp and can cut your hand or fingers. Keep hands and fingers away from rotating grinding wheel. Wear proper eye protection. Always wear leather gloves when working near the blade.
- The grinding wheel is used for both preparing the saw band for welding and removing flash after annealing. Flash must be removed from both sides of the weld to maintain the blades actual thickness. This will then allow the blade to pass through the guides without any obstructions.
- DO NOT burn or overheat the weld area when grinding.
SAW ADJUSTMENTS
Guide Post

The guide post assembly serves two purposes.
- First, it positions the orange blade guard between the piece part and the upper pulley housing to protect the operator from the exposed blade.
- Second, it positions the upper blade guides close to the piece part for support of the blade.
To properly position the guide post
- DISCONNECT POWER FROM THE BANDSAW.
- Loosen the guide post knob (A).
- Use the handwheel (B) to lower or raise the guide post.
- Locate the bottom of the blade guides .25″ (6.35mm) above the piece part and tighten the guide post knob to hold it securely.
Graduated Scales to Show Tilt of Table

The table can be tilted either forward or back and left or right, or in combination. It can be tilted 15° left and 45° right. For left and right tilting, the table has a scale to indicate the tilt angle.
Adjusting the Blade Guides
- DISCONNECT POWER FROM THE BAND SAW.
- Check to make sure the guide post is secure, and the blade has been properly tensioned.
- Using a 5mm hex wrench you need to loosen the socket cap screws “A” and “B”.
- Slide the blade guide bracket so the blade guides are approximately 0.06″ (1.58mm) behind the tooth gullets as shown. Tighten socket cap screw “A” only.

- Note: The blade guides need to be adjusted far enough back so they are behind the tooth gullets when the blade is pushed back against the blade support.
- With socket capscrew “B” still loose, slide the blade support rod up to, but not touching the back end of the blade. Re-tighten socket capscrew “B”.
- Next the blade needs to be centered between the blade guides. To do this, first loosen the socket capscrews “C” using a 5mm hex wrench. Now slide a piece of copy machine paper or a dollar bill between each side of the blade guide and the blade. Either of them should be 0.004” (0.1mm) thick. Gently pinch the paper between the blade guides and the blade. Now tighten each socket capscrew “C”. (Check the position of the air nozzle). The guides should now be positioned correctly without touching the blade.
Note: Over time the blade inserts will wear. When this happens, flip over and reverse the guides. If the blade wears a groove into the blade support, loosen and rotate it to a new spot.
Blade Tension Adjustment Wheel
Without proper tension a bandsaw blade cannot deliver the necessary cutting efficiency. Not enough tension can lead to blade runout, increased wear, and poor finish on the piece part. Too much tension can cause the blade to break. To check the blade tension, you can use a blade tensioner or by hand as explained below.
To properly tension the blade, follow the procedure below

- DISCONNECT POWER FROM THE BANDSAW.
- Open the upper pulley access door.
- Loosen the guide post adjusting knob and raise the upper blade guide as high as it will go and secure it.
- Check the blade deflection at a point halfway between the table and the upper blade guide. It should be about 0.37” (9.5mm) when applying a moderate side pressure.
- If a tension adjustment is necessary, make small adjustments to the handwheel. Turning the handwheel clockwise (cw) increases the tension and turning it counterclockwise (ccw) will decrease the blade tension. After adjusting the handwheel, rotate the top pulley several times by hand and then re-check the deflection.
Note: As the top pulley is rotated, make sure the blade does not touch the flange of the pulley.

IMPORTANT: To prolong the life of the blade, release the tension on the blade if the bandsaw will be idle for an extended period of time.
Changing a Blade
CAUTION: The bandsaw blade is sharp and can cut your hand or fingers. Always disconnect power to the saw and wear leather gloves when working near the blade.

- DISCONNECT POWER FROM THE BANDSAW.
- Unlatch and swing open the upper and lower pulley access doors.
- Release the blade tension by rotating the tension wheel (A) counterclockwise (ccw).
- Put on gloves to protect your hands. Now slide the blade off of the upper and lower sheaves, around the blade guards, and through the slot in the table.
- Install the new blade in the reverse order with the teeth facing forward toward the door and the tips of the teeth pointing downward toward the work table.
- Make sure the blade is centered on the wheels and engaged between the upper and lower blade guides.
- Turn the tension wheel to tighten the blade following the “Blade Tension Adjustment Wheel” procedure.
- Carefully make a few rotations of the top sheave by hand to make sure the blade band is tracking evenly.
Blade Tracking
Note
- Blade tracking has been set at the factory and should not require adjusting.
- Before making any tracking adjustments, try a new blade. Warped blades will not track properly.
If a tracking issue occurs, adjust the top sheave. When the blade band is tracking towards the flange:

- Loosen the (4) bearing plate mounting bolts.
- Back out the top (2) jack screws a bit.
- Re-tighten the (4) mounting bolts and check the tracking again.
- Reverse the procedure to track the blade band away from the flange.
LUBRICATION AND MAINTENANCE
WARNING
- Make sure the electrical disconnect is OFF before working on the machine.
- Maintenance should be performed on a regular basis by qualified personnel.
- Always follow proper safety precautions when working on or around any machinery.
Daily Maintenance
- Do a general cleaning by removing dust and metal chips from the machine.
- Clean the blade brush.
- Inspect the saw blade for wear.
- Check that the blade guards and emergency stop button are in good working order.
- If you did blade welding, clean the clamping pads.
Weekly Maintenance
- Thoroughly clean the machine.
- Remove chips from inside the guard housing for the saw blade.
- Note: When cleaning chips and debris from the machine, use a brush and a shop vacuum. DO NOT blow off the machine with compressed air. The force of the compressed air may force chips into critical mechanisms or may inflict injury to yourself or others.
- Use compressed air to clean the blade guides.
- Inspect the grinding wheel for wear.
Monthly Maintenance
- Check the blade guides and blade support for wear. (rotate or replace if necessary)
- Tighten any loose bolts, nuts, or screws on the machine.
- Re-grease the drive bearings.
- Inspect the blade brush for wear. (Adjust or replace)
- Grease the pivot of the blade shear.
- Wipe shafts and threaded rods with a light lubricant.
- Inspect the V-belts for wear (every 3 months)
Note: Proper maintenance can increase the life expectancy of your machine.
Blade Shear Lubrication

- Apply a light coating of grease to the pivot mechanism as necessary.

- Upper Wheel Housing Items: Apply grease to the tension slide blocks, tension adjustment screw, and the blade guide post rack as needed to keep them moving freely and free from rust.
- Table Support Lubrication: Grease the pivoting table support as often as needed.
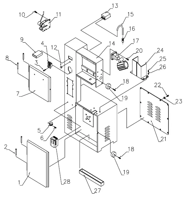
CABINET ASSEMBLY PARTS DIAGRAM – A

Cabinet Assembly Parts List – A
| Item | Part No | Description | Size | Qty. |
| 1 | BSV12VS-V2-01 | Lower wheel door 12″ | 1 | |
| BSV14VS-V2-01 | Lower wheel door 14″ | 1 | ||
| 2 | BSV12VS-V2-02 | Hinge Pin Lower | 2 | |
| 3 | TS-2245102 | Socket Head Cap Screw | M5*0.8P*8mm | 2 |
| 4 | BSV12VS-V2-04 | ON/OFF Switch W/Paddle complete | 1 | |
| 5 | BSV12VS-V2-05 | Blade Cleaning Brush | 1 | |
| 6 | TS-1503061 | Socket Head Cap Screw | M6-1*25 | 1 |
| 7 | BSV12VS-V2-07 | Wheel Door Upper 12″ | 1 | |
| BSV14VS-V2-07 | Wheel Door Upper 14″ | 1 | ||
| 8 | BSV12VS-V2-08 | Hinge Pin Upper | 2 | |
| 9 | BSV12VS-V2-09 | Blade Speed digital Read Out | 1 | |
| 10 | TS-1490021 | Hex Cap Screw | M8-1.25*16 | 2 |
| 11 | BSV12VS-V2-11 | Blade Shear Assembly | 1 | |
| 12 | BSV12VS-V2-12 | Variable Speed Adjustable Knob | 1 | |
| 13 | BSV12VS-V2-13 | Air Pump | 1 | |
| 14 | BSV12VS-V2-14 | Cabinet Body 12″ | 1 | |
| BSV14VS-V2-14 | Cabinet Body 14″ | 1 | ||
| 15 | BSV12VS-V2-15 | Air Hose | 4*6MM | 1 |
| 16 | BSV12VS-V2-16 | Air Nozzle | 1 | |
| 17 | BSV12VS-V2-17 | Work Lamp (LED) | 110V | 1 |
| 18 | TS-1503061 | Socket Head Cap Screw | M6-1*25 | 2 |
| 19 | BSV12VS-V2-19 | Door Knob | 2 | |
| 20 | BSV12VS-V2-20 | Hex Cap Screw | M5 | 4 |
| 21 | BSV12VS-V2-21 | Motor Access Panel 12″ | 1 | |
| BSV14VS-V2-21 | Motor Access Panel 14″ | 1 | ||
| 22 | TS-2246102 | Socket Head Cap Screw | M6-1*10 | 8 |
| 23 | BSV12VS-V2-23 | Flat Washer | 6MM | 8 |
| 24 | BSV12VS-V2-24 | Lower Blade Guard Set | 2 | |
| 25 | TS-2246102 | Socket Head Cap Screw | M6-1*10 | 4 |
| 26 | BSV12VS-V2-26 | Flat Washer | 6MM | 4 |
| 27 | BSV12VS-V2-27 | Chip tray 12″ | 1 | |
| BSV14VS-V2-27 | Chip tray 14″ | 1 | ||
| 28 | BSV12VS-V2-28 | Inverter | 1HP 110V | 1 |
GUIDEPOST AND TABLE ASSEMBLY PARS DIAGRAM – B

Table Assembly Parts List – B
| Index No | Part No | Description | Size | Q’ty |
| 101 | TS-1502051 | Socket Head Cap Screw | M5-8*20 | 4 |
| 102 | TS-1550041 | Flat Washer | M6 | 4 |
| 103 | BSV12VS-V2-103 | Blade Guide | 4 | |
| 104 | BSV12VS-V2-104 | Blade Guide Bracket Lower | 4 | |
| 104-1 | BSV12VS-V2-104-1 | Blade Guide Bracket Upper | 4 | |
| 105 | BSV12VS-V2-105 | Guide Post Lower | 1 | |
| 106 | TS-1505031 | Socket Head Cap Screw | M10-1.5*25 | 2 |
| 107 | BSV12VS-V2-107 | Blade Support | 2 | |
| 108 | BSV12VS-V2-108 | Hex Nut | 5/8″ | 1 |
| 109 | BSV12VS-V2-109 | Flat Washer | 8MM | 1 |
| 110 | BSV12VS-V2-110 | Flat Washer | 8MM | 4 |
| 111 | BSV12VS-V2-111 | Hex Cap Screw | M8-1.25*30 | 4 |
| 112 | BSV12VS-V2-112 | Trunnion Base | 1 | |
| 113 | TS-1504051 | Socket Head Cap Screw | M8-1.25*25 | 4 |
| 114 | BSV12VS-V2-114 | Flat Washer | 8MM | 4 |
| 115 | BSV12VS-V2-115 | Trunnion | 1 | |
| 116 | BSV12VS-V2-116 | Table Tilt Lock | 5/8-11*2 | 1 |
| 117 | BSV12VS-V2-117 | Table | 1 | |
| 118 | TS-1490021 | Hex Cap Screw | M8-1.25*16 | 2 |
| 119 | BSV12VS-V2-119 | Flat Washer | 8MM | 2 |
| 120 | BSV12VS-V2-120 | Blade Guard | 1 | |
| 121 | TS-1490021 | Hex Cap Screw | M8-1.25*16 | 2 |
| 122 | BSV12VS-V2-122 | Guide Post Rack | 1 | |
| 123 | BSV12VS-V2-123 | Roll Pin | 4*36 | 1 |
| 124 | BSV12VS-V2-124 | Guide Post Clamp Plate | 1 | |
| 125 | TS-1503051 | Socket Head Cap Screw | M6-1*20 | 2 |
| 126 | BSV12VS-V2-126 | Lock Washer | 6MM | 2 |
| 127 | BSV12VS-V2-127 | Bracket | 1 | |
| 128 | BSV12VS-V2-128 | Handwheel Handle | 1 | |
| 129 | BSV12VS-V2-129 | Handwheel | 1 | |
| 130 | BSV12VS-V2-130 | Bearing | 609ZZ | 1 |
| 130-1 | BSV12VS-V2-130-1 | Collar | 1 | |
| 130-2 | TS-1523011 | Set Screw | M6-1*6 | 1 |
| Index No | Part No | Description | Size | Q’ty |
| 131 | BSV12VS-V2-131 | Worm Gear | P6.2832/OD27MM | 1 |
| 132 | BSV12VS-V2-132 | Guide Post Bracket | 1 | |
| 133 | BSV12VS-V2-133 | Guide Post Pinion | Gear 15T OD 2MM | 1 |
| 134 | BSV12VS-V2-134 | Special Screw | 1/2-12*9/16 | 1 |
| 135 | BSV12VS-V2-135 | Special Flat Washer | 13*35*T2 | 3 |
| 136 | BSV12VS-V2-136 | Lock Knob | 7/16-14*7/8 | 1 |
WHEEL SET ASSEMBLY PARTS DIAGRAM – C

Upper Wheel Set Assembly Part List – C
| Index No | Part No | Description | Size | Q’ty |
| 201 | BSV12VS-V2-201 | Hex Nut | ½”-20 | 1 |
| 202 | BSV12VS-V2-202 | Lock Washer | ½” | 1 |
| 203 | BB6203 | Ball Bearing | 6203ZZ | 1 |
| 204 | BSV12VS-V2-204 | Int Retaining Ring | 35MM | 2 |
| 205 | BSV12VS-V2-205 | Wheel TIRE 12” | 2 | |
| BSV14VS-V2-205 | Wheel TIRE 14” | 2 | ||
| 206 | BSV12VS-V2-206 | Wheel Upper | 1 | |
| 207 | BSV12VS-V2-207 | Bandsaw Blade 12” | ¼”W Standard | 1 |
| BSV14VS-V2-207 | Bandsaw Blade 14” | ¼”W Standard | 1 | |
| 208 | BB6203 | Ball Bearing | 6203ZZ | 1 |
| 209 | TS-1503031 | Socket Head Cap Screw | M6-1*12 | 4 |
| 210 | BSV12VS-V2-210 | Flat Washer | 6MM | 4 |
| 211 | BSV12VS-V2-211 | Blade Tensioning Handwheel | 1 | |
| 212 | BSV12VS-V2-212 | Bushing | 1 | |
| 213 | TS-1504061 | Socket Head Cap Screw | M8-1.25*30 | 2 |
| 214 | BSV12VS-V2-214 | Leadscrew Bracket | 1 | |
| 215 | BSV12VS-V2-215 | Leadscrew | 3/4-6*7 | 1 |
| 216 | TS-1524051 | Set Screw | M8-1.25*20 | 1 |
| 217 | TS-2361081 | Lock Washer | 8MM | 2 |
| 218 | BSV12VS-V2-218 | Upper Wheel Shaft | 1 | |
| 219 | BSV12VS-V2-219 | Leadscrew Nut | 3/4 | 1 |
| 220 | BSV12VS-V2-220 | Tensioning Way | 1 | |
| 221 | BSV12VS-V2-221 | Ext Nut | 5/8 | 1 |
| 222 | TS-0720131 | Lock Washer | 5/8 | 1 |
| 223 | TS-1524011 | Set Screw | M8-1.25*8 | 1 |
| 224 | BSV12VS-V2-224 | Collar | 2 | |
| 225 | BB6205 | Ball Bearing | 6205ZZ | 2 |
| 226 | BSV12VS-V2-226 | Lower Wheel 12” | 1 | |
| BSV14VS-V2-226 | Lower Wheel 14” | 1 | ||
| 227 | BSV12VS-V2-227 | Bearing Housing | 1 | |
| 228 | BSV12VS-V2-228 | Special Screw | 4 | |
| 229 | TS-2361101 | Lock Washer | M10 | 4 |
| 230 | TS-1505081 | Socket Head Cap Screw | M10-1.5*50 | 4 |
| Index No | Part No | Description | Size | Q’ty |
| 231 | BSV12VS-V2-231 | Int Retaining Ring | 2 | |
| 232 | BSV12VS-V2-232 | Lower Wheel Shaft | 1 | |
| 233 | BSV12VS-V2-233 | Idle Wheel | 1 | |
| 234 | TS-1492041 | Hex Cap Screw | M12*1.5*45mm | 2 |
| 234-1 | TS-2361121 | Lock Washer | M12 | 2 |
| 234-2 | TS-1540081 | Hex Nut | M12 | 2 |
| 235 | BSV12VS-V2-235 | Motor Pulley | 1 | |
| 236 | BSV12VS-V2-236 | Motor | 1HP, 6P | 1 |
| 237 | BSV12VS-V2-237 | V-Belt 12” | A54 | 2 |
| BSV14VS-V2-237 | V-Belt 14” | A54 | 2 | |
| 238 | BSV12VS-V2-238 | Motor Base | 1 | |
| 239 | TS-1540061 | Hex Nut | M8 | 4 |
| 239-1 | TS-1550061 | Washer | M8 | 4 |
| 239-2 | TS-2361081 | Lock Washer | M8 | 4 |
| 240 | TS-1490031 | Hex Cap Screw | M8*1.25*20MM | 4 |
| 240-1 | TS-1550061 | Washer | M8 | 4 |
| 241 | TS-1490031 | Hex Cap Screw | M8*1.25P*20MM | 4 |
| 241-1 | TS-1550061 | Washer | M8 | 4 |
BLADE WELDER ASSEMBLY PARTS DIAGRAM – D

Blade Welder Assembly Parts Diagram – D
| Index No | Part No | Description | Size | Q’ty |
| 301 | TS-0050171 | Hex Cap Screw | 1/4″-20*4″ | 1 |
| 302 | BSV20VS-V2-302 | Transformer Bracket | 1 | |
| 303 | TS-130005 | Flat Washer | 1/4″ | 2 |
| 304 | TS-0561011 | Hex Nut | 1/4″x20 | 2 |
| 305 | BSV20VS-V2-305 | Limit Switch | 1 | |
| 306 | TS-1503061 | Socket Head Cap Screw | M6-1*25 | 1 |
| 307 | TS-1503021 | Socket Head Cap Screw | M6-1*10 | 2 |
| 308 | BSV20VS-V2-308 | Limit Switch Bracket | 1 | |
| 309 | BSV20VS-V2-309 | Sliding Block | 1 | |
| 310 | BSV20VS-V2-310 | Welding Clamp Left | 1 | |
| 311 | BSV20VS-V2-311 | Welding Jaw Left | 1 | |
| 312 | TS-1503031 | Socket Head Cap Screw | M6-1*12 | 1 |
| 313 | BSV20VS-V2-313 | E-Clip | 4mm | 1 |
| 314 | BSV20VS-V2-314 | Shaft | 1 | |
| 315 | BSV20VS-V2-315 | Clamp Lever | 1 | |
| 316 | TS-1503031 | Socket Head Cap Screw | M6-1*12 | 1 |
| 317 | BSV20VS-V2-317 | Sliding Block Base | 1 | |
| 318 | TS-1503041 | Socket Head Cap Screw | M6-1*16 | 1 |
| 319 | BSV20VS-V2-318 | Grinder Cover | 1 | |
| 320 | TS-1540041 | Hex Nut | M6 | 1 |
| 321 | TS-1550041 | Flat Washer | 6mm | 1 |
| 322 | BSV20VS-V2-322 | Grinding Wheel | DIA 2-1/2″ | 1 |
| 323 | TS-1550041 | Flat Washer | 6mm | 1 |
| 324 | BSV12VS-V2-324 | Grinder Motor | 1/8HP 120V 1PH | 1 |
| 324-1 | BSV20VS-V2-324-1 | Capacitor | 3Mf250V | 1 |
| 325 | BSV20VS-V2-325 | ON/OFF Switch | 1 | |
| 326 | TS-1514021 | Socket Head Flat Screw | M6-1*16 | 1 |
| 327 | TS-1514031 | Socket Head Flat Screw | M6-1*20 | 1 |
| 328 | BSV20VS-V2-328 | Welding panel | 1 | |
| 329 | BSV20VS-V2-329 | Clamp pressure Knob | 1 | |
| 330 | BSV20VS-V2-330 | E-Clip | 4mm | 1 |
| 331 | BSV20VS-V2-331 | Clamp Lever | 1 | |
| 332 | BSV20VS-V2-332 | Shaft | 1 |
| Index No | Part No | Description | Size | Q’ty |
| 333 | BSV20VS-V2-333 | Welding Clamp Right | 1 | |
| 334 | BSV20VS-V2-334 | Insulating Plate | 1 | |
| 335 | TS-1550041 | Flat Washer | 6mm | 1 |
| 336 | TS-1503051 | Socket Head Cap Screw | M6-1*20 | 1 |
| 337 | TS-1503051 | Socket Head Cap Screw | M6-1*20 | 1 |
| 338 | BSV20VS-V2-338 | Welding Jaw Right | 1 | |
| 339 | TS-1503051 | Socket Head Cap Screw | M6-1*20 | 1 |
| 340 | TS-1540041 | Hex Nut | M6 | 1 |
| 341 | TS-1550041 | Flat Washer | 6mm | 1 |
| 342 | BSV20VS-V2-342 | Pressure Cam | 1 | |
| 343 | BSV20VS-V2-343 | Cam Shaft | 1 | |
| 344 | BSV20VS-V2-344 | Tension Spring | 0.8*25mm | 1 |
| 345 | TS-0207021 | Socket Head Cap Screw | 1/4-20*1/2 | 1 |
| 346 | BSV20VS-V2-346 | Bracket | 1 | |
| 347 | BSV20VS-V2-347 | Annealing Push Button | 1 | |
| 348 | BSV20VS-V2-348 | Welding Push Button | 1 | |
| 349 | BS12VS-V2-349 | Transformer 12″ | 1.2KVA 110V | 1 |
| BS18VS-V2-349 | Transformer 14″ | 2.4KVA 110V | 1 |
ELECTRICAL DIAGRAM

BAILEIGH INDUSTRIAL HOLDINGS LLC
- 1625 DUFEK DRIVE MANITOWOC, WI 54220
- PHONE: 920. 684. 4990
- FAX: 920. 684. 3944
- www.baileigh.com
- [email protected]
REPRODUCTION OF THIS MANUAL IN ANY FORM WITHOUT WRITTEN APPROVAL OF BAILEIGH INDUSTRIAL HOLDINGS LLC IS PROHIBITED. Baileigh Industrial Holdings LLC, Inc. does not assume and hereby disclaims any liability for any damage or loss caused by an omission or error in this Operator’s Manual, resulting from accident, negligence, or other occurrence.






















