Belt Foam Bar Attachment
User Manual
BFS-BA-48
BFS-BA-48 Belt Foam Bar
READ ALL INSTRUCTIONS BEFORE USING, OR SERVICING, THIS EQUIPMENT. KEEP THIS MANUAL IN A LOCATION THAT IS READILY AVAILABLE TO USERS AND SERVICE TECHNICIANS.
(Original Instructions)
Product requirements
| Liquid temperature range | 40-100°F (4.4-37°C) |
| Equipment requirements | Requires connection to a FOAMit unit with 3A in. (19 mm) discharge hose and a 1/2 in. FPT discharge ball valve. |
| Chemical compatibility | Chemical products used with this equipment must be formulated for this type of application and compatible with unit materials and pump seals. For more information on chemical compatibility, consult the manufacturer or SDS for your product or contact our customer service department. |
Product specifications
| Chemical pickup type | Pre-mixed solution |
| Output volume | 20 gal/min (75.7 l/min) |
| Flow rate* | 2.6 gal/min (9.8 1/min) |
| Coverage area | 48 in. (1.2 m) width beneath the bar |
* Flow rates given are based on viscosity of water and factory air pressure settings.
Safety
WARNING
PEOPLE OR OBJECTS CAN BE HURT OR DAMAGED IF THIS UNIT IS NOT USED CORRECTLY!
Failure to read all the instructions before operating the unit may result in personal injury or death from the improper use of the chemical solution. Anyone handling, operating or using the unit must read, and understand, the instructions in the manual. The buyer assumes all responsibility for safety and proper use in accordance with the instructions.
Using, or servicing, the unit without proper protective clothing, gloves, and eye wear may result in serious injury such as burns, rashes, eye, throat or lung damage and death. Always wear protective clothing, gloves, and eye wear when using, or servicing, the unit. Protect eyes, skin, and lungs against drifting spray.
Chemical solutions may pose a health risk and death if they contact the skin or eyes, are inhaled or swallowed. Always read, and follow, all chemical safety precautions and handling instructions provided by the chemical manufacturer and the Safety Data Sheet (SDS) associated with the chemical solution being used before using the unit.
Pressure within the equipment may cause an unexpected release of the chemical solution and cause serious injury such as burns, rashes, eye damage, throat or lung damage and death. Always depressurize and clean the unit after each use. Never leave the unit unattended while pressurized.
Using the unit with fluid temperatures above 100°F (37.77°C) may result in scalding, burns, serious injury or death. DO NOT use a solution with a temperature above 100°F (37.77°C).
Operating the unit when damaged or leaking may result in exposure to chemical solutions, serious injury or death. Never use the unit if it is damaged or leaking.
Never point the discharge wand at yourself, another person, or any object you do not want covered in chemical.
Using incoming air pressure exceeding 100 psi (7 bar) may result in pressure buildup, explosion, serious injury or death. DO NOT exceed 100 psi (7 bar) incoming air pressure when operating the unit.
Use of hydrocarbons and flammable products may result in explosions, fire and serious injury or death.
Never use hydrocarbons or flammable products with the unit.
Mixing an alkaline with an acid may result in a chemical reaction. Overheating of the mixture may cause it to splatter caustic compounds or release hazardous fumes, gas and vapors. Always flush the unit with fresh water for five (5) minutes when switching from an alkaline to an acid or an acid to an alkaline.
NOTICE
Servicing, or modification, of this unit with parts not listed in this manual may cause the unit to operate improperDo not use unauthorized parts when servicing the unit.
Use of an air lubricator before the unit may result in diminished performance and damage to the unit. Do not use anair lubricator before the unit.
Moisture in the air lines may damage the pump and diminish the units life. The air must be filtered, clean, dry an free of moisture. If needed, install an air dryer before the unit.
PROTECT THE ENVIRONMENT
Please dispose of packaging materials, old machine components, and hazardous fluids in an environmentally safe way according to local waste disposal regulations.
Product Components

- Bar plug
- Foam bar
- Female cam lock fitting
- Male cam lock fitting
- Male quick-connect plug
- Mounting bracket
Assembly
This attachment comes with quick-connect fittings for easy installation and use. Important! Only install quickconnect fittings on output side of the discharge valve. Do not
install in any other configuration.
- Remove all components from packaging.
Note: The male cam lock fitting, male quick-connect plug and mounting bracket come assembled.
- Attach the mounting bracket to the conveyor.
- With foam unit turned off and depressurized (refer to your foam unit user manual for specific procedures), remove the wand from the discharge ball valve and install the male quick-connect coupler.
- Connect the output side of foam unit discharge valve to the male quick-connect plug on the mounting bracket.
- Connect foam bar to the male cam lock fitting.
Operation

- Connect the foam bar to the foam unit by engaging the bar to the male cam lock fitting. Important! Check the foam bar and the foam unit discharge valve are securely connected to the fittings before activating the foam unit.
- Activate the foam unit (refer to the foam unit user manual for specific procedures) to begin foaming.
- To stop foaming, deactivate the foam unit (refer to the foam unit user manual for specific procedures).
- Turn off and depressurize the foam unit.
Follow all after use procedures in the foam unit user manual. - Rinse attachment thoroughly with fresh water to remove any chemical residue.
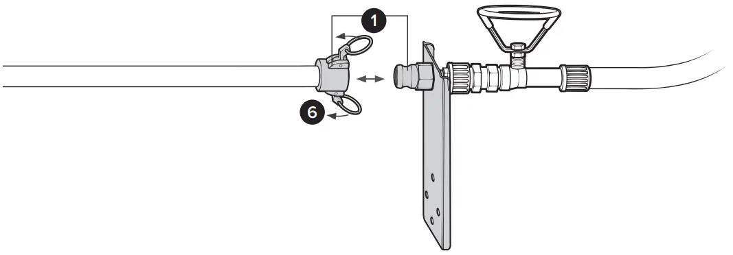
- To disengage quick-connect fittings, pull back on retaining collar to release female fitting.
Parts

| Item number | Description |
| QCPP12PF-CLC | Quick connect coupler -1/2 in. MPT x 3/4 in. cam lock connector – polypropylene |
| QCPP12CM-CLC | Quick connect coupler -1/2 in. MPT x 3/4 in. cam lock connector – polypropylene |
| PLGPVC12 | Plug -1/2 in. MPT – PVC |
| QCSS12CM | SS Non check 1/2 in. quick-connect coupler – MPT |
| QCSS12M | SS Non check 1/2 in. quick-connect plug – MPT |
| QCSS12PF | SS Non check 1/2 in. quick-connect plug – FPT |
| BFB-BRKT | Bracket for belt foam bar – stainless |
| BFS-MK | Mounting kit for belt foam system |
| BFBA-48 | 48 In. belt foam bar assembly – includes quick connects-mounting kit sold separately |
Additional Belt Foam Bar Sizes
Note: The following Belt Foam Bars and bar assemblies are optional and available for purchase.
| Model | BFS-BA-42 | BFS-BA-36 | BFS-BA-30 | BFS-BA-24 | BFS-BA-18 |
| Output volume | 24 gal/min (90.8 l/min) | 25 gal/min (94.6 l/min) | 28 gal/min (106 l/min) | 26 gal/min (98.41/min) | 30 gal/min (113.6 l/min) |
| Flow rate – | 2.4 gal/min (9.11/min) | 2.1gal/min (7.9 l/min) | 2.3 gal/min (8.71/min) | 2 gal/min (7.61/min) | 2.1gal/min (7.9 l/min) |
| Coverage area | 42 in. (1.1 m) width (1 beneath the bar | 36 in. (0.9 m) width beneath the bar | 30 in. (0.8 m) width beneath the bar | 24 in. (0.6 m) width beneath the bar | 18 in. (0.5 m) width beneath the bar |
| Replacement bar assemblies | BFBA-42 | BFBA-36 | BFBA-30 | BFBA-24 | BFBA-18 |
* Flow rates are based on viscosity of water and factory air pressure settings.
Model: BFS-BA-48
V20221025 • Page 5 of 5


















