CHASING Gladius Mini S Underwater Drone with 4K UHD Camera

Disclaimer
Any user, before using the GLADIUS MINI S underwater drone, must read this statement carefully. Once this product is used, it shall be deemed that the user has recognized and accepted the entirety of this statement. When using this product, if personal injury or property damage (including direct or indirect loss) occurs due to the following reasons, CHASING will not be liable for compensation:
- Damage caused by an operator in poor physical or mental condition when using the machine.
- The operator’s subjective intention to deliberately cause personal injury, property damage, etc.
- Compensation for any further related damage caused by an accident.
- The product is not properly assembled or operated according to the guidance in this manual.
- Other damages are caused by self-modification or replacement using non-CHASING accessories or parts, resulting in poor operation of the entire ROV.
- Damage caused by using non-CHASING products or imitating CHASING products.
- Compensation for damage caused by operation error or subjective judgment error.
- Problems such as natural wear and tear, corrosion, and circuit aging that cause the ROV to operate poorly.
- The ROV issues a low-battery warning and the operator still does not recall the ROV, causing the ROV to lose contact.
- Knowing that the ROV is in an abnormal state (such as obvious failure of main components, obvious defects, or missing parts), the operator still puts it in water, thereby resulting in damage.
- Damage caused by the ROV being in sensitive waters such as military management zones and open ocean areas without official permission.
- Operating the ROV in adverse water conditions (such as strong winds, large waves, mud, and sand).
- The ROV encounters uncontrollable situations such as intense collisions, tsunamis, or being swallowed by animals.
- Damage due to any image data obtained by the operator using the ROV that infringes on intellectual property rights.
- Other damages that are not within the scope of CHASING’s responsibility.
ROB
The GLADIUS MINI S is an underwater drone designed for underwater photography, scientific exploration, and safety inspection. Compared with the previous generation GLADIUS MINI, the MINI S supports the mounting of grabber claws, sports cameras, etc. Battery capacity is upgraded and the battery life is increased by 70%. With CHASING’s patented motor technology, the chance of sand jamming can be effectively reduced. The ROV has a built-in 4K/12 million pixel EIS camera, 1200 × 2 lumens LED lights, and a 64G pluggable Micro SD memory card. A professional wired direct-connect remote controller ensures stable operation and a continuous connection. The aluminum alloy compact fuselage (weight less than 3kg) and optional E-Reel allow one person to quickly deploy the drone in 3 minutes. It is a lightweight, easy-to-use, and reliable underwater drone.
- SD card slot
- LED light
- Camera
- Thruster
- Drain hole/Exhaust hole
- Tether cable socket/charging port
- Accessory installation area
- Peripheral port ( Note: When an external device is not connected, screw in the plug before allowing contact with water.)
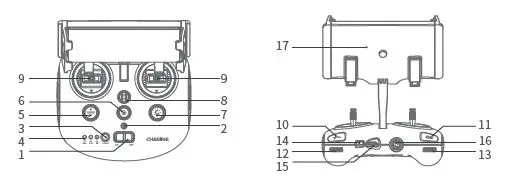
Remote controller
- Power switch: turn on/off the remote controller.
- Power indicator: green light (high battery level); blue light (medium battery level); red light (low battery level).
- Wi-Fi switch button: switch between 2.4G/5G Wi-Fi
- Remote controller connection indicator: ROV/2.4G/5G
- One-key reset: in any posture, the ROV can be reset to the horizontal state. Long press to switch the control mode.
- Unlock: lock/unlock the motor, the current state of the motor can be confirmed in the App.
- Fill light control button: fill light [off/medium brightness/high brightness] control.
- Safety buckle: can be used with a safety rope to prevent the remote controller from falling.
- Control stick: used to control the navigation of the ROV. Refer to the navigation posture for specific operations.
- Grabber claw control: short press to close and stop, long press to open.
- Video/Photo: short press to take photo/start or end video recording; long press to switch between photo and video mode.
- Right scroll wheel: none
- Left scroll wheel: adjust the pitch angle
- Type-C port: direct communication between the controller and the mobile phone/tablet
- HDMI port: 1080P high-definition real-time image output
- Tether cable socket/charging port
- Mobile phone/tablet bracket: used to attach the mobile phone/tablet. Open both ends to insert the device, then press the button on the back to tighten the device.
Note: Damage caused by immersion in liquid is not covered by the warranty. To avoid damage, do not put the remote controller in the water.
Remote controller indicator light
Battery: The battery indicator light has three color states. Red: the red light stays on without flashing when the battery level is between 10% and 30%; the red light flashes when the battery level is between 0% and 10%. Blue: the blue light stays on without flashing when the battery level is between 30% and 70%. Green: the green light stays on without flashing when the battery level is between 70% and 100%. 2.4G: Wi-Fi indicator light, is always on when the 2.4G frequency band is working. 5G: Wi-Fi indicator light, always on when the 5G frequency band is working. ROV: communication between the remote controller and the ROV (flashing: not connected, steady: connected). One-key reset button: when the machine is in a non-horizontal state, the blue light under the button is always on. Unlock button: after unlocking, the blue light under the button is always on. Fill light button: when the fill light is bright, the blue light under the button is always on. when the fill light is low, the blue light under the button flashes. when the fill light is turned off, the blue light under the button is off.
100/200m tether cable & winder
The winder is used to store the tether cable, and the tether cable is used to connect the ROV and the controller.
- Tether cable socket
- Winder shell
- Tether cable 4. Hanging buckle
Note: Do not put the unconnected tether cable socket into the water or allow liquid to splash into it. Check whether the O-ring on the tether cable socket is missing or damaged. If so, please replace it before use.
Installation and connection
- Install the CHASING GO1 App
CHASING GO1 App: (For iOS 9.0/Android 4.4 and above) Scan the QR code below to download or visit the iOS App Store/Google Play to download.
- Connect the ROV and remote controller
Insert the two ends of the tether cable into the ROV and remote controller and tighten the fastening nuts.
Note: Check whether the O-ring on the tether cable socket is missing or damaged. If so, replace it before use.
Turn on ROV
Turn on the power switch (ON/OFF) of the remote controller. The battery indicator 2.4G or 5G indicator light and the ROV indicator light will turn on without flashing. At the same time, the LED auxiliary light on the ROV will light up briefly, accompanied by two self-test sounds.
Note: Unlock the machine only once everything is ready and after the machine is placed in water.
- Connect the remote controller and mobile phone/tablet
There are two ways to connect the remote controller to the mobile phone/tablet. The recommended method is to use a cable. The connection methods are:
- Method 1: Remote controller cable connection
Connect the included remote controller cable to the remote controller and the mobile phone/tablet (use the cable that corresponds to the port on the mobile device), and connect the end with the mobile phone graphic to the mobile phone/tablet.
Note:
- If your mobile phone/tablet does not successfully connect, try to turn off your mobile phone/tablet’s Wi-Fi first. If you still cannot connect, then try to turn off your mobile phone/tablet’s cellular data connection.
- If none of the above methods produce a successful connection, it may be a mobile phone/tablet compatibility issue. Try to select method two, “Wi-Fi Connection”.
- The remote controller’s Type-C port and the included remote controller cable do not support charging.
Method 2: Wi-Fi connection
Enter the mobile phone/tablet’s Wi-Fi connection interface, connect to “CHASING_XXXX”, default Wi-Fi password: 12345678.
App Interface Introduction
After opening the App, tap the “Enter Camera” button. Once you enter the camera, you will see the CHASING GO1 App’s real-time image transmission.
Note: As the App is frequently updated, such update information is not introduced in the paper version of the user manual. For the relevant operations of the App and the machine, refer to the App startup interface —> the icon in the upper right corner —> Help —> Tutorial/FAQ, or directly send an email to consult our global technical support: [email protected]
Launch ROV
- When the ROV is not connected to an external device, the 4-pin connector plug must be screwed on to prevent damage to the ROV.
- When launching the ROV, hold the grips on both sides of the machine with both hands and gently toss them into the water. After unlocking the motor, you can start diving operations. For the best experience, it is recommended to ensure that the water depth exceeds 1 meter before starting.
Video and Picture Download
- 1) Refer to step 4 to connect the remote controller and mobile phone/tablet.
- Tap on the gallery in the lower right corner of the App’s main interface.

- Find the video/picture you want to download and tap the download button. Once the download is complete, the video and picture will be directly saved to the mobile phone/tablet photo album. Videos and pictures are generally saved in the Download folder on Android devices and directly saved to the photo album on iPhone devices.

Copy Micro SD Card
- Turn off the controller power switch and wipe off any water droplets on the ROV fuselage (especially the water droplets on the Micro SD card slot).
- Unscrew the Micro SD card slot cover in a counterclockwise direction and take out the Micro SD card.
- Use a computer or other device to read the photos and videos from the Micro SD card.
Charging Instructions
ROV & remote controller: the 2-in-1 adapter (12.6.V 3A) can charge the ROV and remote controller. Indicator light: red light indicates normal charging, a green light indicates that charging is complete.
Specifications

Maintenance and Precautions
- Navigation Safety

- Battery protection

- Charging protection
- Please use the official standard charger.
- The red light indicates charging.
- The green light indicates that charging is complete. The charger should be unplugged shortly after charging is complete.
- Motor/Propeller

Do not touch the rotating motor propellers. Do not leave the motor idling for more than 30 seconds in the air to avoid overheating
Note: After use, it is necessary to clean the attachments on the surface of the rotor (make sure that the machine is completely shut down), rinse with clean water, and wipe with a cloth after cleaning.
- Tether cable
Before use, check whether the port has water droplets. If so, wipe it with the special absorbent cloth provided by the factory before use.
- O-ring
Check whether the O-ring of the tether cable socket is missing or damaged. If so, please replace it before use.
Note: After using in sea water, soak the fuselage in fresh water for at least 1 hour, and then turn it on for 10 minutes. After cleaning, wipe it with a cleaning cloth.
Other
- Before launching, do not turn on the ROV’s auxiliary light to avoid burnout.
- After each use, check whether the motor propellers have any objects such as seaweed or fishing nets entangled in them. At the same time, use fresh water to rinse the fuselage, then wipe dry and return it to the packing box.
- The remote controller cannot be rinsed with water. It needs to be wiped with a cleaning cloth.
- Do not place heavy objects on the machine to avoid damage to it.
- Teenagers under the age of 16 should only use this ROV under adult supervision.
- When not in use, do not put the machine in the sun. Store it in a cool place or in a dedicated box.
- Chloride or other chemicals may corrode the machine. If the swimming pool contains high chlorine content, do not use the ROV in it.
Support
If you have any questions or technical issues, send an email to [email protected] or contact our E-chat customer service staff on the official website.
- You can access the latest user manual via
- https://www.chasing.com
- This content is subject to change without prior notice.
























