![]()
User Manual
V1.0

![]()
Disclaimer
Thank you for purchasing the CHASING M2 underwater drone. Please read this entire document carefully before using the drone. By using this product, you hereby signify that you have read this disclaimer and all instructions carefully and that you understand and agree to abide by the terms and conditions herein.
––––––––––
Chasing accepts no liability for damage, injury, or any legal responsibility incurred directly or indirectly from the use of the CHASING M2 in the following conditions:
01. Damage(s) or injuries incurred when users are drunk, taking drugs, drug anesthesia, dizziness, fatigue, nausea and any other conditions no matter, physically or mentally that could impair your ability.
02. Damage(s) or injuries caused by subjective intentional operations.
03. Any mental overcompensation caused by accident.
04. Failure to follow the guidance of the manual to assemble or operate.
05. Malfunctions caused by refit or replacement with non-Chasing accessories and parts, or unauthorized modification, disassembly, or shell opening not in accordance with official instructions.
06. Damage(s) or injuries caused by using third-party products or fake Chasing products.
07. Damage(s) or injuries caused by misoperation or subjective misjudgment.
08. Damage(s) or injuries caused by mechanical failures due to erosion, aging.
09. Damage(s) or injuries caused by operating the unit with a low battery alert.
10. Damage(s) or injuries caused by operating the drone out of maximum safe range and depth.
11. Damage(s) or injuries caused by knowingly operating the product in abnormal conditions (such as the assembly is not completed, or the main components have obvious faults, obvious defect or missing accessories).
12. Damage(s) or injuries caused by operating the drone in a sensitive zone such as a military area or private waters without official permission.
13. Damage or injury caused by using in bad water conditions (such as high winds, or turbid zone).
14. Damage or injury caused by uncontrollable external factors, including severe collision, tidal wave. swallowed by animal.
15. Damage(s) or injuries caused by infringement such as any data, photo or video material recorded by the use of the CHASING M2.
16. Other losses that are not covered by the scope of Chasing’s liability.
ROV
CHASING M2 is a professional underwater ROV/Drone designed for professional users and industrial applications. M2 has 8 Vectored Thrusters layout which allows OMNI movement in all directions. The Maximum speed is 3 Knots, depth is 100 meters (330 FT) and the maximum horizontal radius is 200 meters (660FT).
Compatible with sophisticated attachments such as Robot Claw, GoPro camera, external LED lights and laser scaler etc. CHASING M2 offers a built in 4K/ 1080p and 12-megapixel EIS image stabilization camera, 4000 lumen LED lights, removable battery and removable SD memory card. The aluminum alloy compact body (weighs less than 4.5KG / 10lbs) allows single person operation and Quick-Deployment in 3 minutes. The CHASING M2 is your portable, user-friendly and reliable light industrial underwater ROV.


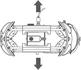
- Camera
- LED lights
- Thruster/ Propeller
- Micro SD slot
- Tether socket / Charging socket
- Sensor
- Main Cabin
- Battery Cabin
- Buckle bracket
- Peripheral interface
- Battery pull ring
(For battery disassembling) - Battery fastener
- Battery twistlock knob
Remote controller
The Chasing M2 remote controller had integrated communication and control. It connects directly to the drone via the included tether and connects wirelessly to your mobile phone/tablet via Wi-Fi. It allows the drone to display a live video feed on your phone/tablet, which enables users to control the drone in real-time. The base station’s HDMI output can also be used to display a live video feed to a larger screen.

- Power switch: Turns controller on/off
- Power Indicator: Green (High power), Blue (Medium power), Red (Low power)
- Wi-Fi switch button: Short press to switch 5Ghz/2.4Ghz Wi-Fi
- Signal Indicator:
2.4G : 2.4Ghz Wi-Fi indicator, always on when working
5G: 5Ghz Wi-Fi indicator, always on when working
ROV(drone): Indicates the communication status between the controller and the drone (Steady light indicates successful connection; Blinking light indicates disconnection.) - One-key reset: Short press to reposition the ROV return to a horizontal state/Long press to switch control mode
- Unlock: Unlock/Lock, current state of the Thruster will show on the App
- Led Control: On/off led light (0%50%100%)
- Safety Buckle: Can be used with a safety rope
- Control Sticks: Used to control the navigation of the ROV
- Robotic Arm Control: Press and hold to enable/disable the grabber claw function; press to change the floodlight brightness level
- Photo/Video: Short press to take photos, long press to start / end recording video
- Right Angel Adjustment: Adjust the roll angle or control the opening and closing of the grabber claw
- Left Angel Adjustment: Adjust the pitch angle
- Type-c Port: Direct connection with mobile phone/tablet device
- HDMI Socket: 1080P HD image real-time output
- Tether Connection Socket/Charging socket
- Phone/Tablet Clamp: Used to attach phone/tablet mount to mounting bracket
- Clamp Button: Pull apart the two ends and put in the phone/tablet, then press this button to tighten
* Note: Do not put the controller in the water to avoid damaging the device, damages caused by water ingress are not covered by the warranty.
Handle indicators introduction
Battery:
Red: 10%↓ Red light flashes quickly; 10-29% Red light always on.
Blue: 30-69% Blue light always on.
Green: 70-100% Green light always on.
Signal Indicator:
2.4G: 2.4Ghz Wi-Fi indicator, always on when working.
5G: 5Ghz Wi-Fi indicator, always on when working.
ROV: Indicates the communication status between the controller and the ROV (Steady light indicates successful connection, Blinking light indicates disconnection.)
Gesture back Button:
The blue light is always on when the ROV is in a non-horizontal position.
Unlock Button:
Locking: No lights; Unlocking: Blue light on.
Led Control Button:
Bright light: Blue light always on; Low light: Blue light flash; No light: Blue light off.
100/200 meters Tether & Winder
The tether is used to connect the drone and the remote controller The winder is used to store the tether.
- Tether connectors
- Tether
- Winder
- Fastener

* Warning:
- Do not put exposed (unconnected) tether into the water or plashing liquid to the tether.
- Check whether the O-ring on the tether connector pre-dive, make a replacement when it is missed or damaged.
Installation & Connection
(1) Download CHASING GO1 App
CHASING GO1 App:
Scan the following QR code or visit the IOS APP Store/Google Play/Chasing website for downloading.
(For IOS 9.0 or later/Android version 4.4 or later)
(2) Connect ROV with Remote Controller
a. Insert one end of the tether connector into the remote controller connector socket.
b. Reserve a suitable length and hang the Buckle on the Buckle Bracket, and make it tension.
c. Insert the other end of the tether connector to the ROV.
d. Securely hand-tighten both connectors.

(3) Start (turn on) the ROV
a. Turn on the remote controller power button.
b. A few seconds later, the remote controller’s indicator lights up, 5G or 2.4G light will be always on.
The drone LED lights will flash shortly, accompanied by two self-tests sounds.
c. Check all the connectors and lights pre-dive, and unlock the ROV when everything is ready underwater.

(4) Connect remote controller to your phone/tablet
Method 1: USB Direct Cable Connection
Choose an appropriate remote controller cable based on the type of mobile device. A Lightning connector cable, micro USB cable, and TYPE-C cable are included in the packaging. Connect the end of the cable with the mobile phone logo to the mobile device.

Note: * It is recommended to use this kind of way to connect mobile phone/tablet and remote controller.* If the connection fails, please try to turn off your phone’s Wi-Fi and mobile network. If still fails, it may be a phone/ tablet compatibility problem. Please select method 2 Wi-Fi connection. * The remote controller type-c port and attached remote controller cables do not support charging.
* (2) Warning: Check whether the O-ring on the tether connector pre-dive. If it is missed or damaged, please replace it in time.
Wi-Fi Connection
a. On the Phone/Tablet, go to Wi-Fi settings.
b. Wait for 5-10 seconds and the Chasing_xxxx network will appear as an option.
c. Click to connect and enter the Wi-Fi password: 12345678

(5) App interface Introduction
Open the APP and enter the camera, you will see the real-time scene transmission.

- Return
- General Settings
- Compass
- Signal Strength
- Battery
- White Balance
- Lock Picture
- Video Recording
- Camera Settings
- ROV Mode
- Unlock/lock
- Angle
- Light
- 3D Gesture
- Depth
- Temperature
- Side Menu
- Shrink Video
- Slow Motion
- Live Stream
- VR
* Note:
- As the drone will connect to the 2.4G Wi-Fi by default, you can switch to 5G Wi-Fi to get a better experience. (Turn on 5Ghz in the Settings-ROV, the drone’s Wi-Fi will automatically restart, and you may need to re-connect to the Gladius Wi-Fi).
- You could check more guidance videos on the website page https://www.chasing.com/,or you could contact the global support team with any questions: [email protected]
(6) Drop the ROV into Water
a. Grasp the grips on both sides of the ROV with both hands and gently throw the ROV into the water.
b. Unlock the Thruster(motors) to dive.
c. For a better experience, it is recommended to ensure that the water depth exceeds 1 meter.
Video and Photo Download
Connect Wi-Fi
1) Connect the ROV with remote controller by the tether, Switch remote controller power button to on.
2) Find the Chasing_xxxxxxxx Wi-Fi on the phone/tablet/laptop Wi-Fi list.
3) Input M2 Wi-Fi Password: 12345678

Download to Phone/Tablet
1) Open CHASING GO1 App, click the Media button in the lower right corner.
2) Find the video/photo that you want to download. Click the download button and the image will be saved directly to the phone/tablet’s photo album (Download folder).

Download to Computer (laptop or the computer which could use Wi-Fi)
1) Open the web browser and type IP address:192.168.1.88
2) Find the video/photo that you want to download. Click the download icon and save, then the images will generally save in the Download folder.
3) It is recommended to use Firefox or Google Chrome browser for better experience.

Micro SD card copy
1) Remove the cover on the SD card socket counter clockwise, then open the waterproof rubber plug and gently press the SD card. It will pop up automatically, then remove the SD card.
2) Read the SD card in a Card reader, and copy the images with computer.
3) Insert the SD card back to the SD card socket after copying the images, press gently to ensure the SD card and waterproof rubber plug are locked, and tighten the cover clockwise downward.

Disassemble and Install the Battery compartment
(a) Disassemble:
1) Turn the knobs on both sides of the fuselage 90° to the shallow card slot
2) Turn the switch (1) on the slider to the left, and pull the lock assembly upwards while holding the chute (2);;
3) Pull the lower sides of the pressure plat (3), by hand, pull down to deform the pressure plate (3), and make the buckle come off the rear bracket.
4) Pull the Battery compartment slowly to pull it out.
(b) Install:
1) Rotate the knobs on the both sides of the fuselage 90° to the deep card slot;
2) Slowly install the Battery compartment along the chute under the fuselage. Press down hard until you hear a “click” sound, and the knobs close in place.
3) Pull the lower sides of the Pressure Plate by hand, pull down to deform the Pressure Plate (3), make the buckle fasten on the rear bracket;
4) Press down firmly on the chute of the locking assembly. When you hear a “click” sound, the buckle is snapped into place properly, then the installation is complete.

* Warning:
- Before removing or installing the Micro SD card, please switch remote controller power button to off, and wipe off the water on the ROV;
- Check the O-ring on the tether connector, please be sure the O-ring cannot be squeezed out when tightening the cover. If it is missed or damaged, please replace it in time.
M2 has 8 Vectored Thrusters layout which allows OMNI movement (up, down, left and right, back and forth, pitch, roll, and pan) in all directions. The default is basic control mode, suitable for beginners. Navigation attitude and remote control are as follows:
Remote Controller | Rov (Flight Direction) | Remote Controller | Rov (Flight Direction) |
| Left Joystick
| Forward/backward
| Left Joystick
| Turn Left / Right
|
Right Rocker
| Pan Left and Right
| Right Rocker
| Up / Down
|
| Scroll the Left Wheel
| Turn the Dial To Adjust the Pitch Attitude
| Scroll the Right Wheel
| Turn the Dial to Adjust The Roll Attitude, Release to Fix Status
|
If necessary, users can switch modes by long pressing the “One-key reset” button of the remote controller. When switching to the advanced mode, the ROV can achieve all-round full-freedom movement. The advanced mode is based on the first-person perspective.
* Note: in the basic mode, the maximum Angle of pitch and roll is about 80 degrees.
Charging Guidance
ROV & Remote Controller
Adapter (25.2V 2.9A): It is a 3 in 1 charger that could charge the ROV, Remote Controller, Battery Cabin & E-reel, Red light indicates Charging, green light indicates fully charged.
Specifications
ROV
| Size | 15*10.5*6.5 inch |
| Weight | 4.5kg |
| Battery | 97.68Wh |
| Maximum Depth | 328 ft |
| Maximum Speed | 1.5 m/s (3 Knots) |
| Battery Life | ≤4h (Depend on working condition) |
| Battery Cycle | >300times |
| Operating Temperature | 14℉~113℉ |
Dimmable LED Lights
| Brightness | 2 x 2000lm |
| Color Temperature | 5000K~5500K |
| CRI | 85 |
| Dimming | Three adjustable |
Sensor
| IMU | Three-axis gyroscope |
| acceleration | |
| compass | |
| Depth Sensor | <±0.25m |
| Temperature Sensor | <±2℃ |
Remote Controller
| Size | 6.3*6.1*4.9 inch |
| Weight | 0.685kg |
| Battery capacity | 2500mAh |
| Battery life | ≥6H (Depend on working condition) |
| Wireless | Wi-Fi |
| HDMI | 1080P |
| TYPE-C | USB communication |
Tether & Winder
| 328ft Version (100M) | 1.8kg |
| 656ft Version(200M) | 2.5kg |
Adapter
| Adapter | 2.9A/25.2V |
| ROV Charging time | 2.5h |
| Remote controller charging time | 2h |
Maintenance and Precautions
Open sea navigation | Relatively clear water quality, no dense seaweed | ![]() No dense radio or radar signals |
Do not dive more than 330 ft |
(2) Battery Protection
Do not run out of battery power | Charge when power is less than 25% | When not in use, keep battery power at 50% – 70% |
Working temperature |
(3) Charging Protection
- Only use the Chasing standard adapter.
- Red light means charging.
- Green light means fully charged.
(4) Thruster/ Propeller

a. Do not touch the propellers of the Thruster
b. Do not unlock the Thruster for more than 30 seconds in the air to avoid overheating
c. After using the ROV in the salt water, please put it in fresh water for about 1 hour and turn it on, let the drone run for 10 minutes to discharge the salt, and try out the water after cleaning with a towel.
(5) Connector Sockets /Tether Connectors
- Check the Connector socket and tether pre-dive, keep dry and clean.
Salt and moisture may cause corrosion of the connector. Be sure to wash the socket with fresh water if the interface has water stains, and make the connectors dry after cleaning.
(6) O-ring
- Check whether the O-ring on the tether connector/Battery socket/SD card socket pre-dive, and make a replacement when it is missed or damaged.
- It is recommended to grease the o-ring at the interface seal for maintenance each time when the battery cabin and Micro SD card are removed and installed.
Other
- Do not turn on the LED lights before entering the water to avoid damages.
- Check if the Thrusters/propellers are getting stuck by seaweed or external matters, rinse the ROV with fresh water and then dry and put it back in the packing box.
- Remote control cannot be washed with water, please clean it with towel.
- The pull ring at the end of the battery can only be used to remove the battery, not to lift the ROV, otherwise it may damage the ROV.
- Do not place heavy objects on drone or accessories to avoid possible damage.
- People under the age of 16 should only use this drone under adult supervision.
- When not in use, please do not expose the drone and accessories under sunlight. Store it in a cool place or in a special box.
- Chloride or other chemicals can erode Chasing M2. Do not use if the pool is under high chlorine level.
- Before you remove the battery compartment, make sure to unlock the buckle for the battery compartment. If you lift the battery compartment by using excessive force, the battery compartment may be damaged, and this damage falls out of the scope of the after-sales warranty.
Support
If you have any questions or technical issues, send an email to the aftersales services of Chasing or contact us on the official website.
Aftersales support on the official website: https://www.chasing.com/ >> Contact us >> Online Customer Support >>Click here
Aftersales service email addresses:
[email protected] for Europe, [email protected] for Asia and Oceania, and [email protected] for South America, North America, and Africa.
![]()
This guide may be updated without notice.
Visit the Chasing official website for the latest version: https://www.chasing.com
![]()
www.chasing.com
[email protected]
































