Owner’s Manual & Safety Instructions
Save This Manual Keep this manual for the safety warnings and precautions, assembly, operating, inspection, maintenance and cleaning procedures. Write the product’s serial number in the back of the manual near the assembly diagram (or month and year of purchase if product has no number).
Keep this manual and the receipt in a safe and dry place for future reference.
20k
HIGH PERFORMANCE
DRONE
WITH CAMERA/VIDEO

56814
Visit our website at: http://www.harborfreight.com
Email our technical support at: [email protected]
When unpacking, make sure that the product is intact and undamaged. If any parts are missing or broken, please call 1-888-866-5797 as soon as possible.
Copyright© 2019 by Harbor Freight Tools®. All rights reserved.
No portion of this manual or any artwork contained herein may be reproduced in any shape or form without the express written consent of Harbor Freight Tools.
Diagrams within this manual may not be drawn proportionally. Due to continuing improvements, actual product may differ slightly from the product described herein.
Tools required for assembly and service may not be included.
WARNING
Read this material before using this product.
Failure to do so can result in serious injury.
SAVE THIS MANUAL.
Important Safety Information
- Do not allow children younger than age 14 to use this Drone. Children should not operate without adult supervision.
- Only fly outdoors during daylight hours in an area with no obstructions, power lines, vehicles, animals or people nearby.
- Do not fly in wet or windy conditions.
- Keep spectators and pets away. Spectators should only watch from a safe distance.
- Position remote control batteries in proper polarity. Do not mix old and new batteries. Do not mix alkaline, standard (carbon-zinc), or rechargeable (nickel-cadmium) batteries. Position batteries in proper polarity. Do not use swollen or leaking batteries.
- Do not open the Drone’s housing or modify its design. Doing so may cause damage and/or make it dangerous.
- Do not use if parts are loose or damaged. If the toy has been damaged, immediately stop using it.
- Contains Lithium-Polymer battery. Battery must be recycled or disposed of properly. Do not open, crush, heat above 140° F or incinerate.
- Check federal, state and local surveillance laws before using the camera on this product.
- Operating a drone that has a dangerous weapon attached to it is a violation of Federal law. The term “Dangerous Weapon” is defined as any item that is used for, or is readily capable of, causing death or serious bodily injury.
- People with pacemakers should consult their physician(s) before use. Electromagnetic fields in close proximity to heart pacemaker could cause pacemaker interference or pacemaker failure.
- The warnings, precautions, and instructions discussed in this instruction manual cannot cover all possible conditions and situations that may occur. It must be understood by the operator that common sense and caution are factors which cannot be built into this product, but must be supplied by the operator.
- Maintain product labels and nameplates. These carry important safety information. If unreadable or missing, contact Harbor Freight Tools for a replacement.
Lithium Battery Charging Safety
- Do not leave Drone unattended while charging.
- Battery charging should be done by adults only.
- Use the supplied USB charging cable only.
- Charge on non-flammable surface and keep away from flammable items.
- If battery-powered device has been damaged, immediately stop use, unplug, and safely move away from flammable materials.
- Follow instructions for charging battery. DO NOT charge longer than recommended.
- Allow a clearance of at least 4″ on all sides during charging.
Personal Safety
- Operator and spectators must wear ANSI-approved safety goggles during use.
- Do not wear loose clothing or jewelry. Keep hair and clothing away from moving parts. Loose clothes, jewelry, or long hair can be caught in moving parts.
- Do not use the Drone while tired or under the influence of drugs, alcohol, or medications. A moment of interruption can result in serious personal injury.
Specifications
| Remote Control Battery Type | 4-AAA (sold separately) |
| Drone Battery Type | 3.7V / 520mAh rechargeable Lithium-Polymer |
| Battery Charging Time | 1.5 hours max |
| Flying Time | Approximately 7.5 minutes |
| Range | Up to 160 feet |
| Operating Frequency | 2.4GHz |

This device complies with Part 15 of the FCC Rules. Operation is subject to the following two conditions: (1) this device may not cause harmful interference, and (2) this device must accept any interference received, including interference that may cause undesired operation.
Warning! Any changes or modifications not expressly approved by the party responsible for compliance could void the user’s authority to operate the equipment.
NOTE: This equipment has been tested and found to comply with the limits for a Class B digital device, pursuant to part 15 of the FCC Rules. These limits are designed to provide reasonable protection against harmful interference in a residential installation. This equipment generates, uses and can radiate radio frequency energy and, if not installed and used in accordance with the instructions, may cause harmful interference to radio communications. However, there is no guarantee that interference will not occur in a particular installation. If this equipment does cause harmful interference to radio or television reception, which can be determined by turning the equipment off and on, the user is encouraged to try to correct the interference by one or more of the following measures:
- Reorient or relocate the receiving antenna.
- Increase the separation between the equipment and receiver.
- Connect the equipment into an outlet on a circuit different from that to which the receiver is connected.
- Consult Customer Service or an experienced radio/TV technician for help.
Drone FCC ID: 2AKPPHELICUTE
Remote Control FCC ID: 2AKPPHLTH816
The responsible party in the United States for compliance of the equipment is:
Harbor Freight Tools, 26541 Agoura Road, Calabasas, CA 91302
1-888-866-5797 • http://www.harborfreight.com
Set Up
Read the ENTIRE IMPORTANT SAFETY INFORMATION section at the beginning of this document including all text under subheadings therein before set up or use
WARNING
TO PREVENT SERIOUS INJURY FROM ACCIDENTAL OPERATION:
Switch the Drone and Remote Control OFF before performing any procedure in this section.
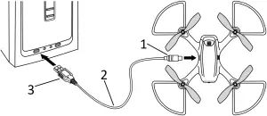
Charging Battery Pack
CAUTION! Do not leave Drone unattended while charging. Battery charging should be done by adults only.
- Make sure Drone and Remote Control are turned OFF.
- Plug the USB plug on the Charging Cable into the USB port of a computer or any other USB power source.
- Insert Charge Plug on the Charging Cable into the Charging Port on the Drone.
- While Battery is charging, LED light on Battery is on. When fully charged, LED light goes off. Charging takes approximately 90 minutes.
- When charging is complete, disconnect Charging Cable from Drone and power source.

- Charge Plug
- USB Charging Cable
- USB Plug
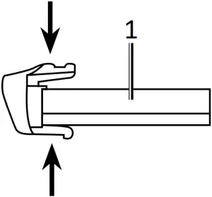
Removing Battery Pack
- Locate Battery Pack at the rear of the Drone’s body.
- Press the tabs on top and bottom of Battery Pack.
- Pull on head of Battery Pack to remove Battery from the Drone.


- Battery
Remote Control
- Remove the screw securing the Battery Cover on the back of the Remote Control.
- Remove the Battery Cover and insert four AAA batteries (sold separately) in the indicated polarity.
- Replace Battery Cover and tighten screw securely.
CAUTION! Do not install old and new batteries together. Do not install alkaline, carbon-zinc or rechargeable batteries together. Position batteries in proper polarity. Do not use swollen or leaking batteries.

- Battery Cover
- Battery Compartment
Controls
Read the ENTIRE IMPORTANT SAFETY INFORMATION section at the beginning of this document including all text under subheadings therein before set up or use.

- Start/Stop Button
- Power Indicator Light
- Camera Light
- Picture/Video Button
- Forward/Backward Trim Button
- Left/Right Trim Button
- Headless Mode Button
- One Key Return Button
- Left or Right Turn Trim Button

- Throttle Joystick
- Power Switch
- Directional Joystick
| BASIC FUNCTIONS | |||
| UP | Throttle Joystick Up | MOVE LEFT | Directional Joystick Left |
| DOWN | Throttle Joystick Down | MOVE RIGHT | Directional Joystick Right |
| FORWARD | Directional Joystick Up | START DRONE | Start/Stop Button |
| BACKWARD | Directional Joystick Down | HEADLESS MODE | Headless Mode Button |
| TURN LEFT | Throttle Joystick Left | ONE KEY RETURN | One Key Return Button |
| TURN RIGHT | Throttle Joystick Right | TRIM ADJUSTMENT | Refer to page 10 |
Operating Instructions
Read the ENTIRE IMPORTANT SAFETY INFORMATION section at the beginning of this document including all text under subheadings therein before set up or use of this product.
WARNING
TO PREVENT SERIOUS INJURY: Operator and spectators must wear ANSI-approved safety goggles during use. Keep Drone within 160 feet of Remote Control. If Drone goes out of range, it will stop working and fall.
WARNING! To prevent serious injury, avoid sudden movements of controls while flying.
CAUTION! Only fly outdoors during daylight hours in an area with no obstructions, power lines, vehicles, animals or people nearby.
Pairing
- Turn the Drone ON-the red and green LED lights will flash. Place the Drone on a flat surface.
- Turn Remote Control ON. Unit will beep once, the blue Power Indicator Light will come on, and the red Camera Light will flash.
- Push Throttle all the way up, the unit will beep once. Then push Throttle all the way down until unit beeps again.
- The red Camera Light on the Remote will go out and the blue Power Indicator Light will stay on, indicating the Drone and Remote are connected.
Auto Trim Function

- When pairing is complete, place Drone on a flat surface. Simultaneously pull the Throttle stick and the Directional stick down at a 45 degree angle as shown until the Drone’s LED lights flash.
- Release the Throttle and Directional sticks. The LED lights stop flashing and remain on when auto trim is complete.
Speed Control
Drone speed is set to slow by default. To change to medium speed, press the Throttle Joystick down once–the Remote will beep twice indicating speed is set. For high speed press the Throttle Joystick down again–the Remote will beep three times indicating speed is set. To return to slow speed press the Throttle Joystick once–the Remote will beep once indicating speed is reset to slow.
Basic Operation
1. Place Drone on a flat, level surface. Connect Drone and Remote Control as described in Pairing on page 8. Press Start/Stop button to start operation; press again to stop.

- Throttle Joystick
- Start/Stop Button
- Directional Joystick
2. To maneuver the Drone up or down, move the Throttle Joystick up or down.


3. To move the Drone forward or backward, push the Directional Joystick up to go forward or pull it down to go back.


4. To turn the Drone left or right, move the Throttle Joystick to the left or right.


5. To move the Drone left or right from side to side, push the Directional Joystick to the left or right.


Checking/Fine Tuning Trim
Using a light touch, slowly push Throttle up until Drone is barely hovering. Drone should stay in one place without excessive forward, backward, or side to side movement or rotation. If any of these conditions occur make adjustments using the following procedures.
| BACKWARD TRIM |
|
| ![]() |
| FORWARD TRIM | Backward
|
| ![]() |
| LEFT SIDE TRIM | ![]() | ![]() | ![]() |
| RIGHT SIDE TRIM | ![]() | ![]() | ![]() |
| LEFT TURN TRIM | ![]() | ![]() | ![]() |
| RIGHT TURN TRIM | ![]() | ![]() | ![]() |
Practicing
NOTICE: To avoid damage to the Drone, keep Drone between 1-3 feet off the ground while practicing. Master each step before going on to the next one.
1. Taking Off: Slowly raise the Throttle until Drone rises off the ground.
2. Hovering: Practice keeping the Drone as motionless as possible in the following 4 positions:
a. Tail facing you.
b. Left side facing you.
c. Nose facing you.
d. Right side facing you.
3. Landing: Slowly lower Throttle until Drone almost touches the ground. Ease off Throttle slightly to avoid bouncing, then lower all the way.
4. Forward/Backward: Practice moving forward and backward in the following 4 positions:
a. Tail facing you.
b. Left side facing you.
c. Nose facing you.
d. Right side facing you.
5. Left/Right: Practice moving to the left and right in the following 4 positions:
a. Tail facing you.
b. Left side facing you.
c. Nose facing you.
d. Right side facing you.
6. Box: Practice flying a box pattern, stopping and turning at each corner.

7. Circle: Practice flying in a circle in the following 4 positions:
a. Tail facing you.
b. Left side facing you.
c. Nose facing you.
d. Right side facing you.

360 Degree Flips
To enter flip mode, press down on the Directional Joystick until it clicks and then release. The Remote will beep intermittently indicating flip mode. Remote stops beeping when the flip is complete. Keep Drone at least 5 feet off the ground when performing flips.
1. For a left flip, push the Directional Joystick to the left.


2. For a right flip, push the Directional Joystick to the right.


3. For a forward flip, push the Directional Joystick up.


4. For a backward flip, pull the Directional Joystick down.


Headless Mode

- Press the Headless Mode Button on the Remote Control once to enter headless mode. The Remote will beep intermittently while in this mode.
- Press the Headless Mode Button again to quit headless mode. The Remote will beep 3 times to indicate Remote has exited headless mode.
One Key Return Function

- Press the One Key Return Button on the Remote Control while in headless mode to return Drone in direction of takeoff. The Remote will beep intermittently while in this mode.
- Operate the Directional Joystick in any direction to exit the one key return function.
Camera
1. Scan QR codes to download and install software.
IOS Android
2. Connect the Drone to power.
3. Enter setting menu on your mobile device and turn on WIFI.
4. Find the helicute FPV WIFI network and connect.
5. Open the helicute FPV software and click on the play icon.



Inspection and Maintenance
Procedures not specifically explained in this manual must be performed only by a qualified technician.
WARNING
TO PREVENT SERIOUS INJURY FROM ELECTRICAL SHOCK:
Make sure that the Drone and Remote Control are OFF before performing any procedure in this section.
- BEFORE EACH USE, inspect the general condition of the Drone. Check for:
• loose, misaligned body shell
• bent motor shafts
• cracked or broken rotors
• any other condition that may affect its safe operation. - AFTER USE, use a mild detergent on a clean cloth to remove any dirt from the Drone.
- Contains Lithium-Polymer battery. Battery must be recycled or disposed of properly. Do not open, crush, heat above 140° F or incinerate.
- Remove batteries from Remote Control, then store the Drone and accessories in a dry area away from direct sunlight and out of the reach of children.
Replacing Rotors

- For the Drone to operate properly, the Rotors must be installed in designated locations as shown. Rotors are marked A or B on the tops of the blades.
- Remove screw holding the Rotor in place using supplied screwdriver.
- Lift Rotor and screw off Shaft.
- Place new Rotor and screw on Shaft and tighten screw securely.
CAUTION! Guards near rotors must stay in place and be undamaged.
PLEASE READ THE FOLLOWING CAREFULLY
THE MANUFACTURER AND/OR DISTRIBUTOR HAS PROVIDED THE PARTS LIST IN THIS DOCUMENT AS A REFERENCE TOOL ONLY. NEITHER THE MANUFACTURER OR DISTRIBUTOR MAKES ANY REPRESENTATION OR WARRANTY OF ANY KIND TO THE BUYER THAT HE OR SHE IS QUALIFIED TO MAKE ANY REPAIRS TO THE PRODUCT, OR THAT HE OR SHE IS QUALIFIED TO REPLACE ANY PARTS OF THE PRODUCT. IN FACT, THE MANUFACTURER AND/OR DISTRIBUTOR EXPRESSLY STATES THAT ALL REPAIRS AND PARTS REPLACEMENTS SHOULD BE UNDERTAKEN BY CERTIFIED AND LICENSED TECHNICIANS, AND NOT BY THE BUYER. THE BUYER ASSUMES ALL RISK AND LIABILITY ARISING OUT OF HIS OR HER REPAIRS TO THE ORIGINAL PRODUCT OR REPLACEMENT PARTS THERETO, OR ARISING OUT OF HIS OR HER INSTALLATION OF REPLACEMENT PARTS THERETO.
Parts List
| Part | Description | Qty |
| 1 | Drone | 1 |
| 2 | Remote Control | 1 |
| 3 | USB Charging Cable | 1 |
| 4 | Spare Rotor | 4 |
| 5 | Screwdriver | 1 |
Record Serial Number Here:
Note: If product has no serial number, record month and year of purchase instead.
Note: Some parts are listed and shown for illustration purposes only, and are not available individually as replacement parts.
Limited 90 Day Warranty
Harbor Freight Tools Co. makes every effort to assure that its products meet high quality and durability standards, and warrants to the original purchaser that this product is free from defects in materials and workmanship for the period of 90 days from the date of purchase. This warranty does not apply to damage due directly or indirectly, to misuse, abuse, negligence or accidents, repairs or alterations outside our facilities, criminal activity, improper installation, normal wear and tear, or to lack of maintenance. We shall in no event be liable for death, injuries to persons or property, or for incidental, contingent, special or consequential damages arising from the use of our product. Some states do not allow the exclusion or limitation of incidental or consequential damages, so the above limitation of exclusion may not apply to you. THIS WARRANTY IS EXPRESSLY IN LIEU OF ALL OTHER WARRANTIES, EXPRESS OR IMPLIED, INCLUDING THE WARRANTIES OF MERCHANTABILITY AND FITNESS.
To take advantage of this warranty, the product or part must be returned to us with transportation charges prepaid. Proof of purchase date and an explanation of the complaint must accompany the merchandise. If our inspection verifies the defect, we will either repair or replace the product at our election or we may elect to refund the purchase price if we cannot readily and quickly provide you with a replacement. We will return repaired products at our expense, but if we determine there is no defect, or that the defect resulted from causes not within the scope of our warranty, then you must bear the cost of returning the product.
This warranty gives you specific legal rights and you may also have other rights which vary from state to state.
26541 Agoura Road • Calabasas, CA 91302 • 1-888-866-5797



































