USE AND CARE GUIDE
INTERIOR INCANDESCENT CEILING
FLUSH MOUNT
WILLOUGHBY
Model
HB1079-310″
THD SKU#
1003 317 638
HB1079-310 Interior Incandescent Ceiling Flush Mount
THANK YOU
We appreciate the trust and confidence you have placed in Home Decorators Collection through the purchase of this incandescent ceiling flush mount. We strive to continually create quality products designed to enhance your home.
Visit us online to see our full line of products available for your home improvement needs. Thank you for choosing Home Decorators Collection!
Safety Information
- Before starting the installation of this fixture or removal of a previous fixture, disconnect the power by turning off the circuit breaker or by removing the fuse at the fuse box.
- Consult a qualified electrician if you have any electrical questions or need to replace the driver.
- If you have any non-electrical questions about this fixture, please contact our Customer Service Team at 1-800-986-3460 or HOMEDEPOT.COM/HOMEDECORATORS
WARNING: Disconnect the power prior to removing or installing a light fixture.
Warranty
WHAT IS COVERED
The manufacturer warrants this lighting fixture to be free from defects in materials and workmanship for a period of five (5) years from the date of purchase. This warranty applies only to the original consumer purchaser and only to products used in normal use and service. If this product is found to be defective, the manufacturer’s only obligation, and your exclusive remedy, is the repair or replacement of the product at the manufacturer’s discretion, provided that the product has not been damaged through misuse, abuse, accident, modifications, alterations, neglect or mishandling.
WHAT IS NOT COVERED
This warranty shall not apply to any product that is found to have been improperly installed, set up, or used in any way not in accordance with the instructions supplied with the product. This warranty shall not apply to a failure of the product as a result of an accident, misuse, abuse, negligence, alteration, faulty installation, or any other failure not relating to faulty material or workmanship.
This warranty shall not apply to any portion of the product, such as surface and/or weathering, as this is considered normal wear and tear.
The manufacturer does not warrant and specially disclaims any warranty, whether expressed or implied, of fitness for a particular purpose, other than the warranty contained herein. The manufacturer specifically disclaims any liability and shall not be liable for any consequential or incidental loss or damage, including but not limited to any labor/expense costs involved in the replacement or repair of said product.
Contact the Customer Service Team at 1-800-986-3460 or visit HOMEDEPOT.COM/HOMEDECORATORS.
Pre-Installation
PLANNING THE INSTALLATION
Read all instructions before assembly and installation. Before starting the installation of the fixture or removal of a previous fixture, disconnect the power by turning off the circuit breaker or by removing the fuse at the fuse box. To avoid damaging this product, assemble it on a soft, non-abrasive surface such as carpet or cardboard.
NOTE: Keep your receipt and these instructions for Proof of Purchase.
TOOLS REQUIRED

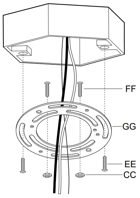
HARDWARE REQUIRED
NOTE: Hardware not shown to actual size.

| Part | Description | Quantity |
| AA | Decorative Nut | 5 |
| BB | Washer | 3 |
| CC | Hex Nut | 5 |
| DD | Wire Nut | 3 |
| EE | Mounting Screw | 2 |
| FF | Fixture Screw | 2 |
| GG | Mounting Bracket | 1 |
Pre-Installation (continued)
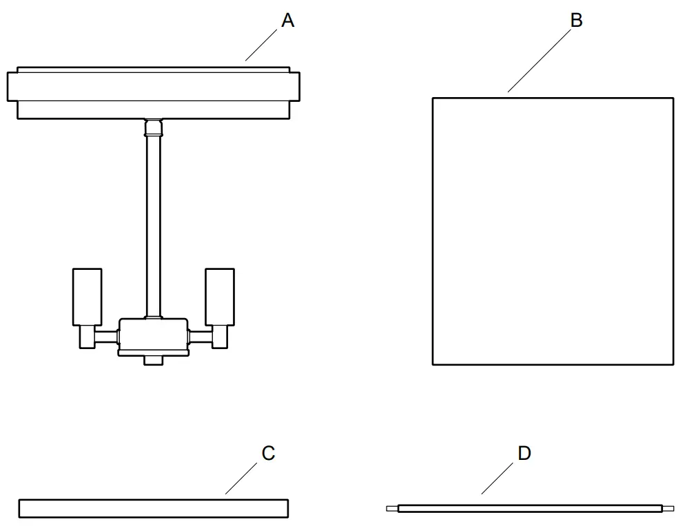
PACKAGE CONTENTS

| Part | Description | Quantity |
| A | Main Fixture | 1 |
| B | Glass Shade | 1 |
| C | Fixture Ring | 1 |
| D | Connector Rod | 3 |
Installation
Mounting the hardware
- Thread the fixture screws (FF) into the provided holes of the mounting bracket (GG).
- Thread the hex nuts (CC) onto the fixture screws (FF). Do not tighten the hex nuts (CC) at this time.
- Pull the supply wires out from the outlet box and mount the mounting bracket (GG) to the outlet box using the mounting screws (EE).
- Place the fixture pan (A) over the outlet box and onto the fixture screws (FF).
- Adjust the fixture screws (FF) until they protrude out from the fixture pan (A) 1/4 in.
- Remove the fixture pan (A) and secure the position of the fixture screws (FF) by tightening the hex nuts (CC) against the mounting bracket (GG).

Connecting the wires
- Connect the black supply wire to the black fixture wire using a wire nut (DD).
- Connect the white supply wire to the white fixture wire using a wire nut (DD).
- Connect the fixture ground wire to the supply ground wire using a wire nut (DD).
- Wrap all wire connections with electrical tape for a more secure connection.
- Carefully tuck the wires and wire nuts (DD) into the outlet box.
NOTE: If you have electrical questions consult your local electrical code for approved grounding methods.

Installation (continued)
Mounting the fixture
- Thread each connector rod (D) through the main fixture (A), through a washer (BB), and secure the connector rod (D) in place by using a hex nut (CC).
- Attach the main fixture (A) to the mounting bracket (GG) by securing the fixture screws (FF) with the decorative nuts (AA).

Assembling the fixture
NOTE: Do not exceed a 60-watt incandescent light bulb. For more information on the proper lighting to use, see homedepot.com/lightingfacts.
- Secure the glass shade (B) onto the main fixture (A) by using the fixture ring (C), connector rods (D), and decorative nuts (AA).
- Install up to a 60-watt light bulb or a listed SBCFL (Self-Ballasted Compact Fluorescent Lamp [not provided]) or an LED bulb [not provided] in the socket of the fixture ring (A). Do not exceed a 60-watt incandescent light bulb, or a 13-watt SBCFL or LED equivalent.

Operation
- Turn on power at the circuit breaker or fuse box.
- Turn the light switch on to activate the fixture.
Care and Cleaning
EXTERIOR MAINTENANCE
- Use a dry or slightly dampened clean cloth and wipe the surface of the fixture.
NOTE: Do not use any cleaners with chemicals, solvents, or harsh abrasives. Use only dry soft cloth to dust or wipe carefully.
INTERIOR MAINTENANCE
- Disconnect power to the fixture by turning off the circuit breaker or by removing the fuse at the fuse box.
- Use a dry or slightly dampened clean cloth to wipe the interior surface of the fixture.
Troubleshooting
| Problem | Solution |
| The light will not turn on. |
|
| The fuse blows or the circuit breaker trips when the light is turned on. |
|
Questions, problems, missing parts? Before returning to the store,
call Home Decorators Collection Customer Service
8 a.m. – 7 p.m., EST, Monday-Friday
9 a.m. – 6 p.m., EST, Saturday
1-800-986-3460
HOMEDEPOT.COM/HOMEDECORATORS
Retain this manual for future use.














