metos WD-C 90 Motor Powered Turn Track

General information
Read the instructions in this manual carefully, as they contain important information regarding the correct, effective and safe installation, use and servicing of motor-powered turn tracks. The product is intended to be used for washing items that are found in the general catering and restaurant trade. The capacity requirements of the machine can be found in the chapter TECHNICAL SPECIFICATIONS. Before the product is started up and used, the following points should be observed
- The SAFETY INSTRUCTIONS chapter must be studied carefully before commissioning the machine.
- Installation of the machine must be performed in accordance with the requirements and instructions indicated in the INSTALLATION and TECHNICAL SPECIFICATIONS chapters.
- Any person who may at some point use the machine must be trained in its operation, use and care.
- The dishwasher should not be used by anyone suffering from a physical or mental illness.
- A close eye should be kept on any children in the vicinity of the machine to ensure they do not tamper with it.
- All cover plates must be installed during use. Keep this manual in a safe place so that it can be used by other operators.
Symbols used
- This symbol warns of situations where a safety risk may arise. The instructions given should be followed in order to prevent injury.
- This symbol on a machine part warns of electrical equipment. The machine must be entirely non-live during service, turn off the power at he power switch and, if required, the switch should be locked to prevent unintentional operation.
- This symbol explains the correct way to perform a task in order to prevent poor results, damage to the turn track and dishwasher or hazardous situations.
- This symbol identifi es recommendations and hints to help you to get the best performance from the equipment.
- This symbol explains the importance of careful and regular cleaning of the equipment to meet hygiene requirements.
Safety instructions
- The machine is CE marked, which means that it complies with the requirements of the EU Machinery Directive with regard to product safety. Product safety means that the design of the turn track will prevent
- personal injury or damage to property.
- Modifying the equipment without the approval of the manufacturer invalidates the manufacturer’s product liability.
- To further improve safety during installation, operation and servicing, the operator and the personnel responsible for installing and servicing the equipment should read the safety instructions carefully.
- Immediately turn the dishwasher of at disturbance or faults. The regular checks mentioned in the manuals must be carried out according to the instructions. Service of the machine should be performed by trained personnel. Use original spare parts. Warranty repairs must be performed by an authorized fi rm. Contact an authorized service company to draw up a schedule of preventive maintenance and service. Before using the equipment, ensure that personnel are given the necessary operation and maintenance training.
Transport
Handle the equipment with care during unloading and transport to avoid the risk of it tipping over. Never lift or move the machine without using the wooden packaging to support the stand. Installation - The machine is intended for fi fixed electrical installations.
- The electrical cabinet must only be opened by an authorized electrician.
- Make sure that the mains voltage is the same as that indicated on the machine’s rating plate. The machine should be connected to a lockable mains switch. To further enhance safety, it is good if the installation is equipped with a residual current circuit breaker.
Operation
Risk of crushing
Avoid contact with the turn track’s conveyor belt during use. The movement of the belt can cause crushing injuries.
Cleaning
When using a high-pressure washer or hose, do not aim the jet towards the turn track’s drive motor. In order to satisfy current requirements, electrical components of approved IP classes are used in motor-powered turn tracks. No enclosure classes are designed to withstand pressurized water. Repairs and servicing Where repairs or servicing involve electrical equipment, the power must be switched off before work commences. If required, the power switch must be locked to prevent unintentional operation. Instructions if the equipment is not functioning Check the following:
- Has the equipment been used according to the instructions?
- Are all the removable parts in the correct place?
- Is the main switch in the ON position?
- Are the fuses in the electrical cabinet undamaged? Ask the service personnel to check the fuses. If this does not solve the problem, ask authorized service personnel to check the motor-powered turn track and dishwasher.
Recycling
When the equipment has reached the end of its service life, it must be recycled in accordance with current regulations. Contact professionals who specialize in recycling.
Installation
General information
The machine must be installed by authorized personnel only. Read these instructions carefully, as they contain important information regarding the correct installation method. The instructions should be used together with the dishwasher’s wiring diagram. The product is CE marked. The CE mark is only valid for machines that have not been modified. If the equipment is damaged as a result of the instructions not being followed, this invalidates the supplier’s guarantee and product liability. Requirements for the installation site The same requirements apply for the installation of the turn track as for the dishwasher to which it is connected, refer to the dishwasher’s installation and user manual.
Lighting
In order to ensure the best possible working conditions during installation, operation, servicing, and maintenance, make sure that the machine is installed in a welllit room.
Drains
There must be a floor drain with an effective trap for the machine’s wastewater and for water used for cleaning. The floor drain capacity can be found in the TECHNICAL SPECIFICATIONS.
Space for servicing
A 1-meter area should be left clear in front of the machine for servicing purposes
Transport and storage
Always transport the machine in an upright position. Take care during transport, as there is a risk of the machine tipping over. NOTE: The machine must not be transported without a pallet or other support, otherwise the machine may become damaged. When transporting the machine without a normal wooden pallet, always check that none of the components underneath the machine is damaged. A=Träpall If the turn track is not to be installed immediately, it must be stored in a frost-free area where the air is dry.
Unpacking
Check that all parts have been delivered by comparing them with the delivery slip. Remove the packaging. Inspect the turn track for any transport damage.
Preparing for the installation
Check that there is sufficient room for the dishwasher at the installation location. Check that there are correct connections for water, electricity, and a waste pipe at the installation location.
Positioning the machine
- Check the following points before the machine is placed in position:
- Remove the protective plastic on the sides which shall stand against a wall.
- Put the machine in position and check that it is horizontal using a spirit level. Use the legs to adjust the machine height.
- Adjust the height using the machine’s legs.
Connection to dishwasher
Connect the turn track and other peripheral equipment to the dishwasher in accordance with the dishwashing room’s layout drawing. Check that the machine (ICS) to which the WD-C90 / WD-C180 is connected to has the correct set-point (line 25) set for this option.
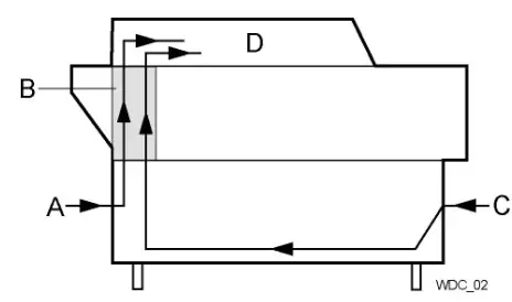
Direct connection of the turn track to the dishwasher’s outfeed opening
- A=Dishwasher
- B=Turn track
- C=Roller
- D=Screw+washer+nut
- E=Cover strip
- F=Dishwasher’s loading cradle.
- Firmly attach the turn track’s cover strip (E) to the lower edge of the dishwasher’s outfeed opening.
- Adjust the height using the turn track’s legs. The turn track must be evenly balanced. The upper edge of the turn track’s conveyor belt and rollers (C) must be level with the sliding surface of the machine’s loading cradle (F) or be a few millimeters lower.
- Secure the turn track to the machine with screws using the existing holes at (D). Sometimes holes may need to be drilled in the lower edge of the outfeed opening, for example, if a drying zone is installed after the machine.
Connections
Electrical connection
This symbol on a machine part warns of electrical equipment. The machine must be entirely non-live during service, turn off the power at the power switch and if required, the switch should be locked to prevent unintentional operation The electronics in the dishwasher to which the curve is connected to is sensitive to electrostatic discharge (ESD), which is why a static electricity wristband must be used when handling the electronics at all times. Information about electrical connections can be found on the dishwasher’s wiring diagrams. The wiring diagrams are shown on the inside of the electrical cabinet door. Store the diagrams in the electrical cabinet after installation.
Cabling from the turn track
Depending on the position of the turn track, the electricity cable is drawn through an existing plugged hole at (A) on the dishwasher’s outfeed side or at (C) on the infeed side. The electricity cable is drawn through the cable duct behind the front panel (B) and onto the electrical cabinet (D).
- Feeding the electricity cable from the turn track
- A=Plugged hole, outfeed side
- B=Front panel
- C=Plugged hole, infeed side
- D=Electrical cabinet
Cabling from limit switch and emergency stop
The cable from the limit switch on the connected roller table and the cable from the turn track’s emergency stop are drawn through an existing hole at the end of the dishwasher and on to the terminal box located in the lower part of the dishwasher behind the front panels.
- Connection of 90° turn track and roller table on the machine’s outfeed side
- A=Limit switch
- B=Roller table
- C=Turn track
- D=Dishwasher
- E=Terminal box
- F=Emergency stop
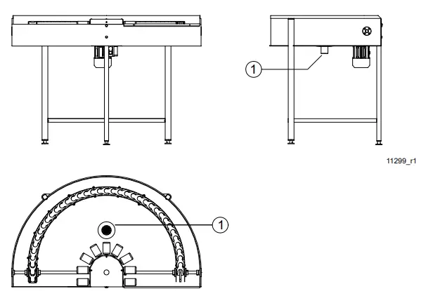
Drain connection
Connect the drain at (1). The drain pipe can be connected to the dishwasher drain or run to a fl oor drain, where it must end above the water level. The drain should be a 50 mm metal pipe if there is a risk of mechanical collision.

Trial run
Test the turn track together with the dishwasher. Prepare the machine for a trial run by following the INSTRUCTIONS FOR USE in the machine’s user manual. The instructions describe the measures that must be taken to prepare the machine for operation.
Start-up schedule
| Customer: |
| Adress for visitors: |
| Postcode + Town/City: |
| Telephone: |
| Contact: |
| Dealer: |
| Telephone: |
| Contact: |
| Installation company: |
| Telephone: |
| Contact: |
| Service company: |
| Telephone |



















