metos WD-C 180 Motor Powered Turn Track

INSTALLATION AND OPERATION MANUAL
General information
- Read the instructions in this manual carefully, as they contain important information regarding the correct, effective and safe installation, use and servicing of motor-powered turn tracks.
- The product is intended to be used for washing items that are found in the general catering and restaurant trade.
- The capacity requirements of the machine can be found in the chapter TECHNICAL SPECIFICATIONS.
- Before the product is started up and used, the following points should be observed
- The SAFETY INSTRUCTIONS chapter must be studied carefully before commissioning the machine.
- Installation of the machine must be performed in accordance with the requirements and instructions indicated in the INSTALLATION and TECHNICAL SPECIFICATIONS chapters.
- Any personnel who may at some point use the machine must be trained in its operation, use and care.
- The dishwasher should not be used by anyone suffering from a physical or mental illness.
- A close eye should be kept on any children in the vicinity of the machine to ensure they do not tamper with it.
- All cover plates must be installed during use.
- Keep this manual in a safe place so that it can be used by other operators.
- Symbols used in this manual
- This symbol warns of situations where a safety risk may arise. The instructions given should be followed in order to prevent injury.
- This symbol on a machine part warns of electrical equipment. The machine must be entirely non-live during service, turn off the power at he power switch and, if required, the switch should be locked to prevent unintentional operation.
- This symbol explains the correct way to perform a task in order to prevent poor results, damage to the turn track and dishwasher or hazardous situations.
- This symbol identifi es recommendations and hints to help you to get the best performance from the equipment.
- This symbol explains the importance of careful and regular cleaning of the equipment to meet hygiene requirements.
- Symbols on the machine
- This symbol on a machine part warns of electrical equipment.
- The machine must be entirely non-live during service, turn off the power at he power switch and, if required, the switch should be locked to prevent unintentional operation.
- Checking that the machine and the manual correspond
- Check that the type description on the rating plate corresponds with the type description on the front of the manual.
- If manuals are missing, it is possible to order new ones from the manufacturer or the local distributor.
- When ordering new manuals, it is important to quote the machine number found on the rating plates.n.
Safety instructions
- General information
- The machine is CE marked, which means that it complies with the requirements of the EU Machinery Directive with regard to product safety.
- Product safety means that the design of the turn track will prevent personal injury or damage to property.
- Modifying the equipment without the approval of the manufacturer invalidates the manufacturer’s product
liability. - To further improve safety during installation, operation and servicing, the operator and the personnel responsible for installing and servicing the equipment should read the safety instructions carefully.
- Immediately turn the dishwasher of at disturbance or faults.
- The regular checks mentioned in the manuals must be carried out according to the instructions
- . Service of the machine should be performed by trained personnel.
- Use original spare parts. Warranty repairs must be performed by an authorized firm.
- Contact an authorized service company to draw up a schedule of preventive maintenance and service.
- Before using the equipment, ensure that personnel are given the necessary operation and maintenance training.
- Transport
- Handle the equipment with care during unloading and transport to avoid the risk of it tipping over.
- Never lift or move the machine without using the wooden packaging to support the stand.
- Installation
- The machine is intended for fixed electrical installations.
- The electrical cabinet must only be opened by an authorised electrician.
- Make sure that the mains voltage is the same as that indicated on the machine’s rating plate.
- The machine should be connected to a lockable mains switch.
- To further enhance safety, it is good if the installation is equipped with residual current circuit breaker
- Operation
- Risk of crushing
- Avoid contact with the turn track’s conveyor belt during use.
- The movement of the belt can cause crushing injuries.
- Cleaning
- When using a high-pressure washer or hose, do not aim the jet towards the turn track’s drive motor.
- In order to satisfy current requirements, electrical components of approved IP classes are used in motorpowered turn tracks.
- No enclosure classes are designed to withstand pressurised water.
- Repairs and servicing
- Where repairs or servicing involve electrical equipment, the power must be switched off before work commences.
- If required, the power switch must be locked to prevent unintentional operation.
- Risk of crushing
- Instructions if the equipment is not functioning
Check the following:- Has the equipment been used according to the instructions?
- Are all the removable parts in the correct place?
- Is the main switch in the ON position?
- Are the fuses in the electrical cabinet undamaged? Ask the service personnel to check the fuses.
- If this does not solve the problem, ask authorised service personnel to check the motor-powered turn track and dishwasher.
- Recycling
When the equipment has reached the end of its service life, it must be recycled in accordance with current regulations. Contact professionals who specialise in recycling
Installation
- General informatio
- The machine must be installed by authorised personnel only.
- Read these instructions carefully, as they contain important information regarding the correct installation method.
- The instructions should be used together with the dishwasher’s wiring diagram.
- The product is CE marked. The CE mark is only valid for machines that have not been modified.
- If the equipment is damaged as a result of the instructions not being followed, this invalidates the supplier’s guarantee and product liability.
- Requirements for the installation site
- The same requirements apply for installation of the turn track as for the dishwasher to which it is connected,
refer to the dishwasher’s installation and user manual.
- The same requirements apply for installation of the turn track as for the dishwasher to which it is connected,
- Lighting
- In order to ensure the best possible working conditions during installation, operation, servicing and maintenance,
make sure that the machine is installed in a well lit room.
- In order to ensure the best possible working conditions during installation, operation, servicing and maintenance,
- Drains
- There must be a floor drain with an effective trap for the machine’s waste water and for water used for
cleaning. The floor drain capacity can be found in the TECHNICAL SPECIFICATIONS.
- There must be a floor drain with an effective trap for the machine’s waste water and for water used for
- Space for servicing
- A 1-metre area should be left clear in front of the machine for servicing purposes
- Transport and storage
- Always transport the machine in an upright position.
- Take care during transport, as there is a risk of the machine tipping over.
NOTE: The machine must not be transported without a pallet or other support, otherwise the machine may become damaged. When transporting the machine without a normal wooden pallet, always check that none of the components underneath the machine is damaged
- If the turn track is not to be installed immediately, it must be stored in a frost-free area where the air is dry.
- Unpacking
- Check that all parts have been delivered by comparing them with the delivery slip.
- Remove the packaging. Inspect the turn track for any transport damage.
Installation
- Preparing for the installation
- Check that there is sufficient room for the dishwasher at the installation location.
- Check that there are correct connections for water, electricity and a waste pipe at the installation location.
- Positioning the machine
Check the following points before the machine is placed in position:- Remove the protective plastic on the sides which shall stand against a wall.
- Put the machine in position and check that it is horizontal using a spirit level.
- Use the legs to adjust machine height.
- Adjust the height using the machine’s legs.
- Connection to dishwasher
- Connect the turn track and other peripheral equipment to the dishwasher in accordance with the dishwashing room’s layout drawing.
- Check that the machine (ICS) which the WD-C90 / WD-C180 is connected to has correct set-point (line 25) set for this option

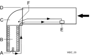
Direct connection of the turn track to the dishwasher’s out feed opening - A=Dishwasher
- B=Turn track
- C=Roller
- D=Screw+washer+nut
- E=Cover strip
- F=Dishwasher’s loading cradle.
- Firmly attach the turn track’s cover strip (E) to the lower edge of the dishwasher’s out feed opening.
- Adjust the height using the turn track’s legs. The turn track must be evenly balanced. The upper edge of the turn track’s conveyor belt and rollers (C) must be level with the sliding surface of the machine’s loading cradle (F) or be a few millimetres lower.
- Secure the turn track to the machine with screws using the existing holes at (D). Sometimes holes may need to be drilled in the lower edge of the out feed opening, for example, if a drying zone is installed after the machine.
Connections
- Electrical connection
- This symbol on a machine part warns of electrical equipment. The machine must be entirely non-live during service, turn off the power at the power switch and if required, the switch should be locked to prevent unintentional operation
- The electronics in the dishwasher to which the curve is connected to is sensitive to electrostatic discharge (ESD), which is why a static electricity wristband must be used when handling the electronics at all times.
- Information about electrical connections can be found on the dishwasher’s wiring diagrams. The wiring diagrams are shown on the inside of the electrical cabinet door. Store the diagrams in the electrical cabinet after installation.
- Cabling from the turn track
- Depending on the position of the turn track, the electricity cable is drawn through an existing plugged hole at (A) on the dishwasher’s out feed side or at (C) on the in feed side.
- The electricity cable is drawn through the cable duct behind the front panel (B) and on to the electrical cabinet (D)

Feeding the electricity cable from the turn track - A=Plugged hole, out feed side
- B=Front panel
- C=Plugged hole, in feed side
- D=Electrical cabinet
- Cabling from limit switch and emergency stop
- The cable from the limit switch on the connected roller table and the cable from the turn track’s emergency stop are drawn through an existing hole at the end of the dishwasher and on to the terminal box located in the lower part of the dishwasher behind the front panels.
Connection of 90° turn track and roller table on the machine’s out feed side
A=Limit switch
B=Roller table
C=Turn track
D=Dishwasher
E=Terminal box
F=Emergency stop
- The cable from the limit switch on the connected roller table and the cable from the turn track’s emergency stop are drawn through an existing hole at the end of the dishwasher and on to the terminal box located in the lower part of the dishwasher behind the front panels.
- Drain connection
- Connect the drain at (1). The drain pipe can be connected to the dishwasher drain or run to a fl oor drain, where it must end above the water level.
- The drain should be a 50 mm metal pipe if there is a risk of mechanical collision. 11298

Motor-powered turn track 90°
1=Drain connection 50 mm
Motor-powered turn track 180°
1=Drain connection 50 mm
- Trial run
- Test the turn track together with the dishwasher.
- Prepare the machine for a trial run by following the INSTRUCTIONS FOR USE in the machine’s user manual.
- The instructions describe the measures that must be taken to prepare the machine for operation.
Start-up schedule
The following information should be completed and signed by the customer on start-up:
- Machine type:
- Machine serial number:
- Installation date:
| Customer: |
| Adress for visitors: |
| Postcode + Town/City: |
| Telephone: |
| Contact: |
| Dealer: |
| Telephone: |
| Contact: |
| Installation company: |
| Telephone: |
| Contact: |
| Service company: |
| Telephone |
| End user’s signature: |
| Name in block capitals: |
- Start the dishwasher and load baskets containing items. Carry out the following checks:
- Check the direction of rotation of the turn track’s conveyor belt.
- If the feed is moving in the wrong direction, stop the machine immediately and switch over two of the phases for the turn track’s drive motor.
- Transport of baskets along the turn track.
- The conveyor belt carrier must be positioned so that only one carrier catches hold of the basket.
- Conveyor belt tensioning.
- Limit switch function.
- When a basket activates the limit switch on a connected roller table, the turn track’s conveyor belt and dishwasher should stop. When the basket is removed, the equipment should restart automatically.
- Emergency stop function.
- Drainage system integrity.
- Train and inform the dish-washing staff about:
- Maintenance (daily, weekly and other periodicity).
- Recommendations regarding yearly service.
- Teknisk dokumentation
- For correct use and servicing, it is essential that the documentation accompanying the equipment be made available to personnel who will be using it.
- The installation and user manual, which describes handling and care, among other things, should be stored near the equipment.
Instructions for use
Preparations
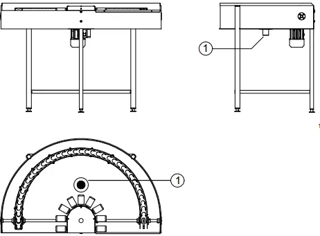
The machine’s design
90° and 180° turn track
1=Conveyor belt
2=Drain filter
3=Emergency stop
Before the product is taken into service, make sure that it is clean. If not, clean it. Make sure that the drain fi lter (2) is in position.
Using the machine
- The motor-powered turn track is controlled from the dishwasher and is in operation when the dishwasher is feeding baskets through the machine.
- When a basket of clean items leaves the machine, it is transported by the turn track to the connected roller table.
- Once the roller table is full of baskets, the fi rst basket will activate the roller table’s limit switch. The dishwasher and the turn track’s conveyor belt (1) stop.
- Remove the baskets from the roller table. The dishwasher and turn track start automatically.
- A motor-powered turn track can also be connected to the dishwasher’s infeed opening and used for transporting baskets of dirty items into the machine.
- The machine may not be used for storage of garbage or other objects

Example of installation Dishwasher with 90° turn track and roller table
A=Dishwasher
B=Turn track
C=Roller table
D=Basket
E=Limit switch
The limit switch is activated by a basket and the equipment stops
Emergency stop
- If the conveyor is stopped using the emergency stop (3), the dishwasher also stops.
- If an emergency stop button is pressed during operation, the reason for the emergency stop must be rectified.
- Reset the emergency stop by turning it in the direction of the arrows.
- Restart the machine and conveyor using the feed button on the dishwasher’s control panel
After use – cleaning
- HACCP is a preventive inspection system which ensures that hygiene requirements are met during the washing process and cleaning of the equipment.
- As a result of its design, the turn track meets strict hygiene requirements.
- Regular, thorough cleaning is also important from a hygiene perspective.
- Equipment that is properly cleaned reduces the risk of dirt accumulating, increases the service life of the equipment and reduces the risk of urgent interruptions to operation.
- Before cleaning begins, the dishwasher must be switched off.
- Remove the drain filter (2) and clean it.
- Clean the inside of the turn track.
- Refit the filter.
- Wipe the outside of the turn track with a soft, damp cloth.
- Incorrect cleaning methods
NOTE: An incorrect cleaning method may damage the equipment. The following points must be observed:- Do NOT use steel wool as it will corrode the machine.
- If detergent is used, it must not contain abrasives. Detergents containing abrasives will damage the stainless steel panels.
- Pressure washers can damage the machine and must NOT be used for cleaning. Never use a pressure washer to clean the fl oor within 1 metre of the machine. The supplier cannot be held liable for any faults caused by the use of pressure washers on the machine and any such use may invalidate the warranty. There is a risk of splashing even if the floor is hosed down.

- Operating problems
When you contact service personnel, you will need to provide the following information:- The equipment’s type description
- Machine serial number and installation date
- A brief description of the problem
- What happened to cause the problem
- Technical specifications
- We reserve the right to change technical data.
General data Weight excl. packaging, (kg)
WD-C90 37
WD-C180 54
Weight of packaging, (kg) 10 14 Basket size (mm) 500×500 500×500 Degree of protection (IP) 55 55 Electrical connection WD-C90 WD-C180 Driving motor, (kW) 0,12 0,12 Total connected power, (kW) 0,12 0,12 Connections WD-C90 WD-C180 Drain connection (mm) 50 50
- We reserve the right to change technical data.





Connection of 90° turn track and roller table on the machine’s out feed side
Motor-powered turn track 180°



















